TOP
|
特許
|
意匠
|
商標
特許ウォッチ
Twitter
他の特許を見る
10個以上の画像は省略されています。
公開番号
2025171839
公報種別
公開特許公報(A)
公開日
2025-11-20
出願番号
2024077555
出願日
2024-05-10
発明の名称
車両用シート
出願人
株式会社SUBARU
代理人
個人
主分類
B60N
2/16 20060101AFI20251113BHJP(車両一般)
要約
【課題】乗員が安全に休息をとる体勢になることができる。
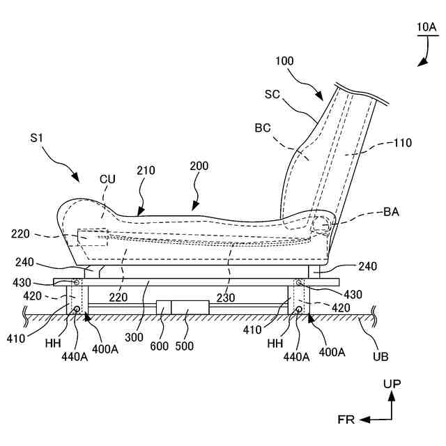
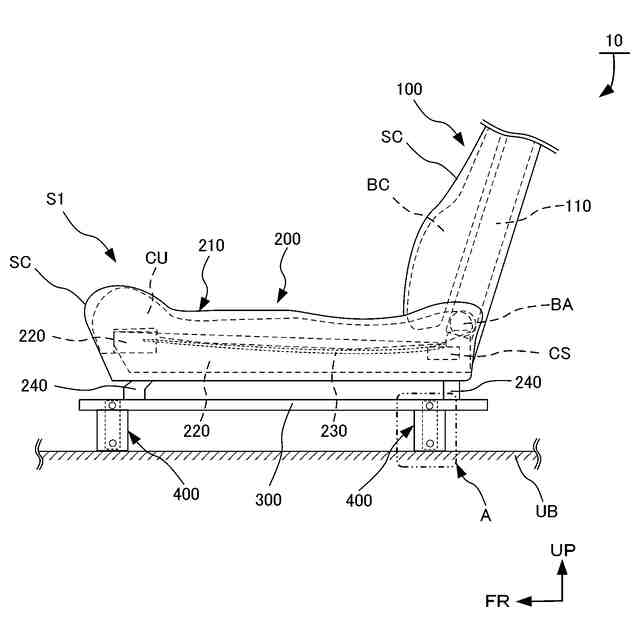
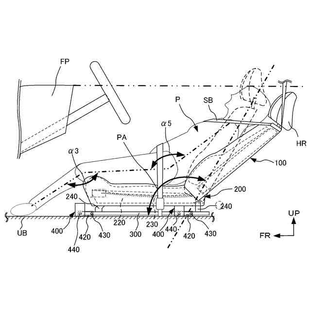
【解決手段】着座した乗員Pの骨盤部から大腿部を支えるシートクッション部200と、乗員Pの背部を支えるシートバック部100と、が設けられた着座シートS1と、着座シートS1の車両下側に設けられ、着座シートS1を車両前後方向に移動させるスライドレール部300と、スライドレール部300の車両前側および車両後側に設けられ、スライドレール部300とフロアパネル部UBとを連結させ、スライドレール部300を介して着座シートS1を上昇あるいは下降させる高さ調整部400と、を備えている。
【選択図】図2
特許請求の範囲
【請求項1】
着座した乗員の骨盤部から大腿部を支えるシートクッション部と、前記乗員の背部を支えるシートバック部と、が設けられた着座シートと、
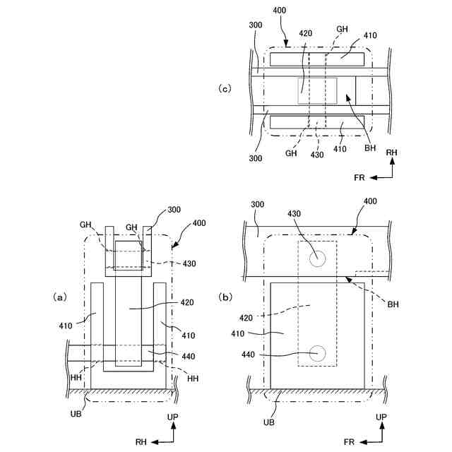
前記着座シートの車両下側に設けられ、前記着座シートを車両前後方向に移動させるスライドレール部と、
前記スライドレール部の車両前側および車両後側に設けられ、前記スライドレール部とフロアパネル部とを連結させ、前記スライドレール部を介して前記着座シートを上昇あるいは下降させる高さ調整部と、
を備えていることを特徴とする車両用シート。
続きを表示(約 610 文字)
【請求項2】
前記高さ調整部を駆動して前記着座シートを上昇あるいは下降させる駆動部と、
前記駆動部を制御する判断部と、
をさらに備え、
前記判断部は、車両の走行状態および前記着座シートの状態に関する情報を取得し、取得した情報に基づいて前記駆動部を介して前記高さ調整部を変位させる制御を行うことを特徴とする請求項1に記載の車両用シート。
【請求項3】
前記スライドレール部には、スライド軸部が前記スライドレール部を車幅方向に貫通して設けられ、
前記高さ調整部には、車両上部前側から車両下部後側に向かう傾斜を有し前記スライド軸部を摺動させるスライド溝部が設けられていることを特徴とする請求項1あるいは請求項2に記載の車両用シート。
【請求項4】
前記フロアパネル部と前側平板とが車幅方向に軸を有する第1のヒンジ部によって回動可能に結合され、前記前側平板と上側平板とが車幅方向に軸を有する第2のヒンジ部によって回動可能に結合され、前記上側平板と後側平板とが車幅方向に軸を有する第3のヒンジ部によって回動可能に結合され、前記後側平板と前記フロアパネル部とが車幅方向に軸を有する第4のヒンジ部によって回動可能に結合され、前記上側平板に前記スライドレール部が固定されている高さ調整部を備えていることを特徴とする請求項1あるいは請求項2に記載の車両用シート。
発明の詳細な説明
【技術分野】
【0001】
本発明は、車両用シートに関する。
続きを表示(約 1,400 文字)
【背景技術】
【0002】
近年、自動車等の車両においては、運転者の運転操作の負担を軽減するとともに、安全性の向上を実現することを目的として、運転者の運転操作を必要とせずに車両を自動走行させる自動運転制御技術の開発が進められている。
【0003】
この種の自動運転制御技術が搭載された車両においては、助手席側に限らず運転席側においても、運転者が着座シートを車両後側にスライドさせ、シートバック部を車両後側に後傾させる安楽姿勢を取ることを想定する必要がある。
【0004】
上記に示す安楽姿勢が可能なシートとして、車両用シートにおいて、着座位置の高さを調整可能にするリフター機構が配備されているものがある。このようなリフター機構として設けられているフレーム部材は、起倒回動可能にする必用があるため、各フレーム部材の支持強度が低下してしまう場合がある。
【0005】
上記に示す課題を解決する手段として、各フレーム部材の支持強度を確保しつつロッドによる連結を行うために、シートクッションを支持する骨格部材として互いに幅方向に離間して配置されたリンク部材同士をロッドによって連結させる技術が開示されている。
具体的には、例えば、各リンク部材は、互いの離間寸法を変化させる段差形状に形成されており、その段差形状によって、ロッドの端部面に面当接する端部当接面と、ロッドの外周面に面当接する外周当接面とが形成されている。これらリンク部材は、その端部当接面及び外周当接面をロッドRの端部面及び外周面にそれぞれ面当接させた状態としてロッドに結合されて連結させている(例えば、特許文献1参照)。
【先行技術文献】
【特許文献】
【0006】
特許第4978282号公報
【発明の概要】
【発明が解決しようとする課題】
【0007】
特許文献1に示す技術は、リフター機構におけるシートクッション部を昇降移動可能にリンク連結するリンク部材において、各フレーム部材の支持強度を確保しつつロッドによる連結を行えるようにする技術である。
【0008】
しかしながら、特許文献1に示す技術においては、自動運転等の車両の走行状態およびバックシートを後傾させた安楽姿勢等の着座シートの状態における乗員の安全に関する考慮が十分ではない虞があるという課題があった。
【0009】
そこで、本発明は上述の課題に鑑みてなされたものであり、乗員が安全に休息をとる体勢になれる車両用シートを提供することを目的とする。
【課題を解決するための手段】
【0010】
本発明の1またはそれ以上の実施形態は、着座した乗員の骨盤部から大腿部を支えるシートクッション部と、前記乗員の背部を支えるシートバック部と、が設けられた着座シートと、前記着座シートの車両下側に設けられ、前記着座シートを車両前後方向に移動させるスライドレール部と、前記スライドレール部の車両前側および車両後側に設けられ、前記スライドレール部とフロアパネル部とを連結させ、前記スライドレール部を介して前記座席を上昇あるいは下降させる高さ調整部と、を備えている車両用シートを提案している。
【発明の効果】
(【0011】以降は省略されています)
この特許をJ-PlatPat(特許庁公式サイト)で参照する
関連特許
株式会社SUBARU
車両
1か月前
株式会社SUBARU
車両
27日前
株式会社SUBARU
車両用シート
6日前
株式会社SUBARU
車両前部構造
21日前
株式会社SUBARU
車体前部構造
1か月前
株式会社SUBARU
車体前部構造
1か月前
株式会社SUBARU
車体前部構造
1か月前
株式会社SUBARU
整流システム
1か月前
株式会社SUBARU
運転支援装置
27日前
株式会社SUBARU
車両用シート
6日前
株式会社SUBARU
車両前部構造
21日前
株式会社SUBARU
車両前部構造
21日前
株式会社SUBARU
車両前部構造
21日前
株式会社SUBARU
車体前部構造
20日前
株式会社SUBARU
車体前部構造
20日前
株式会社SUBARU
車両用シート
6日前
株式会社SUBARU
操作システム
19日前
株式会社SUBARU
シフト制御装置
6日前
株式会社SUBARU
電動式全輪駆動車
1か月前
株式会社SUBARU
車両用電池パック
6日前
株式会社SUBARU
エンジン制御装置
19日前
株式会社SUBARU
車両用周辺監視装置
1か月前
株式会社SUBARU
車両の降車補助装置
1か月前
株式会社SUBARU
ドアロック制御装置
20日前
株式会社SUBARU
電波吸収体の製造方法
12日前
株式会社SUBARU
車両の車高自動調整装置
1か月前
株式会社SUBARU
車体構造部材の結合構造
1か月前
株式会社SUBARU
運転支援装置および車両
1か月前
株式会社SUBARU
運転補助装置および車両
27日前
株式会社SUBARU
カーテンエアバッグ装置
22日前
株式会社SUBARU
車両用高圧燃料配管構造
6日前
株式会社SUBARU
インフレータブル構造体
6日前
株式会社SUBARU
乗物用遮音構造体、及び車両
1か月前
株式会社SUBARU
フロントピラートリムの取付構造
12日前
株式会社SUBARU
車両および車両用忘れ物防止システム
27日前
しげる工業株式会社
車両用レジスタ装置
1か月前
続きを見る
他の特許を見る