TOP
|
特許
|
意匠
|
商標
特許ウォッチ
Twitter
他の特許を見る
公開番号
2025169828
公報種別
公開特許公報(A)
公開日
2025-11-14
出願番号
2024075001
出願日
2024-05-02
発明の名称
電波吸収体の製造方法
出願人
株式会社SUBARU
代理人
個人
主分類
H05K
9/00 20060101AFI20251107BHJP(他に分類されない電気技術)
要約
【課題】航空機のエアインテークダクトの内面のように電波吸収塗料を塗布することが困難である場合であっても、構造体に電波吸収性能を付与できるようにすることである。
【解決手段】実施形態に係る電波吸収体の製造方法は、成形型の上において電波透過性を有する繊維強化プラスチックを成形するステップと、前記成形型の上に載置された状態の、成形後における前記繊維強化プラスチックに電波吸収塗料を塗布するステップと、前記繊維強化プラスチックに塗布された前記電波吸収塗料の上に導電性材料を配置して接着するステップとを有するものである。
【選択図】 図1
特許請求の範囲
【請求項1】
成形型の上において電波透過性を有する繊維強化プラスチックを成形するステップと、
前記成形型の上に載置された状態の、成形後における前記繊維強化プラスチックに電波吸収塗料を塗布するステップと、
前記繊維強化プラスチックに塗布された前記電波吸収塗料の上に導電性材料を配置して接着するステップと、
を有する電波吸収体の製造方法。
続きを表示(約 480 文字)
【請求項2】
前記成形型として、前記電波吸収体の製作後に取外し可能な中子を用いることによって、管状の電波吸収体を製作する請求項1記載の電波吸収体の製造方法。
【請求項3】
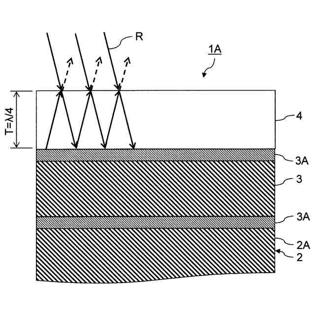
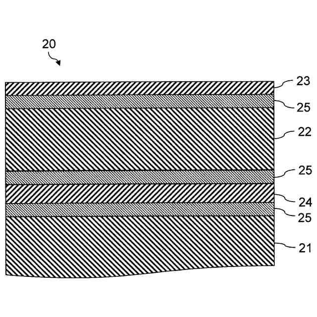
前記繊維強化プラスチックの厚さを、前記繊維強化プラスチックの表面に入射した後、前記繊維強化プラスチックの裏面で反射した電波の一部と、前記繊維強化プラスチックに入射せずに前記繊維強化プラスチックの表面で反射した前記電波の別の一部が互いに打ち消し合うように前記電波の波長に応じた厚さとする請求項1又は2記載の電波吸収体の製造方法。
【請求項4】
導電性材料と、
電波吸収塗料からなる層と、
電波透過性を有する繊維強化プラスチックと、
を有する電波吸収体であって、
前記導電性材料と前記繊維強化プラスチックとの間に前記電波吸収塗料の層が配置されている電波吸収体。
【請求項5】
請求項4記載の電波吸収体を設けた航空機。
【請求項6】
請求項4記載の電波吸収体で形成した航空機のエアインテークダクト。
発明の詳細な説明
【技術分野】
【0001】
本発明の実施形態は、電波吸収体、電波吸収体の製造方法、航空機及び航空機のエアインテークダクトに関する。
続きを表示(約 1,800 文字)
【背景技術】
【0002】
航空機のレーダーに対するステルス性を高めるためには、レーダー反射断面積(RCS:Radar cross-section)を抑制することが必要である。このため、ステルス航空機においてはRCSを低減するために様々な対策が実施されている。代表的な対策としては、電波吸収体の使用が挙げられる(例えば特許文献1、特許文献2及び特許文献3参照)。尚、電波吸収体は、航空機以外の技術分野でも使用され、電波吸収材とも呼ばれる場合もある(例えば特許文献4及び特許文献5参照)。
【0003】
電波吸収体は、航空機のエアインテークダクトや機体の外表面等に適用され、レーダーからの電波の反射を低減する役割を担う(例えば非特許文献1参照)。一般的な電波吸収体としては、電波を吸収する性質を有する磁性材料等の添加物を樹脂に添加した電波吸収塗料や電波吸収シートが知られている(例えば非特許文献2参照)。特に、航空機のエアインテークダクトは、湾曲した管状の内面に電波吸収塗料を塗布することによってRCSを低減する設計がなされるため、電波吸収体は重要な役割を担う。
【0004】
電波吸収塗料の膜厚は、一般的な航空機用の塗料の膜厚と比較して厚く、レーダーからの電波の波長に合わせて設計される。このため、電波吸収塗料を適用する際には膜厚をコントロールする必要がある。電波吸収塗料の膜厚をコントロールする方法としては、スプレーガンを用いて薄膜を重ねる手法や、膜厚が厚くなるように刷毛で塗布した後、機械加工で所望の膜厚となるように削る手法が知られている。
【先行技術文献】
【特許文献】
【0005】
特開平01-260298号公報
特開2000-031684号公報
特開2000-031685号公報
特開2007-258623号公報
特開2008-166834号公報
【非特許文献】
【0006】
RF-IR Stealth (Techniques/Benefits) 、[令和5年6月6日検索]、インターネット<URL: https://basicsaboutaerodynamicsandavionics.wordpress.com/2016/03/04/stealth-techniques-and-benefits/>
Hsiu-Che Wang, et al “Measurement of Multi-Layer Coatings of FEF Sensor with an Overview of SEAL Laboratory Activities”、[令和5年6月5日検索]、インターネット<URL: https://depts.washington.edu/cpac/Activities/Meetings/Fall/2010/documents/MamishevF10_v1.pdf>
【発明の概要】
【発明が解決しようとする課題】
【0007】
しかしながら、無人機をはじめとする小型の航空機のインテークダクトはサイズが小さく、スプレーガンを用いて電波吸収塗料を塗布したり、機械加工を行ったりするための作業スペースが無い。このため、インテークダクトの内面に電波吸収塗料を塗布することが困難となる。
【0008】
加えて、電波吸収塗料には金属等の粉末が添加されており、かつ電波吸収塗料の膜厚も厚いことから、電波吸収塗料は通常の塗料と比べて脆く耐久性が低いという問題がある。航空機に塗布された電波吸収塗料は保護層で保護されるが、それでも航空機の運用環境では電波吸収塗料に割れが発生してしまうことが知られている。
【0009】
そこで、本発明は、航空機のエアインテークダクトの内面のように電波吸収塗料を塗布することが困難である場合であっても、構造体に電波吸収性能を付与できるようにすることを目的とする。
【0010】
また、本発明の他の目的は、構造体に塗布された電波吸収塗料の耐久性を向上することである。
【課題を解決するための手段】
(【0011】以降は省略されています)
この特許をJ-PlatPat(特許庁公式サイト)で参照する
関連特許
株式会社SUBARU
車両
17日前
株式会社SUBARU
車両
1か月前
株式会社SUBARU
運転支援装置
17日前
株式会社SUBARU
車体前部構造
24日前
株式会社SUBARU
整流システム
20日前
株式会社SUBARU
車体前部構造
24日前
株式会社SUBARU
車両前部構造
11日前
株式会社SUBARU
車両前部構造
11日前
株式会社SUBARU
車両前部構造
11日前
株式会社SUBARU
車両前部構造
11日前
株式会社SUBARU
車体前部構造
10日前
株式会社SUBARU
車体前部構造
10日前
株式会社SUBARU
操作システム
9日前
株式会社SUBARU
車体前部構造
24日前
株式会社SUBARU
電動式全輪駆動車
1か月前
株式会社SUBARU
エンジン制御装置
9日前
株式会社SUBARU
ドアロック制御装置
10日前
株式会社SUBARU
車両の降車補助装置
1か月前
株式会社SUBARU
車両用周辺監視装置
24日前
株式会社SUBARU
電波吸収体の製造方法
2日前
株式会社SUBARU
車両の車高自動調整装置
26日前
株式会社SUBARU
運転補助装置および車両
17日前
株式会社SUBARU
運転支援装置および車両
1か月前
株式会社SUBARU
カーテンエアバッグ装置
12日前
株式会社SUBARU
車体構造部材の結合構造
1か月前
株式会社SUBARU
乗物用遮音構造体、及び車両
1か月前
株式会社SUBARU
フロントピラートリムの取付構造
2日前
株式会社SUBARU
車両および車両用忘れ物防止システム
17日前
テイ・エス テック株式会社
乗物用シート
9日前
個人
電子部品の実装方法
1か月前
株式会社コロナ
電気機器
4か月前
個人
電気式バーナー
1か月前
日本精機株式会社
回路基板
2か月前
個人
非衝突型ガウス加速器
3か月前
愛知電機株式会社
装柱金具
1か月前
日星電気株式会社
面状ヒータ
2日前
続きを見る
他の特許を見る