TOP
|
特許
|
意匠
|
商標
特許ウォッチ
Twitter
他の特許を見る
公開番号
2025177436
公報種別
公開特許公報(A)
公開日
2025-12-05
出願番号
2024084276
出願日
2024-05-23
発明の名称
ケース、コンデンサ
出願人
株式会社指月電機製作所
代理人
個人
,
個人
主分類
H05K
7/20 20060101AFI20251128BHJP(他に分類されない電気技術)
要約
【課題】放熱部材の位置決めが簡単なケースを提供する。
【解決手段】コンデンサモジュール10と放熱部材20とを収容するためのケース30であって、コンデンサモジュール10と放熱部材20とを収容した際にコンデンサモジュール10と放熱部材20との間に介在する、放熱部材20を差し込み収容可能な仕切り32を備えている。仕切り32は、間隔を開けた状態で対向する2枚の板状部32aと、2枚の板状部32aの間に形成された、放熱部材20の基板部20aを上から差し込み収容することができる差し込み部32bを備える。
【選択図】図1
特許請求の範囲
【請求項1】
電気部品と放熱部材とを収容するためのケースであって、
放熱部材を差し込み収容可能な差し込み部を備えている、ケース。
続きを表示(約 110 文字)
【請求項2】
請求項1記載のケースに、電気部品として、コンデンサ素子と、コンデンサ素子に接続された電極板とを有するコンデンサモジュールを収容するとともに、差し込み部に放熱部材を差し込み収容した、コンデンサ。
発明の詳細な説明
【技術分野】
【0001】
この発明は、電子部品と放熱部材とを収容するためのケースと、そのケースを用いたコンデンサに関する。
続きを表示(約 1,100 文字)
【背景技術】
【0002】
特許文献1には、コンデンサケースに収容された2つのコンデンサ素子の間に冷却板を設け、コンデンサの冷却を図ることが記載されている。また、特許文献2には、複数の略円柱状のコンデンサ素子を並べた際に生じる隙間にボルトを挿入することで、ボルトを介してケース内の熱を排出することが記載されている。
【先行技術文献】
【特許文献】
【0003】
特開2022-178839号公報
特開2014-078549号公報
【発明の概要】
【発明が解決しようとする課題】
【0004】
冷却板やボルトのような放熱部材は、発熱源に近いほど放熱効果が得られる。そのため、ケース内での位置決めが重要になる。
【0005】
本発明は、放熱部材の位置決めが簡単なケースの提供を目的とする。
【課題を解決するための手段】
【0006】
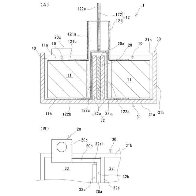
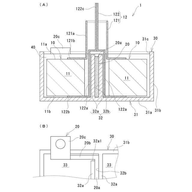
本発明のケースは、電気部品(コンデンサモジュール10)と放熱部材20とを収容するためのケース30であって、放熱部材20を差し込み収容可能な差し込み部32bを備えていることを特徴としている。
【0007】
また、本発明のコンデンサは、上記ケース30に、電気部品として、コンデンサ素子11と、コンデンサ素子11に接続された電極板12とを有するコンデンサモジュール10を収容するとともに、差し込み部32bに放熱部材20を差し込み収容したことを特徴としている。
【発明の効果】
【0008】
上記本発明によれば、差し込み部に放熱部材を差し込み収容するだけで、放熱部材のケース内での位置決めが可能になる。
【図面の簡単な説明】
【0009】
図1Aはコンデンサの断面図であり、図1Bはケースに放熱部材を差し込み収容したときの要部平面図である。
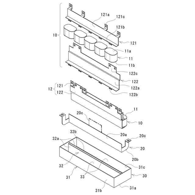
コンデンサの分解斜視図である。
樹脂を省略したコンデンサの斜視図である。
仕切りの変形例を示す概略平面図である。
【発明を実施するための形態】
【0010】
以下、本発明の一実施形態に係るコンデンサ1について説明する。図1A及び図2に示すように、コンデンサ1は、コンデンサモジュール(電気部品)10と、コンデンサ1内の熱を外部に排出するための放熱部材20と、コンデンサモジュール10と放熱部材20とを収容するためのケース30とを備えている。以下、上記各部品について説明するが、「上下」の概念はケース30内に樹脂40を充填する際のものであり、必ずしも使用時の「上下」を規定するものではない。
(【0011】以降は省略されています)
この特許をJ-PlatPat(特許庁公式サイト)で参照する
関連特許
株式会社指月電機製作所
ケース、コンデンサ
3日前
個人
電子部品の実装方法
2か月前
個人
電気式バーナー
1か月前
日本精機株式会社
回路基板
3か月前
愛知電機株式会社
装柱金具
2か月前
日星電気株式会社
面状ヒータ
24日前
アイホン株式会社
電気機器
2か月前
イビデン株式会社
配線基板
2か月前
日本放送協会
基板固定装置
2か月前
キヤノン株式会社
電子機器
2か月前
メクテック株式会社
配線基板
3か月前
個人
静電気中和除去装置
1か月前
東レ株式会社
霧化状活性液体供給装置
3か月前
イビデン株式会社
プリント配線板
2か月前
株式会社デンソー
電子装置
2か月前
株式会社レクザム
剥離装置
2か月前
サクサ株式会社
筐体の壁掛け構造
3か月前
サクサ株式会社
開き角度規制構造
1か月前
FDK株式会社
基板
2か月前
シャープ株式会社
加熱機器
1か月前
株式会社デンソー
電子装置
10日前
株式会社デンソー
電子装置
1か月前
イビデン株式会社
配線基板
3か月前
富士フイルム株式会社
積層体
2か月前
株式会社レゾナック
冷却装置
2か月前
オムロン株式会社
端子折り曲げ治具
2か月前
日産自動車株式会社
電子機器
18日前
日本精機株式会社
車両表示装置用回路基板
3日前
新電元工業株式会社
電子装置
2か月前
日産自動車株式会社
電子部品
2か月前
タイガー魔法瓶株式会社
加熱器
2か月前
日本特殊陶業株式会社
配線基板
3か月前
新光電気工業株式会社
配線基板
2か月前
株式会社デンソー
電子制御装置
1か月前
富士電子工業株式会社
誘導加熱コイル
2か月前
富士電子工業株式会社
誘導加熱コイル
2か月前
続きを見る
他の特許を見る