TOP
|
特許
|
意匠
|
商標
特許ウォッチ
Twitter
他の特許を見る
公開番号
2025133265
公報種別
公開特許公報(A)
公開日
2025-09-11
出願番号
2024031103
出願日
2024-03-01
発明の名称
プリント配線板
出願人
イビデン株式会社
代理人
個人
主分類
H05K
3/28 20060101AFI20250904BHJP(他に分類されない電気技術)
要約
【課題】生産性の高いプリント配線板の提供。
【解決手段】プリント配線板は、最上の樹脂絶縁層と、前記最上の樹脂絶縁層上に形成されている最上の導体層と、前記最上の樹脂絶縁層と前記最上の導体層上に形成されているソルダーレジスト層と、前記ソルダーレジスト層上に形成されているダム、とを有する。前記プリント配線板は、電子部品を搭載するための実装エリアを有している。前記ダムは、金属線で形成されており、前記実装エリアを囲んでいる。
【選択図】図1
特許請求の範囲
【請求項1】
最上の樹脂絶縁層と、
前記最上の樹脂絶縁層上に形成されている最上の導体層と、
前記最上の樹脂絶縁層と前記最上の導体層上に形成されているソルダーレジスト層と、
前記ソルダーレジスト層上に形成されているダム、とを有するプリント配線板であって、
前記プリント配線板は、電子部品を搭載するための実装エリアを有しており、
前記ダムは、金属線で形成されており、前記実装エリアを囲んでいる。
続きを表示(約 480 文字)
【請求項2】
請求項1のプリント配線板であって、前記ダムは複数の前記金属線で形成されている。
【請求項3】
請求項1のプリント配線板であって、前記ダムは、さらに、前記金属線上に形成されている樹脂膜を有する。
【請求項4】
請求項3のプリント配線板であって、前記金属線と前記ソルダーレジスト層との間に隙間が存在し、前記隙間が閉じられるように、前記樹脂膜は前記金属線上に形成されている。
【請求項5】
請求項1のプリント配線板であって、前記最上の導体層は前記金属線を固定するための導体を有しており、前記ソルダーレジスト層は前記導体を露出する開口を有しており、前記金属線の端部は前記開口から露出する前記導体にはんだによって固定されている。
【請求項6】
請求項1のプリント配線板であって、前記最上の導体層は前記金属線を固定するための導体を有しており、前記ソルダーレジスト層は前記導体を露出する開口を有しており、前記金属線の端部は前記開口から露出する前記導体にワイヤボンディングによって固定されている。
発明の詳細な説明
【技術分野】
【0001】
本明細書によって開示される技術はプリント配線板に関する。
続きを表示(約 1,400 文字)
【背景技術】
【0002】
特許文献1は、樹脂製枠と粘着剤層とからなる接着性ダム枠材を開示する。
【先行技術文献】
【特許文献】
【0003】
特開2004-79881号公報
【発明の概要】
【0004】
[特許文献1の課題]
特許文献1では接着性ダム枠材はベアチップを囲んでいる。従って、ベアチップのサイズや形状が変わると、特許文献1の技術によれば、樹脂製枠のサイズや形状が変えられなければならないと考えられる。その場合、樹脂製枠を製造するための時間が長くなると考えられる。樹脂製枠が製造される時、多くの廃棄物が発生すると考えられる。接着性ダム枠材の生産コストが高くなると考えられる。
【課題を解決するための手段】
【0005】
本発明のプリント配線板は、最上の樹脂絶縁層と、前記最上の樹脂絶縁層上に形成されている最上の導体層と、前記最上の樹脂絶縁層と前記最上の導体層上に形成されているソルダーレジスト層と、前記ソルダーレジスト層上に形成されているダム、とを有する。前記プリント配線板は、電子部品を搭載するための実装エリアを有している。前記ダムは、金属線で形成されており、前記実装エリアを囲んでいる。
【0006】
本発明の実施形態のプリント配線板は、実装エリアを囲むダムを有し、そのダムは金属線で形成されている。実装エリアのサイズや形状が変わっても実施形態は金属線の長さを調整することでダムを形成できる。ダムが形成されるとき、無駄な材料が発生しがたい。実施形態はダムの生産性を向上することができる。実施形態はプリント配線板の生産コストを減少することができる。
【図面の簡単な説明】
【0007】
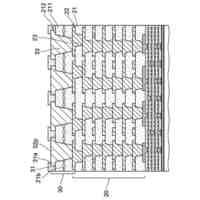
実施形態のプリント配線板を模式的に示す平面図。
図1のII-II間の断面図。
図1のIII-III間の断面図。
実施形態のプリント配線板の製造方法を模式的に示す平面図。
実施形態のプリント配線板の製造方法を模式的に示す平面図。
【発明を実施するための形態】
【0008】
[実施形態]
図1は実施形態のプリント配線板2を模式的に示す平面図である。図2は図1のII-II間の断面図である。図3は図1のIII-III間の断面図である。図1に示されるように、プリント配線板2の上面は電子部品を搭載するための実装エリアA1を有する。図1~図3に示されるように、プリント配線板2は、最上の樹脂絶縁層4と最上の導体層10とソルダーレジスト層20とダム50を有する。ダム50は実装エリアA1の周囲を囲んでいる。ダム50は金属線30で形成されている。
【0009】
最上の樹脂絶縁層4は熱硬化性樹脂を用いて形成される。最上の樹脂絶縁層4の材料は光硬化性樹脂でも良い。最上の樹脂絶縁層4はシリカ等の無機粒子を含んでもよい。最上の樹脂絶縁層4は、ガラスクロス等の補強材を含んでもよい。
【0010】
最上の導体層10は最上の樹脂絶縁層4上に形成されている。最上の導体層10は複数の導体12と複数の導体回路14を有している。導体12はダム50の金属線30を固定するための部材である。導体回路14は例えば信号配線である。導体回路14は電気部品実装用のパッドを含んでいてもよい。導体層10は主に銅によって形成される。
(【0011】以降は省略されています)
この特許をJ-PlatPat(特許庁公式サイト)で参照する
関連特許
イビデン株式会社
断熱材
28日前
イビデン株式会社
断熱材
28日前
イビデン株式会社
断熱材
28日前
イビデン株式会社
断熱材
28日前
イビデン株式会社
配線基板
1か月前
イビデン株式会社
配線基板
29日前
イビデン株式会社
電子部品内蔵基板
今日
イビデン株式会社
ハニカムフィルタ
1か月前
イビデン株式会社
ワークの加工方法
2日前
イビデン株式会社
配線基板の製造方法
1か月前
イビデン株式会社
配線基板の製造方法
1か月前
イビデン株式会社
配線基板の製造方法
1か月前
イビデン株式会社
配線基板の製造方法
1か月前
イビデン株式会社
部品内蔵基板の製造方法
14日前
イビデン株式会社
プリント配線板の製造方法
1か月前
イビデン株式会社
プリント配線板の製造方法
1か月前
イビデン株式会社
プリント配線板の製造方法
1か月前
イビデン株式会社
マット材及び保持シール材
29日前
イビデン株式会社
コア基板及びその製造方法
8日前
イビデン株式会社
プリント配線板の製造方法
17日前
イビデン株式会社
熱伝達抑制シート及び組電池
28日前
イビデン株式会社
電池パック用断熱材及び電池パック
28日前
イビデン株式会社
電池パック用断熱材及び電池パック
28日前
イビデン株式会社
配線基板および配線基板の製造方法
24日前
イビデン株式会社
海藻の成長促進剤および海藻の養殖方法
14日前
イビデン株式会社
部品内蔵基板及び部品内蔵基板の製造方法
22日前
イビデン株式会社
プリント配線板、及びプリント配線板の製造方法
今日
イビデン株式会社
SiC単結晶製造装置及びSiC単結晶の製造方法
23日前
イビデン株式会社
熱伝達抑制シート及びその製造方法、並びに組電池
28日前
イビデン株式会社
熱伝達抑制シート及びその製造方法、並びに組電池
28日前
イビデン株式会社
ボール状部材搭載マスク及びボール状部材の搭載方法
1か月前
イビデン株式会社
多層プリント配線板および多層プリント配線板の製造方法
3日前
個人
電子部品の実装方法
1か月前
愛知電機株式会社
装柱金具
29日前
個人
非衝突型ガウス加速器
2か月前
日本精機株式会社
回路基板
1か月前
続きを見る
他の特許を見る