TOP
|
特許
|
意匠
|
商標
特許ウォッチ
Twitter
他の特許を見る
公開番号
2025177694
公報種別
公開特許公報(A)
公開日
2025-12-05
出願番号
2024084745
出願日
2024-05-24
発明の名称
プリント配線板
出願人
イビデン株式会社
代理人
弁理士法人銀座マロニエ特許事務所
主分類
H01L
23/12 20060101AFI20251128BHJP(基本的電気素子)
要約
【課題】7層以上の多層のビルドアップ層をコア基板の上下表面に有するプリント配線板においてその反りをなくす。
【解決手段】コア基板2の上下表面のそれぞれに、樹脂絶縁層と導体からなる上側のビルドアップ層BU1~BU7及び下側のビルドアップ層を複数層有するプリント配線板であって、ビルドアップ層は7層以上であり、樹脂絶縁層のうち、最上のビルドアップ層BU-7と最下のビルドアップ層を構成する樹脂絶縁層3U-7は、ガラスクロス11、無機粒子12および樹脂13から構成され、樹脂絶縁層のうち、最上および最下のビルドアップ層以外のビルドアップ層を構成する樹脂絶縁層は、無機粒子および樹脂から構成され、最上のビルドアップ層を構成する樹脂絶縁層の上に枠状の補強材5が配置されている。
【選択図】図2E
特許請求の範囲
【請求項1】
コア基板の上下表面のそれぞれに、樹脂絶縁層および導体層からなるビルドアップ層を複数層有するプリント配線板であって、
前記ビルドアップ層は7層以上であり、
前記樹脂絶縁層のうち、最上のビルドアップ層と最下のビルドアップ層を構成する樹脂絶縁層は、ガラスクロス、無機粒子および樹脂から構成され、
前記樹脂絶縁層のうち、最上および最下のビルドアップ層以外のビルドアップ層を構成する樹脂絶縁層は、無機粒子および樹脂から構成され、
前記最上のビルドアップ層を構成する樹脂絶縁層の上に枠状の補強材が配置されている、プリント配線板。
続きを表示(約 96 文字)
【請求項2】
前記ビルドアップ層は15層以下である、請求項1に記載のプリント配線板。
【請求項3】
前記補強材は金属からなる、請求項1に記載のプリント配線板。
発明の詳細な説明
【技術分野】
【0001】
本発明は、枠状の補強材を有するプリント配線板に関する。
続きを表示(約 2,100 文字)
【背景技術】
【0002】
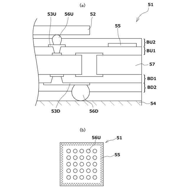
従来、プリント配線板の反りをなくすために、プリント配線板に枠状の補強材を有するプリント配線板が、例えば特許文献1で知られている。図3(a)、(b)は、それぞれ、特許文献1で開示された従来のプリント配線板の一実施形態を説明するための図である。
【0003】
図3(a)に示す従来のプリント配線板51では、ICチップ52側の表面(上面)は、配設される半田パッド53Uが小さいため、半田パッド53Uによる金属部分の占める割合が小さい。一方、マザーボード54側の表面(下面)は、半田パッド53Dが大きいため、金属部分の割合が大きい。
【0004】
そのため、特許文献1に示す技術では、プリント配線板51のICチップ52側の導体回路の外周の樹脂絶縁層内に、図3(b)に示す枠状の補強材55を形成する。これにより、プリント配線板51のICチップ52側の金属部分を増やし、ICチップ52側とマザーボード54側との金属部分の比率を調整すると共に、プリント配線板51の強度を増加させて、製造工程、及び、使用中において、プリント配線板51の反りを発生させないよう構成している。なお、図3(a)、(b)において、符号56Uは、半田パッド53U上に形成した半田バンプであり、符号56Dは半田パッド53D上に形成した半田バンプである。半田バンプ56UはICチップ52との電気的接続のために用いられ、半田バンプ56Dはマザーボード54との電気的接続のために用いられている。
【先行技術文献】
【特許文献】
【0005】
特開平11-135677号公報
【発明の概要】
【発明が解決しようとする課題】
【0006】
この従来のプリント配線板51では、図3(a)に示すように、2層のビルドアップ層BU1、BU2およびBD1、BD2をコア基板57の上下表面に有する。また、ビルドアップ層を構成する樹脂絶縁層は、エポキシ粒子および樹脂から構成されている。このような構成の場合は、従来のプリント配線板51でも枠状の補強材55がその機能を発揮でき、プリント配線板51の反りを効果的になくすことができた。しかしながら、多層のビルドアップ層、例えば、7層以上の多層のビルドアップ層をコア基板の上下表面に有するプリント配線板では、その反りをなくす効果を十分に得ることができない場合があった。
【課題を解決するための手段】
【0007】
本発明のプリント配線板は、コア基板の上下表面のそれぞれに、樹脂絶縁層および導体層からなるビルドアップ層を複数層有するプリント配線板であって、前記ビルドアップ層は7層以上であり、前記樹脂絶縁層のうち、最上のビルドアップ層と最下のビルドアップ層を構成する樹脂絶縁層は、ガラスクロス、無機粒子および樹脂から構成され、前記樹脂絶縁層のうち、最上および最下のビルドアップ層以外のビルドアップ層を構成する樹脂絶縁層は、無機粒子および樹脂から構成され、前記最上のビルドアップ層を構成する樹脂絶縁層の上に枠状の補強材が配置されている。
【図面の簡単な説明】
【0008】
本発明のプリント配線板の一実施形態を説明するための図である。
本発明のプリント配線板を製造するための製造方法の一実施形態を説明するための図である。
本発明のプリント配線板を製造するための製造方法の一実施形態を説明するための図である。
本発明のプリント配線板を製造するための製造方法の一実施形態を説明するための図である。
本発明のプリント配線板を製造するための製造方法の一実施形態を説明するための図である。
本発明のプリント配線板を製造するための製造方法の一実施形態を説明するための図である。
(a)、(b)は、それぞれ、従来のプリント配線板の一実施形態を説明するための図である。
【発明を実施するための形態】
【0009】
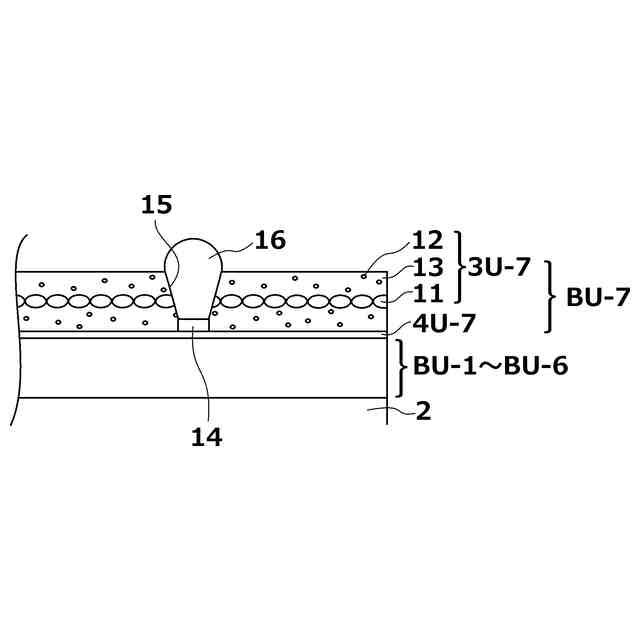
以下、本発明に係るプリント配線板の一実施形態が、図面を参照して説明される。なお、図1および図2A~図2Eに示す例において、各部材の寸法、特に高さ方向の寸法については、本発明の特徴をより良く理解できるようにするために、実際の寸法とは異なる寸法で記載している。
【0010】
<本発明のプリント配線板の一実施形態について>
図1は、本発明のプリント配線板の一実施形態を説明するための図である。図1に示す実施形態において、プリント配線板1は、コア基板2の上下表面2Uおよび2Dのそれぞれに、上側表面2U上に樹脂絶縁層(3U-1~3U-7)および導体層(4U-1~4U-7)からなる7層のビルドアップ層(BU-1~BU-7)を有するとともに、下側表面2D上に樹脂絶縁層(3D-1~3D-7)および導体層(4D-1~4D-7)からなる7層のビルドアップ層(BD-1~BD-7)を有している。
(【0011】以降は省略されています)
この特許をJ-PlatPat(特許庁公式サイト)で参照する
関連特許
日機装株式会社
加圧装置
3日前
日新イオン機器株式会社
イオン源
3日前
富士電機株式会社
電磁接触器
18日前
株式会社GSユアサ
蓄電装置
18日前
株式会社東芝
電子源
3日前
大電株式会社
電線又はケーブル
10日前
トヨタ自動車株式会社
蓄電装置
10日前
株式会社トクミ
ケーブル
4日前
ホシデン株式会社
複合コネクタ
12日前
個人
電源ボックス及び電子機器
3日前
住友電装株式会社
コネクタ
18日前
ヒロセ電機株式会社
電気コネクタ
18日前
トヨタ自動車株式会社
蓄電装置構造
4日前
株式会社デンソー
半導体装置
18日前
三菱電機株式会社
半導体装置
3日前
矢崎総業株式会社
端子
10日前
株式会社パロマ
監視システム
10日前
日本航空電子工業株式会社
コネクタ
3日前
日本特殊陶業株式会社
アンテナ装置
5日前
日本特殊陶業株式会社
アンテナ装置
5日前
日本特殊陶業株式会社
アンテナ装置
5日前
株式会社興電舎
励磁突入電流抑制方法
3日前
株式会社ダイヘン
電圧調整装置
5日前
矢崎総業株式会社
バスバー電線
11日前
矢崎総業株式会社
バスバー電線
11日前
TDK株式会社
電子部品
5日前
新電元工業株式会社
半導体装置
18日前
矢崎総業株式会社
コネクタ
10日前
日東電工株式会社
パッチアンテナ
11日前
矢崎総業株式会社
接合装置
3日前
日東電工株式会社
パッチアンテナ
11日前
住友電気工業株式会社
半導体装置
4日前
矢崎総業株式会社
コネクタ
10日前
新光電気工業株式会社
半導体装置
3日前
矢崎総業株式会社
コネクタ
4日前
矢崎総業株式会社
コネクタ
4日前
続きを見る
他の特許を見る