TOP
|
特許
|
意匠
|
商標
特許ウォッチ
Twitter
他の特許を見る
公開番号
2025177121
公報種別
公開特許公報(A)
公開日
2025-12-05
出願番号
2024083666
出願日
2024-05-22
発明の名称
プリント配線板
出願人
イビデン株式会社
代理人
弁理士法人第一テクニカル国際特許事務所
主分類
H05K
3/28 20060101AFI20251128BHJP(他に分類されない電気技術)
要約
【課題】高い品質を有するプリント配線板の提供。
【解決手段】
プリント配線板は、最外の樹脂絶縁層と、前記最外の樹脂絶縁層上に形成されている最外の導体層と、前記最外の樹脂絶縁層と前記最外の導体層上に形成されているソルダーレジスト層、とを有する。前記最外の導体層は前記ソルダーレジスト層と対向する第1表面を有し前記第1表面は粗化されておらず、前記ソルダーレジスト層は前記最外の導体層と対向する第2表面を有し前記第2表面の算術平均粗さは0.6μm以上1.1μm以下である。
【選択図】図1
特許請求の範囲
【請求項1】
最外の樹脂絶縁層と、
前記最外の樹脂絶縁層上に形成されている最外の導体層と、
前記最外の樹脂絶縁層と前記最外の導体層上に形成されているソルダーレジスト層、とを有するプリント配線板であって、
前記最外の導体層は前記ソルダーレジスト層と対向する第1表面を有し前記第1表面は粗化されておらず、
前記ソルダーレジスト層は前記最外の導体層と対向する第2表面を有し前記第2表面の算術平均粗さは0.6μm以上1.1μm以下である。
続きを表示(約 110 文字)
【請求項2】
請求項1のプリント配線板であって、前記第1表面の二乗平均平方根粗さは0.23μm以下である。
【請求項3】
請求項1のプリント配線板であって、前記最外の導体層は、銅で形成されている。
発明の詳細な説明
【技術分野】
【0001】
本明細書によって開示される技術は、プリント配線板に関する。
続きを表示(約 1,900 文字)
【背景技術】
【0002】
特許文献1は、ドライフィルムとそのドライフィルムを硬化することで得られる樹脂物を有するプリント配線板を開示する。特許文献1のドライフィルムは第一のフィルムと第二のフィルムと第一のフィルムと第二のフィルムとの間に挟まれた樹脂層で形成されている。第二のフィルムの、樹脂層に接する面の算術平均表面粗さRaは0.1~1.2μmである。そして、第二のフィルムの樹脂層と接する面が、基材へのラミネート面である。
【先行技術文献】
【特許文献】
【0003】
特開2016-86000号公報
【発明の概要】
【0004】
[特許文献1の課題]
ソルダーレジスト層を形成するために、特許文献1のドライフィルムが用いられると、熱衝撃によりソルダーレジスト層の一部がソルダーレジスト層から剥がれると考えられる。
【課題を解決するための手段】
【0005】
本発明のプリント配線板は、最外の樹脂絶縁層と、前記最外の樹脂絶縁層上に形成されている最外の導体層と、前記最外の樹脂絶縁層と前記最外の導体層上に形成されているソルダーレジスト層、とを有する。前記最外の導体層は前記ソルダーレジスト層と対向する第1表面を有し前記第1表面は粗化されておらず、
前記ソルダーレジスト層は前記最外の導体層と対向する第2表面を有し前記第2表面の算術平均粗さは0.6μm以上1.1μm以下である。
【0006】
本発明の実施形態のプリント配線板では、最外の導体層のソルダーレジスト層側の第1表面は粗化されていない。ソルダーレジスト層の最外の導体層側の第2表面の算術平均粗さは0.6μm以上1.1μm以下である。最外の導体層の平滑な第1表面に接するソルダーレジスト層の第2表面が粗い。そのため、最外の導体層にソルダーレジスト層を真空ラミネートするとき、気泡が抜け易い。実施形態によれば、最外の導体層とソルダーレジスト層の密着性が高い。算術平均粗さを1.1μm以下とすることで、算術平均粗さ過大による密着性の低下が抑制される。実施形態のプリント配線板のソルダーレジスト層は、特許文献1のソルダーレジスト層のような剥がれが生じ難い。
【図面の簡単な説明】
【0007】
実施形態のプリント配線板を模式的に示す断面図。
実施形態のプリント配線板の製造方法を模式的に示す断面図。
実施形態のプリント配線板の製造方法を模式的に示す断面図。
【発明を実施するための形態】
【0008】
<実施形態のプリント配線板>
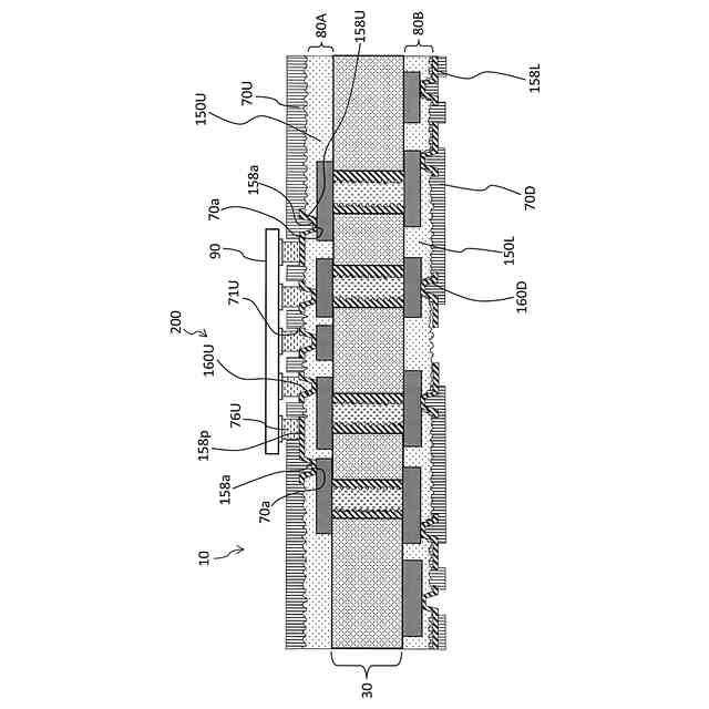
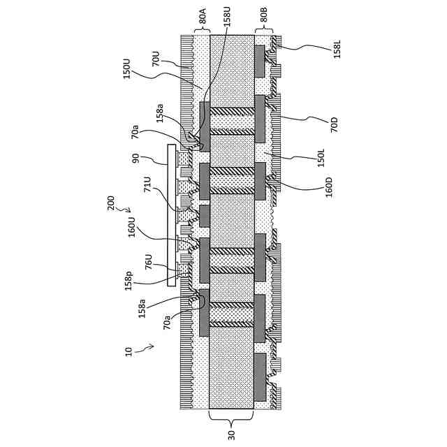
図3は途中基板2の断面を示す。図1は、実施形態の半導体装置200の断面図である。半導体装置200は、実施形態のプリント配線板10とプリント配線板10に実装されている電子部品90で形成されている。
【0009】
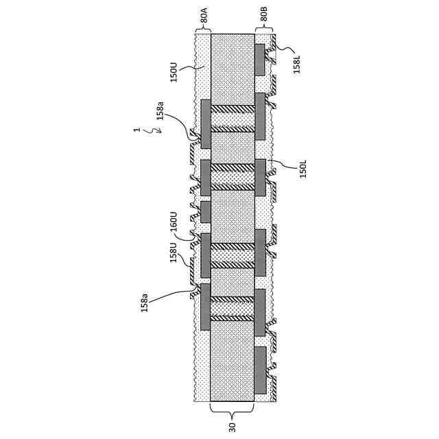
図1に示されるように、プリント配線板10は、コア基板30とコア基板30の表裏に形成されているビルドアップ層80A、80Bを有する。ビルドアップ層80A、80Bは、樹脂絶縁層150U、150Lと導体層158U、158Lと樹脂絶縁層150U、150Lを貫通し隣接する導体層を接続するビア導体160U、160Dで形成されている。樹脂絶縁層150Uは最外の樹脂絶縁層である。導体層158Uは最外の導体層である。導体層158Uは樹脂絶縁層150U上に形成されている。
【0010】
プリント配線板10は、ビルドアップ層80A、80B上にソルダーレジスト層70U、70Dを有する。ソルダーレジスト層70Uは複数の開口71Uを有する。開口71Uにより露出される導体層158Uは電子部品90を搭載するためのパッド158pとして機能する。導体層158Uは銅で形成されている。導体層158Uはソルダーレジスト層70Uと対向する第1表面158aを有する。第1表面158aは粗化されていない。第1表面158aの二乗平均平方根粗さは0.23μm以下である。開口71Uはパッド158pに至る。電子部品90は、複数のパッド158pを介してプリント配線板10上に搭載されている。ソルダーレジスト層70Uは、樹脂絶縁層150Uと複数のパッド158p上に形成されている。ソルダーレジスト層70Uは導体層158Uと対向する第2表面70aを有する。第2表面70aの算術平均粗さは0.6μm以上1.1μm以下である。各パッド158p上に電子部品90を実装するための半田バンプ76Uが形成されている。
(【0011】以降は省略されています)
この特許をJ-PlatPat(特許庁公式サイト)で参照する
関連特許
イビデン株式会社
プリント配線板
3日前
イビデン株式会社
プリント配線板
3日前
イビデン株式会社
電子部品内蔵基板
1か月前
イビデン株式会社
ワークの加工方法
1か月前
イビデン株式会社
配線基板の製造方法
24日前
イビデン株式会社
部品内蔵基板の製造方法
1か月前
イビデン株式会社
コア基板及びその製造方法
1か月前
イビデン株式会社
プリント配線板の製造方法
1か月前
イビデン株式会社
海藻の成長促進剤および海藻の養殖方法
1か月前
イビデン株式会社
コイル基板、モータ用コイル基板、及びモータ
10日前
イビデン株式会社
プリント配線板、及びプリント配線板の製造方法
1か月前
イビデン株式会社
多層プリント配線板および多層プリント配線板の製造方法
1か月前
イビデン株式会社
浸透促進剤
10日前
個人
電子部品の実装方法
2か月前
愛知電機株式会社
装柱金具
2か月前
個人
電気式バーナー
1か月前
日星電気株式会社
面状ヒータ
24日前
イビデン株式会社
配線基板
2か月前
個人
静電気中和除去装置
1か月前
シャープ株式会社
加熱機器
1か月前
株式会社デンソー
電子装置
10日前
株式会社レクザム
剥離装置
2か月前
株式会社デンソー
電子装置
1か月前
株式会社デンソー
電子装置
2か月前
サクサ株式会社
開き角度規制構造
1か月前
FDK株式会社
基板
2か月前
日本精機株式会社
車両表示装置用回路基板
3日前
富士フイルム株式会社
積層体
2か月前
日産自動車株式会社
電子機器
18日前
株式会社レゾナック
冷却装置
2か月前
株式会社デンソー
電子制御装置
1か月前
豊田合成株式会社
制御ユニット
10日前
TDK株式会社
接合構造
10日前
富士電子工業株式会社
誘導加熱コイル
2か月前
富士電子工業株式会社
誘導加熱コイル
2か月前
日本特殊陶業株式会社
セラミックヒータ
2か月前
続きを見る
他の特許を見る