TOP
|
特許
|
意匠
|
商標
特許ウォッチ
Twitter
他の特許を見る
10個以上の画像は省略されています。
公開番号
2025161308
公報種別
公開特許公報(A)
公開日
2025-10-24
出願番号
2024064395
出願日
2024-04-12
発明の名称
部品内蔵基板の製造方法
出願人
イビデン株式会社
代理人
弁理士法人銀座マロニエ特許事務所
主分類
H05K
3/46 20060101AFI20251017BHJP(他に分類されない電気技術)
要約
【課題】部品内蔵基板の製造のための工数を少なくでき、部品内蔵基板の製造コストを低く抑えることができる部品内蔵基板の製造方法を提供する。
【解決手段】基板の開口内に樹脂を介して電子部品を内蔵する部品内蔵基板の製造方法であって、基板にスルーホール用の貫通孔14を形成することと、貫通孔14の内周面にスルーホール導体15を形成することと、基板に電子部品用の開口を形成することと、基板の下端に粘着テープ17を設置することと、開口内の粘着テープ17上に電子部品を仮止めすることと、スルーホール導体15を形成した貫通孔14および電子部品を仮止めした開口に樹脂19を充填して樹脂19を硬化させることと、粘着テープ17を除去することと、を含む。好ましい実施形態として、基板として銅張積層板13を用いる。
【選択図】図2G
特許請求の範囲
【請求項1】
基板の開口内に樹脂を介して電子部品を内蔵する部品内蔵基板の製造方法であって、
前記基板にスルーホール用の貫通孔を形成することと、
前記貫通孔の内周面にスルーホール導体を形成することと、
前記基板に電子部品用の開口を形成することと、
前記基板の下端に粘着テープを設置することと、
前記開口内の前記粘着テープ上に前記電子部品を仮止めすることと、
前記スルーホール導体を形成した貫通孔および前記電子部品を仮止めした前記開口に樹脂を充填して樹脂を硬化させることと、
前記粘着テープを除去することと、
を含む。
続きを表示(約 53 文字)
【請求項2】
前記基板として銅張積層板を用いる、請求項1に記載の部品内蔵基板の製造方法。
発明の詳細な説明
【技術分野】
【0001】
本発明は、基板の開口内に樹脂を介して電子部品を内蔵する部品内蔵基板の製造方法に関する。
続きを表示(約 2,400 文字)
【背景技術】
【0002】
従来、プリント配線板のコア基板の開口内に充填樹脂を介して電子部品を内蔵する部品内蔵基板の製造方法が、例えば特許文献1で知られている。図3A~図3Gは、それぞれ、従来の部品内蔵基板の製造方法の一実施形態を説明するための図である。
【0003】
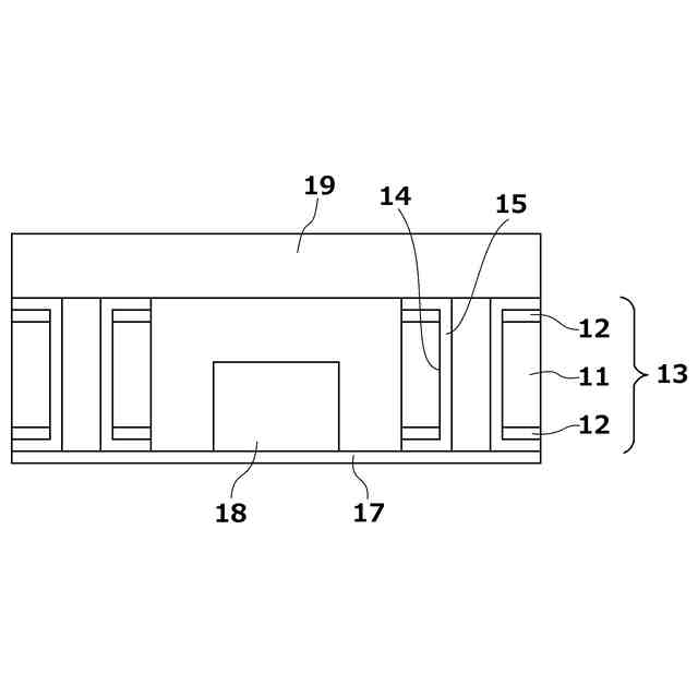
この従来の部品内蔵基板の製造方法では、まず図3Aに示すように、銅張基板51を準備する。次に、図3Bに示すように、銅張基板51に貫通孔52を形成し、その貫通孔52の内周面にスルーホール導体53を形成する。次に、図3Cに示すように、スルーホール導体53内に樹脂54を充填し、充填した樹脂54を硬化する。その後、図3Dに示すように、銅張基板51に電子部品搭載用の開口55を形成する。次に、図3Eに示すように、剥離可能な粘着テープ56で開口55の下端を覆う。次に、図3Fに示すように、開口55の上端から開口55内に電子部品57を挿入し、粘着テープ56で開口55内に電子部品57を仮止めする。その後、図3Gに示すように、開口55内に樹脂58を充填し、樹脂54を硬化させることで、電子部品57を開口55内に固定している。そして、粘着テープ56を除去して、部品内蔵基板を得ている。
【先行技術文献】
【特許文献】
【0004】
特開2010-114434号公報
【発明の概要】
【発明が解決しようとする課題】
【0005】
しかしながら、この従来の部品内蔵基板の製造方法では、スルーホール導体53内への樹脂54の充填と、電子部品57を固定するための開口55内への樹脂58の充填とを別工程で行っているため、コア基板の製造のための工数が多くなり、部品内蔵基板の製造コストがかさむという問題があった。
【課題を解決するための手段】
【0006】
本発明の部品内蔵基板の製造方法は、基板の開口内に樹脂を介して電子部品を内蔵する部品内蔵基板の製造方法であって、前記基板にスルーホール用の貫通孔を形成することと、前記貫通孔の内周面にスルーホール導体を形成することと、前記基板に電子部品用の開口を形成することと、前記基板の下端に粘着テープを設置することと、前記開口内の前記粘着テープ上に前記電子部品を仮止めすることと、前記スルーホール導体を形成した貫通孔および前記電子部品を仮止めした前記開口に樹脂を充填して樹脂を硬化させることと、前記粘着テープを除去することと、を含む。
【図面の簡単な説明】
【0007】
本発明の部品内蔵基板の製造方法の対象となる部品内蔵基板の一実施形態を説明するための図である。
本発明の部品内蔵基板の製造方法の一実施形態を説明するための図である。
本発明の部品内蔵基板の製造方法の一実施形態を説明するための図である。
本発明の部品内蔵基板の製造方法の一実施形態を説明するための図である。
本発明の部品内蔵基板の製造方法の一実施形態を説明するための図である。
本発明の部品内蔵基板の製造方法の一実施形態を説明するための図である。
本発明の部品内蔵基板の製造方法の一実施形態を説明するための図である。
本発明の部品内蔵基板の製造方法の一実施形態を説明するための図である。
本発明の部品内蔵基板の製造方法の一実施形態を説明するための図である。
本発明の部品内蔵基板の製造方法の一実施形態を説明するための図である。
従来の部品内蔵基板の製造方法の一実施形態を説明するための図である。
従来の部品内蔵基板の製造方法の一実施形態を説明するための図である。
従来の部品内蔵基板の製造方法の一実施形態を説明するための図である。
従来の部品内蔵基板の製造方法の一実施形態を説明するための図である。
従来の部品内蔵基板の製造方法の一実施形態を説明するための図である。
従来の部品内蔵基板の製造方法の一実施形態を説明するための図である。
従来の部品内蔵基板の製造方法の一実施形態を説明するための図である。
【発明を実施するための形態】
【0008】
以下、本発明に係る部品内蔵基板の製造方法の一実施形態が、図面を参照して説明される。なお、図1および図2A~図2Iに示す例において、各部材の寸法、特に高さ方向の寸法については、本発明の特徴をより良く理解できるようにするために、実際の寸法とは異なる寸法で記載している。
【0009】
<本発明の部品内蔵基板の製造方法で製造する部品内蔵基板について>
図1は、本発明の部品内蔵基板の製造方法の対象となる部品内蔵基板の一実施形態を説明するための図である。図1に示す実施形態において、部品内蔵基板1は、基板2と、基板2の表面に形成されたシード層3と、基板2の貫通孔4の表面およびシード層3の表面に形成されたスルーホール導体5と、スルーホール導体5の内部に充填された樹脂6と、基板2に設けられた電子部品搭載用の開口7と、開口7内に樹脂6により固定して設けられた電子部品8とから構成されている。部品内蔵基板1はコア基板として用いられ、コア基板の上面には図示しないビルドアップ層を形成することができる。基板2、シード層3、スルーホール導体5、樹脂6としては、従来から公知のものを用いることができる。
【0010】
<本発明の部品内蔵基板の製造方法について>
図2A~図2Iは、それぞれ、本発明の部品内蔵基板の製造方法の一実施形態を説明するための図である。以下、図2A~図2Iを用いて、本発明の部品内蔵基板の製造方法の一実施形態について順に説明する。
(【0011】以降は省略されています)
この特許をJ-PlatPat(特許庁公式サイト)で参照する
関連特許
イビデン株式会社
断熱材
1か月前
イビデン株式会社
断熱材
1か月前
イビデン株式会社
断熱材
1か月前
イビデン株式会社
断熱材
1か月前
イビデン株式会社
配線基板
1か月前
イビデン株式会社
電子部品内蔵基板
9日前
イビデン株式会社
ワークの加工方法
11日前
イビデン株式会社
配線基板の製造方法
2日前
イビデン株式会社
部品内蔵基板の製造方法
23日前
イビデン株式会社
プリント配線板の製造方法
26日前
イビデン株式会社
コア基板及びその製造方法
17日前
イビデン株式会社
マット材及び保持シール材
1か月前
イビデン株式会社
熱伝達抑制シート及び組電池
1か月前
イビデン株式会社
電池パック用断熱材及び電池パック
1か月前
イビデン株式会社
電池パック用断熱材及び電池パック
1か月前
イビデン株式会社
配線基板および配線基板の製造方法
1か月前
イビデン株式会社
海藻の成長促進剤および海藻の養殖方法
23日前
イビデン株式会社
部品内蔵基板及び部品内蔵基板の製造方法
1か月前
イビデン株式会社
プリント配線板、及びプリント配線板の製造方法
9日前
イビデン株式会社
SiC単結晶製造装置及びSiC単結晶の製造方法
1か月前
イビデン株式会社
熱伝達抑制シート及びその製造方法、並びに組電池
1か月前
イビデン株式会社
熱伝達抑制シート及びその製造方法、並びに組電池
1か月前
イビデン株式会社
多層プリント配線板および多層プリント配線板の製造方法
12日前
個人
電子部品の実装方法
1か月前
日本精機株式会社
回路基板
2か月前
個人
非衝突型ガウス加速器
3か月前
愛知電機株式会社
装柱金具
1か月前
個人
電気式バーナー
1か月前
日星電気株式会社
面状ヒータ
2日前
キヤノン株式会社
電子機器
2か月前
個人
節電材料
3か月前
日本放送協会
基板固定装置
2か月前
アイホン株式会社
電気機器
3か月前
イビデン株式会社
配線基板
1か月前
アイホン株式会社
電気機器
2か月前
メクテック株式会社
配線基板
2か月前
続きを見る
他の特許を見る