TOP
|
特許
|
意匠
|
商標
特許ウォッチ
Twitter
他の特許を見る
公開番号
2025158518
公報種別
公開特許公報(A)
公開日
2025-10-17
出願番号
2024061136
出願日
2024-04-04
発明の名称
電気式バーナー
出願人
個人
代理人
個人
主分類
H05B
3/40 20060101AFI20251009BHJP(他に分類されない電気技術)
要約
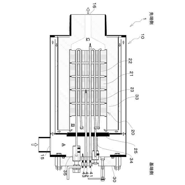
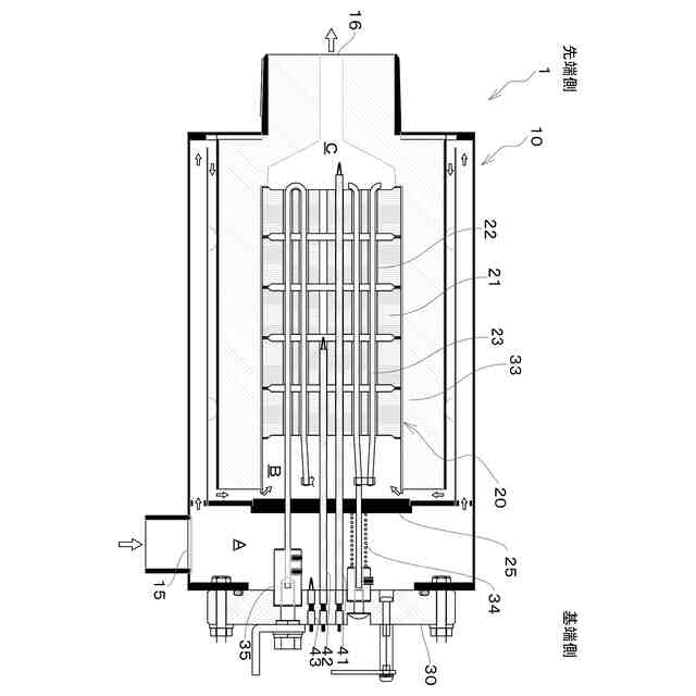
【課題】長期間にわたって使用が可能であり、かつ熱風の温度が安定した電気式バーナーを提供する。
【解決手段】電気式バーナーは、導入口から気体を導入し、前記気体を加熱して排出口から排出する。電気式バーナーは、前記導入口と前記排出口とが設けられた外装体と、前記外装体内に設けられ、前記導入口側から前記排出口側に貫通する複数の貫通孔を有する碍子と、前記貫通孔に挿入され、通電することで加熱される複数の電熱棒と、を備え、前記導入口から導入された気体は、前記貫通孔と前記電熱棒との隙間を通過して加熱され、前記排出口から排出される。
【選択図】図2
特許請求の範囲
【請求項1】
導入口から気体を導入し、前記気体を加熱して排出口から排出する電気式バーナーであって、
前記導入口と前記排出口とが設けられた外装体と、
前記外装体内に設けられ、前記導入口側から前記排出口側に貫通する複数の貫通孔を有する碍子と、
前記貫通孔に挿入され、通電することで加熱される複数の電熱棒と、を備え、
前記導入口から導入された気体は、前記貫通孔と前記電熱棒との隙間を通過して加熱され、前記排出口から排出される、電気式バーナー。
続きを表示(約 610 文字)
【請求項2】
一対の前記電熱棒は、U字形状の電熱棒部材からなり、
一対の前記貫通孔は、前記電熱棒部材の一対の直線部を挿入されている、請求項1に記載の電気式バーナー。
【請求項3】
前記碍子の前記貫通孔は、同一形状で同一寸法の断面を有し、
前記複数の電熱棒は、同一形状で同一寸法の断面を有する、請求項1に記載の電気式バーナー。
【請求項4】
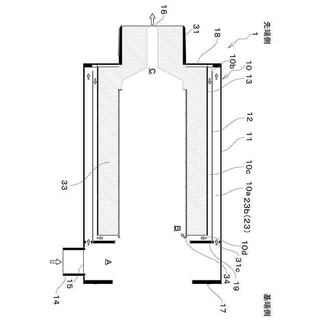
前記外装体の内側に前記碍子を保持する中空の円筒部と、
前記円筒部の外周に前記導入口から導入された空気が送られる流路とを備え、
前記流路は、前記円筒部材と外装体との間に空気断熱構造を形成する、請求項1に記載の電気式バーナー。
【請求項5】
前記流路は二重の断熱構造を形成している、請求項4に記載の電気式バーナー。
【請求項6】
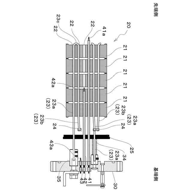
前記碍子の排出口側に突出して設けられた第1のセンサと、
前記碍子の導入口と前記排出口の中央に設けられた第2のセンサと、
前記碍子の導入口側に設けられた第3のセンサとを備える、請求項1に記載の電気式バーナー。
【請求項7】
前記電熱棒に通電した後に、前記碍子の導入口と前記排出口の中央に設けられた第2のセンサが所定の温度の到達した後に、前記導入口から気体を導入するように動作する、請求項1に記載の電気式バーナー。
発明の詳細な説明
【技術分野】
【0001】
本発明は、高温の熱風を吹き出す電気式バーナーに関する。
続きを表示(約 1,300 文字)
【背景技術】
【0002】
従来、料理の加熱、溶接、実験の加熱、暖房などさまざまな目的で使用される加熱装置としてバーナーがある。一般的に、可燃性ガスを燃焼させて熱を発生させるガスバーナーや、石油のような燃料などを燃焼させて熱を発生させる燃料バーナーがある。
【0003】
一方で、可燃性ガスや燃料を使用せず、電気により熱を発生させる電気式バーナーがある。電気式バーナーは、ガスや石油等の燃料を使用するバーナーに対して温度コントロールが容易であるという利点を有する。すなわち、電気式バーナーは、電力供給を調整することで簡単に温度を制御でき、必要な温度範囲内での安定した加熱が可能であるため、燃料を使うバーナーと比較して、より精密な温度管理が行える。
【0004】
また、電気式バーナーは、燃料を使用するバーナーで燃料の燃焼反応に伴って発生する窒素酸化物(NOx)や一酸化炭素(CO)、二酸化炭素(CO2)、水蒸気、および炭化物の煤の発生がほとんどない。これにより、環境に対する負荷が低減され、排気ガスの浄化や処理が不要になる。また、この特性は室内の空気品質を改善し、作業環境をより安全で快適にする。
【0005】
この種の電気式バーナーは、例えば特許文献1に従来技術の熱風発生用ヒータとして記載されており、以下の構成を有する。熱風発生用ヒータの内部には円柱形状の碍子が配置されている。この碍子には複数の貫通孔が設けられており、それぞれの貫通孔には螺旋状に巻かれたニクロム線などの電熱線が配置されている。
【0006】
ヒータ内に吸入された気体は碍子の軸方向に流れ、電熱線が配置された貫通孔を通過して加熱される。碍子は適数個が軸方向に配列され、ヒータ内に配置される。ヒータ本体には気体の導入口と熱風の排出口があり、碍子はこのヒータ本体内に配置され、固定されている。
【0007】
碍子の配列個数は熱風発生用ヒータの容量に応じて決定され、それぞれの碍子の貫通孔の位置は同一に配置される。電熱線は貫通孔内に配置され、導入口から排出口に向かって配置される。碍子は長軸のボルトとナットで固定され、異常過熱防止用の温度センサも碍子の貫通孔に配置される。また、吐出温度感知センサはヒータ本体内の最も排出口側の碍子の前方に配置される。
【先行技術文献】
【特許文献】
【0008】
特開2013-213637号公報
【発明の概要】
【発明が解決しようとする課題】
【0009】
しかし、従来の電気式バーナーでは、螺旋状に巻かれた電熱線を用いることから、超高温の熱風を短時間で発生させること、および、発熱体である電熱線の寿命に課題があった。
【0010】
すなわち、螺旋状に巻かれた電熱線を碍子の貫通孔に挿入し、貫通孔に空気を送ると、空気が螺旋状の電熱線を通過する際に、空気は、直線的に進む場合に比較して電熱線の形状が障害となり風速が低減し、また、電熱線に均一に接触させることが難しく、結果として熱交換率が低下してしまう。
(【0011】以降は省略されています)
この特許をJ-PlatPat(特許庁公式サイト)で参照する
関連特許
個人
電気式バーナー
1か月前
愛知電機株式会社
装柱金具
2か月前
日本精機株式会社
回路基板
今日
日星電気株式会社
面状ヒータ
25日前
イビデン株式会社
配線基板
2か月前
個人
静電気中和除去装置
1か月前
シャープ株式会社
加熱機器
1か月前
サクサ株式会社
開き角度規制構造
2か月前
株式会社デンソー
電子装置
2か月前
FDK株式会社
基板
2か月前
株式会社デンソー
電子装置
1か月前
株式会社レクザム
剥離装置
2か月前
株式会社デンソー
電子装置
11日前
株式会社レゾナック
冷却装置
2か月前
日産自動車株式会社
電子機器
19日前
富士フイルム株式会社
積層体
2か月前
日本精機株式会社
車両表示装置用回路基板
4日前
日産自動車株式会社
電子基板
今日
富士電子工業株式会社
誘導加熱コイル
2か月前
豊田合成株式会社
制御ユニット
11日前
富士電子工業株式会社
誘導加熱コイル
2か月前
株式会社デンソー
電子制御装置
1か月前
TDK株式会社
接合構造
11日前
センスネットシステム株式会社
回路基板
2か月前
東芝ライテック株式会社
照明装置
2か月前
日本特殊陶業株式会社
セラミックヒータ
2か月前
東芝ライテック株式会社
照明装置
2か月前
日本特殊陶業株式会社
セラミックヒータ
2か月前
象印マホービン株式会社
電磁調理器
6日前
矢崎総業株式会社
箱状体
2か月前
矢崎総業株式会社
箱状体
2か月前
株式会社羽野製作所
プリント配線板
19日前
象印マホービン株式会社
電磁調理器
6日前
象印マホービン株式会社
電磁調理器
6日前
矢崎総業株式会社
箱状体
1か月前
象印マホービン株式会社
電磁調理器
6日前
続きを見る
他の特許を見る