TOP
|
特許
|
意匠
|
商標
特許ウォッチ
Twitter
他の特許を見る
公開番号
2025163727
公報種別
公開特許公報(A)
公開日
2025-10-30
出願番号
2024067201
出願日
2024-04-18
発明の名称
コア基板及びその製造方法
出願人
イビデン株式会社
代理人
個人
,
個人
主分類
H05K
3/40 20060101AFI20251023BHJP(他に分類されない電気技術)
要約
【課題】導電層の厚みを調整するためのハーフエッチングの後、導電層の表面にピンホール不良が発生することを抑えるための技術を提供する。
【解決手段】絶縁性基材と、前記絶縁性基材の表裏の両側に積層される1対の導電層と、前記絶縁性基材を貫通するスルーホールと、前記スルーホール内にめっき充填されて前記1対の導電層の間を連絡するスルーホール導体と、を備えるコア基板であって、前記1対の導電層のそれぞれは、前記スルーホール導体と一体成形される第1の電解めっき層と、前記第1の電解めっき層上に積層される無電解めっき層と、さらにその上に積層される第2の電解めっき層と、を含む。
【選択図】図1
特許請求の範囲
【請求項1】
絶縁性基材と、前記絶縁性基材の表裏の両側に積層される1対の導電層と、前記絶縁性基材を貫通するスルーホールと、前記スルーホール内にめっき充填されて前記1対の導電層の間を連絡するスルーホール導体と、を備えるコア基板であって、
前記1対の導電層のそれぞれは、前記スルーホール導体と一体成形される第1の電解めっき層と、前記第1の電解めっき層上に積層される無電解めっき層と、さらにその上に積層される第2の電解めっき層と、を含む。
続きを表示(約 770 文字)
【請求項2】
請求項1に記載のコア基板であって、前記第1の電解めっき層には絶縁性異物が付着しており、
前記無電解めっき層は、前記第1の電解めっき層及び前記絶縁性異物上に積層される。
【請求項3】
請求項1に記載のコア基板であって、
前記第2の電解めっき層の上面は、ハーフエッチングされる被エッチング面になっている。
【請求項4】
請求項1に記載のコア基板であって、
前記1対の導電層のそれぞれには、前記絶縁性基材の表面に形成される金属箔と、前記第1電解めっき層の給電用に前記金属箔の上に形成される給電用無電解めっき層と、が備えられる。
【請求項5】
請求項1に記載のコア基板であって、
前記スルーホールは両端部より中間部の内径が小さい形状をなしている。
【請求項6】
請求項1から5の何れか1の請求項に記載のコア基板の製造方法であって、
前記スルーホール導体を形成するとともに、前記第1の電解めっき層が積層される第1電解めっき工程と、
前記無電解めっき層が積層される無電解めっき工程と、
前記第2の電解めっき層が積層される第2電解めっき工程と、が順に行われることを含む。
【請求項7】
請求項6に記載のコア基板の製造方法であって、
前記第2電解めっき工程の後に、前記導電層の厚みを調整する工程を含む。
【請求項8】
請求項7に記載のコア基板の製造方法であって、
前記導電層の厚みを調整する工程は、ハーフエッチングである。
【請求項9】
請求項6に記載の配線基板の製造方法であって、
前記スルーホールは、レーザーによって形成される。
発明の詳細な説明
【技術分野】
【0001】
本開示は、コア基板及びその製造方法に関する。
続きを表示(約 1,600 文字)
【背景技術】
【0002】
従来のコア基板の製造方法として、スルーホール内がめっき充填されたスルーホール導体の形成と共に、絶縁性基材の表裏の両面に1対の導電層が形成されるものが知られている(例えば、特許文献1参照)。
【先行技術文献】
【特許文献】
【0003】
特開2005-93934号公報(段落[0020]、図4)
【発明の概要】
【発明が解決しようとする課題】
【0004】
上述した従来のコア基板の製造方法においては、スルーホール内のめっき充填後に、導電層の厚みを調整するためにハーフエッチングが行われることがある。そのハーフエッチングの後、導電層の表面にピンホール不良が発生することがある。
【課題を解決するための手段】
【0005】
発明の一態様は、絶縁性基材と、前記絶縁性基材の表裏の両側に積層される1対の導電層と、前記絶縁性基材を貫通するスルーホールと、前記スルーホール内にめっき充填されて前記1対の導電層の間を連絡するスルーホール導体と、を備えるコア基板であって、前記1対の導電層のそれぞれは、前記スルーホール導体と一体成形される第1の電解めっき層と、前記第1の電解めっき層上に積層される無電解めっき層と、さらにその上に積層される第2の電解めっき層と、を含む。
【図面の簡単な説明】
【0006】
図1は、第1実施形態に係るコア基板の拡大断面図
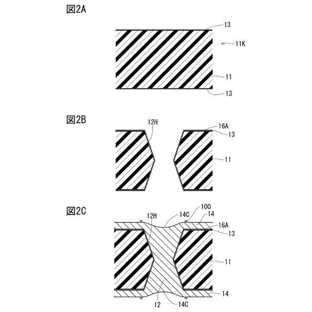
図2Aは、絶縁性基材の断面図、図2Bは、第1の無電解めっき層が形成されたコア基板の断面図、図2Cは、第1の電解めっき層が形成されたコア基板の断面図
図3Aは、第2の無電解めっき層が形成されたコア基板の断面図、図3Bは、第2の電解めっき層が形成されたコア基板の断面図、図3Cは、被エッチング面が形成されたコア基板の断面図
図4Aは、従来のコア基板の拡大断面図、図4Bは、従来のコア基板の拡大断面図
図5Aは、コア基板の拡大断面図、図5Bは、コア基板の拡大断面図
【発明を実施するための形態】
【0007】
[第1実施形態]
図1から図3、及び図5を参照して、第1実施形態に係るコア基板10およびその製造方法について説明する。図1に示すように、コア基板10には、絶縁性基材11と、その表裏に積層される1対の導電層20とが備えられている。
【0008】
絶縁性基材11は、例えば、プリプレグであり、熱硬化性樹脂(エポキシ樹脂、ポリイミド樹脂等)を含浸させたガラスクロスである。なお、絶縁性基材11として、例えばビルドアップ基板用の絶縁フィルム(芯材を有さず、例えば、無機フィラーを含む熱硬化性樹脂からなるフィルム)が使用されていてもよい。
【0009】
絶縁性基材11には、スルーホール12Hが貫通形成されている。スルーホール12Hは、絶縁性基材11の表裏の両側から、絶縁性基材11の厚み方向の中央に向かうにつれて縮径するテーパー状である。また、スルーホール12Hの内部には、スルーホール導体12が充填されている。なお、スルーホール12Hは、両端部分よりも中間部分が小径になっていてもよいし、均一な径になっていてもよい。
【0010】
1対の導電層20は、それぞれ、銅箔13、第1及び第2の無電解めっき層16A,16B、第1及び第2の電解めっき層14,15を含む多層構造になっている。第1及び第2の無電解めっき層16A,16Bは、例えば、無電解銅めっき層であり、第1及び第2の電解めっき層14,15は、例えば、電解銅めっき層である。なお、無電解めっきは、一般に化学めっきとも呼ばれている。
(【0011】以降は省略されています)
この特許をJ-PlatPat(特許庁公式サイト)で参照する
関連特許
イビデン株式会社
断熱材
1か月前
イビデン株式会社
断熱材
1か月前
イビデン株式会社
断熱材
1か月前
イビデン株式会社
断熱材
1か月前
イビデン株式会社
配線基板
1か月前
イビデン株式会社
配線基板
1か月前
イビデン株式会社
ハニカムフィルタ
1か月前
イビデン株式会社
ハニカムフィルタ
1か月前
イビデン株式会社
ワークの加工方法
16日前
イビデン株式会社
電子部品内蔵基板
14日前
イビデン株式会社
配線基板の製造方法
1か月前
イビデン株式会社
配線基板の製造方法
1か月前
イビデン株式会社
配線基板の製造方法
1か月前
イビデン株式会社
配線基板の製造方法
1か月前
イビデン株式会社
配線基板の製造方法
1か月前
イビデン株式会社
配線基板の製造方法
1か月前
イビデン株式会社
配線基板の製造方法
1か月前
イビデン株式会社
配線基板の製造方法
1か月前
イビデン株式会社
配線基板の製造方法
1か月前
イビデン株式会社
配線基板の製造方法
7日前
イビデン株式会社
部品内蔵基板の製造方法
28日前
イビデン株式会社
マット材及び保持シール材
1か月前
イビデン株式会社
コア基板及びその製造方法
22日前
イビデン株式会社
プリント配線板の製造方法
1か月前
イビデン株式会社
プリント配線板の製造方法
1か月前
イビデン株式会社
プリント配線板の製造方法
1か月前
イビデン株式会社
プリント配線板の製造方法
1か月前
イビデン株式会社
光導波路及び導波路搭載基板
1か月前
イビデン株式会社
熱伝達抑制シート及び組電池
1か月前
イビデン株式会社
熱伝達抑制シート及び組電池
1か月前
イビデン株式会社
電池パック用断熱材及び電池パック
1か月前
イビデン株式会社
電池パック用断熱材及び電池パック
1か月前
イビデン株式会社
配線基板および配線基板の製造方法
1か月前
イビデン株式会社
海藻の成長促進剤および海藻の養殖方法
28日前
イビデン株式会社
部品内蔵基板及び部品内蔵基板の製造方法
1か月前
イビデン株式会社
プリント配線板、及びプリント配線板の製造方法
14日前
続きを見る
他の特許を見る