TOP
|
特許
|
意匠
|
商標
特許ウォッチ
Twitter
他の特許を見る
10個以上の画像は省略されています。
公開番号
2025150485
公報種別
公開特許公報(A)
公開日
2025-10-09
出願番号
2024051385
出願日
2024-03-27
発明の名称
配線基板
出願人
イビデン株式会社
代理人
弁理士法人朝日奈特許事務所
主分類
H05K
3/46 20060101AFI20251002BHJP(他に分類されない電気技術)
要約
【課題】配線基板の品質向上。
【解決手段】実施形態の配線基板1は、第1ビルドアップ部10と、第1ビルドアップ部10の第1面10aに接するソルダーレジスト層81と、ソルダーレジスト層81から第1面10aと反対方向に突出する金属ポスト7と、を含んでいる。第1ビルドアップ部10は、第1面10aを構成する第1絶縁層51と、ソルダーレジスト層81における第1面10aとの接触面上に形成されていて第1導体パッド411を含んでいる第1導体層41と、を含み、金属ポスト7は、第1導体パッド411に接続されているベースめっき層71を含み、ベースめっき層71は、ソルダーレジスト層81の開口81h内に形成されている貫通部711と、ソルダーレジスト層81から突出しているパッド部712と、を含んでいる。
【選択図】図2
特許請求の範囲
【請求項1】
積層されている導体層及び絶縁層によって構成されていて、互いに反対側を向く第1面及び第2面を有する第1ビルドアップ部と、
前記第1ビルドアップ部の前記第1面に接するソルダーレジスト層と、
前記ソルダーレジスト層から前記第1面と反対方向に突出する金属ポストと、
を含んでいる配線基板であって、
前記第1ビルドアップ部は、
前記第1面を構成する第1絶縁層と、
前記ソルダーレジスト層における前記第1面との接触面上に形成されていて第1導体パッドを含んでいる第1導体層と、
を含み、
前記金属ポストは、前記第1導体パッドに接続されているベースめっき層を含み、
前記ベースめっき層は、前記ソルダーレジスト層の開口内に形成されている貫通部と、前記ソルダーレジスト層から突出しているパッド部と、を含んでいる。
続きを表示(約 1,000 文字)
【請求項2】
請求項1記載の配線基板であって、
前記第1ビルドアップ部は、
前記第1絶縁層における前記第2面側の表面に形成されている第2導体パッドと、
前記第1絶縁層を貫通して前記第1導体パッドと前記第2導体パッドとを接続しているビア導体と、
をさらに含み、
前記第1導体パッドとの界面での前記ベースめっき層の前記貫通部の幅は、前記ソルダーレジスト層における前記第1ビルドアップ部側と反対側の表面での前記貫通部の幅よりも小さく、
前記第1導体パッドとの界面における前記ビア導体の幅は、前記第2導体パッドとの界面における前記ビア導体の幅よりも小さい。
【請求項3】
請求項2記載の配線基板であって、
前記ベースめっき層の前記貫通部と前記ビア導体には、互いに逆向きにテーパが付けられている。
【請求項4】
請求項2記載の配線基板であって、前記ソルダーレジスト層の前記表面での前記ベースめっき層の前記貫通部の幅は、前記第2導体パッドとの界面での前記ビア導体の幅よりも大きい。
【請求項5】
請求項2記載の配線基板であって、
前記第1導体パッドの幅は、前記ベースめっき層の前記パッド部の幅よりも大きく、
前記ベースめっき層の前記パッド部の幅は前記第2導体パッドの幅よりも大きい。
【請求項6】
請求項5記載の配線基板であって、前記第2導体パッド全体が平面視で前記ベースめっき層の前記パッド部に重なっており、前記パッド部全体が平面視で前記第1導体パッドに重なっている。
【請求項7】
請求項2記載の配線基板であって、前記第1導体層と前記第1絶縁層との積層方向において、前記ベースめっき層の前記貫通部の長さは前記ビア導体の長さよりも長い。
【請求項8】
請求項1記載の配線基板であって、前記金属ポストは、さらに、前記ベースめっき層の上に形成されているトップめっき層を含んでいる。
【請求項9】
請求項1記載の配線基板であって、前記第1導体層は、前記ソルダーレジスト層に接する第1金属膜と、前記第1金属膜における前記第2面側の表面上に形成されている第2金属膜とを含んでいる。
【請求項10】
請求項1記載の配線基板であって、前記第1導体パッドにおける前記ソルダーレジスト層側の表面と、前記第1絶縁層における前記ソルダーレジスト層側の表面とが略面一である。
(【請求項11】以降は省略されています)
発明の詳細な説明
【技術分野】
【0001】
本発明は、配線基板に関する。
続きを表示(約 3,200 文字)
【背景技術】
【0002】
特許文献1には、支持基板の表面に導体層及び絶縁層を交互に形成することによって製造される、コア基板を有さないビルドアップ配線基板が開示されている。支持基板の表面には金属膜が備えられており、その金属膜をシード層として用いる電解めっきによって、最外層の導体層が形成される。支持基板の除去によって露出する表面(部品実装面)は、絶縁層、及び絶縁層に埋め込まれた導体パッドによって構成されている。
【先行技術文献】
【特許文献】
【0003】
特開2024-15869号公報
【発明の概要】
【発明が解決しようとする課題】
【0004】
特許文献1に開示の配線基板では、支持基板の表面の金属膜上に最外層の導体層が形成されるため、最外層の導体層における個々の導体パターン同士が短絡された状態で、所望の層数の導体層及び絶縁層が順次形成される。従って、所望の層数の導体層及び絶縁層の形成後に支持基板及び金属膜が除去されるまで、最外層の導体層に含まれていて、設計上、分離されている導体パターン同士の短絡の電気的な検査(ショートチェック)ができないと考えられる。また、そのような最外層の導体層の導体パターンに接続されている内層導体層の導体パターンの間のショートチェックも行えないことがある。そのため、外観検査が必要になることや、支持基板上の複数の製品エリアそれぞれに配線基板が形成されていても、支持基板の除去に伴う個片化後にしかショートチェックを行えないことがある。結果として、品質検査が効率的に行われていないことがある。また、特許文献1の配線基板では、部品実装面に露出している導体パッドが狭いピッチで並んでいる場合、それら導体パッドと実装部品との間で高い接続信頼性を確保するのが困難なことがある。
【課題を解決するための手段】
【0005】
本発明の配線基板は、積層されている導体層及び絶縁層によって構成されていて、互いに反対側を向く第1面及び第2面を有する第1ビルドアップ部と、前記第1ビルドアップ部の前記第1面に接するソルダーレジスト層と、前記ソルダーレジスト層から前記第1面と反対方向に突出する金属ポストと、を含んでいる。そして、前記第1ビルドアップ部は、前記第1面を構成する第1絶縁層と、前記ソルダーレジスト層における前記第1面との接触面上に形成されていて第1導体パッドを含んでいる第1導体層と、を含み、前記金属ポストは、前記第1導体パッドに接続されているベースめっき層を含み、前記ベースめっき層は、前記ソルダーレジスト層の開口内に形成されている貫通部と、前記ソルダーレジスト層から突出しているパッド部と、を含んでいる。
【0006】
本発明の実施形態によれば、効率的で十分なショートチェックが可能であるため、配線基板の品質を高めることができると推察される。また、金属ポスト及びソルダーレジスト層によって、狭いピッチで並ぶ導体パッドと実装部品との間の良好な接続信頼性の確保が可能なことがある。
【図面の簡単な説明】
【0007】
実施形態の配線基板の一例を示す断面図。
図1の配線基板のII部の拡大図。
実施形態の配線基板における金属ポストと導体パッドとビア導体との重なり状態の一例を示す平面図。
図1の配線基板における金属ポストの変形例を拡大して示す断面図。
製造工程中の実施形態の配線基板の一例を示す断面図。
製造工程中の実施形態の配線基板の一例を示す断面図。
製造工程中の実施形態の配線基板の一例を示す断面図。
製造工程中の実施形態の配線基板の一例を示す断面図。
製造工程中の実施形態の配線基板の一例を示す断面図。
製造工程中の実施形態の配線基板の一例を示す断面図。
製造工程中の実施形態の配線基板の一例を示す断面図。
製造工程中の実施形態の配線基板の一例を示す断面図。
製造工程中の実施形態の配線基板の一例を示す断面図。
製造工程中の実施形態の配線基板の一例を示す断面図。
製造工程中の実施形態の配線基板の一例を示す断面図。
製造工程中の実施形態の配線基板の一例を示す断面図。
第2実施形態の配線基板の一例を示す断面図。
製造工程中の第2実施形態の配線基板の一例を示す断面図。
製造工程中の第2実施形態の配線基板の一例を示す断面図。
【発明を実施するための形態】
【0008】
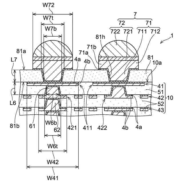
<実施形態の配線基板の基本構成>
本発明の実施形態の配線基板が図面を参照しながら説明される。図1には、実施形態の配線基板の一例である配線基板1が示されており、図2には、図1の配線基板1のII部の拡大図が示されている。なお、以下の説明において参照される各図面に例示される配線基板は実施形態の配線基板の一例に過ぎない。実施形態の配線基板の積層構造は、各図面に示される配線基板の積層構造に限定されず、実施形態の配線基板に含まれる導体層及び絶縁層それぞれの層数は、各図面に示される配線基板に含まれる導体層及び絶縁層それぞれの層数に限定されない。実施形態の配線基板は、各図面に示される配線基板が有する絶縁層及び導体層に加えて、任意の数の絶縁層及び導体層を含んでもよく、各図面に示される配線基板が有する絶縁層及び導体層の全てを含まないこともある。なお、以下の説明で参照される各図面では、開示される実施形態が理解され易いように特定の部分が拡大して描かれていることがある。従って、各構成要素が、大きさや長さに関して互いの間の正確な比率で描かれていない場合がある。
【0009】
図1に示されるように、配線基板1は、互いに反対側を向く第1面10a及び第2面10bを有するビルドアップ部10(第1ビルドアップ部)と、ソルダーレジスト層81と、ソルダーレジスト層81からビルドアップ部10の第1面10aと反対方向に突出する金属ポスト7と、を含んでいる。金属ポスト7は、ベースめっき層71を含んでいる。ソルダーレジスト層81は、ビルドアップ部10の第1面10aに接している。ビルドアップ部10の第1面10a及び第2面10bは、ビルドアップ部10の厚さ方向と直交する、ビルドアップ部10の2つの主面であり、ビルドアップ部10における互いに反対方向を向く2つの表面である。図1の配線基板1は、さらに、ソルダーレジスト層82を含んでいる。配線基板1において、ソルダーレジスト層81が設けられている側の表面は、例えば半導体集積回路装置などの部品(図示せず)が実装される部品実装面である。
【0010】
ビルドアップ部10は、交互に積層されている導体層及び絶縁層によって構成されている。図1の配線基板1においてビルドアップ部10は、絶縁層51~52と、導体層41~43と、ビア導体61~62と、を含んでいる。ビルドアップ部10において、ソルダーレジスト層81と接している第1面10aから第2面10bに向かって、導体層41(第1導体層)、絶縁層51(第1絶縁層)、及び導体層42(第2導体層)が順に形成されている。さらに、導体層42上及び絶縁層51における第2面10b側に、絶縁層52と導体層43とが交互に形成され、全部で4組の絶縁層52及び導体層43が積層されている。ビア導体61~62のうちのビア導体61(第1ビア導体)は、絶縁層51を貫通して、導体層41と導体層42とを接続している。また、ビア導体62は、それぞれ、絶縁層52を貫通して、導体層42と導体層43とを接続するか、導体層43同士を接続している。
(【0011】以降は省略されています)
この特許をJ-PlatPat(特許庁公式サイト)で参照する
関連特許
イビデン株式会社
断熱材
23日前
イビデン株式会社
断熱材
23日前
イビデン株式会社
断熱材
23日前
イビデン株式会社
断熱材
23日前
イビデン株式会社
配線基板
25日前
イビデン株式会社
配線基板
24日前
イビデン株式会社
ハニカムフィルタ
1か月前
イビデン株式会社
ハニカムフィルタ
26日前
イビデン株式会社
配線基板の製造方法
1か月前
イビデン株式会社
配線基板の製造方法
1か月前
イビデン株式会社
配線基板の製造方法
1か月前
イビデン株式会社
配線基板の製造方法
1か月前
イビデン株式会社
配線基板の製造方法
1か月前
イビデン株式会社
配線基板の製造方法
25日前
イビデン株式会社
配線基板の製造方法
25日前
イビデン株式会社
配線基板の製造方法
25日前
イビデン株式会社
配線基板の製造方法
25日前
イビデン株式会社
部品内蔵基板の製造方法
9日前
イビデン株式会社
マット材及び保持シール材
24日前
イビデン株式会社
プリント配線板の製造方法
25日前
イビデン株式会社
プリント配線板の製造方法
12日前
イビデン株式会社
プリント配線板の製造方法
25日前
イビデン株式会社
コア基板及びその製造方法
3日前
イビデン株式会社
プリント配線板の製造方法
25日前
イビデン株式会社
熱伝達抑制シート及び組電池
23日前
イビデン株式会社
熱伝達抑制シート及び組電池
1か月前
イビデン株式会社
光導波路及び導波路搭載基板
1か月前
イビデン株式会社
電池パック用断熱材及び電池パック
23日前
イビデン株式会社
配線基板および配線基板の製造方法
19日前
イビデン株式会社
電池パック用断熱材及び電池パック
23日前
イビデン株式会社
海藻の成長促進剤および海藻の養殖方法
9日前
イビデン株式会社
部品内蔵基板及び部品内蔵基板の製造方法
17日前
イビデン株式会社
SiC単結晶製造装置及びSiC単結晶の製造方法
18日前
イビデン株式会社
熱伝達抑制シート及びその製造方法、並びに組電池
23日前
イビデン株式会社
熱伝達抑制シート及びその製造方法、並びに組電池
23日前
イビデン株式会社
ボール状部材搭載マスク及びボール状部材の搭載方法
26日前
続きを見る
他の特許を見る