TOP
|
特許
|
意匠
|
商標
特許ウォッチ
Twitter
他の特許を見る
10個以上の画像は省略されています。
公開番号
2025156880
公報種別
公開特許公報(A)
公開日
2025-10-15
出願番号
2024059619
出願日
2024-04-02
発明の名称
SiC単結晶製造装置及びSiC単結晶の製造方法
出願人
イビデン株式会社
代理人
弁理士法人WisePlus
主分類
C30B
29/36 20060101AFI20251007BHJP(結晶成長)
要約
【課題】 利用効率及びエネルギー効率の高いSiC単結晶製造装置及びSiC単結晶の製造方法を提供する。
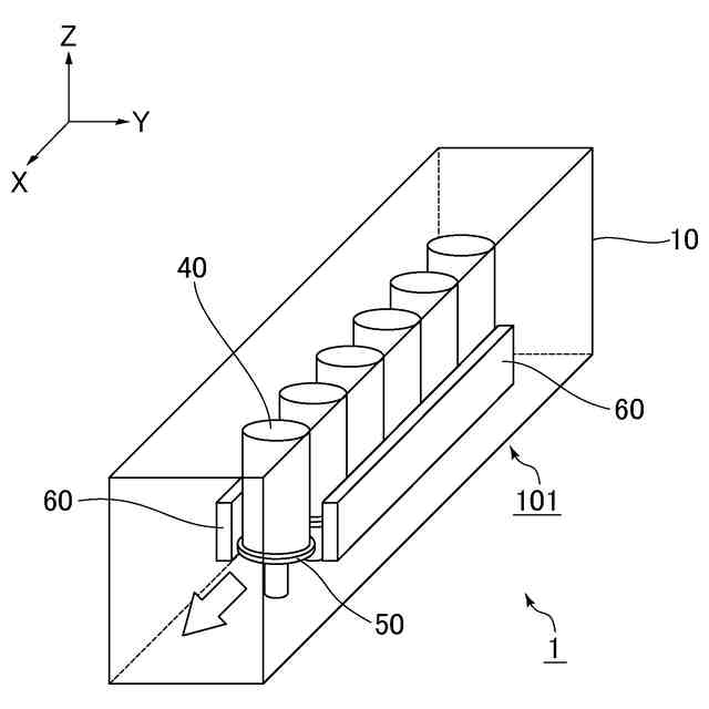
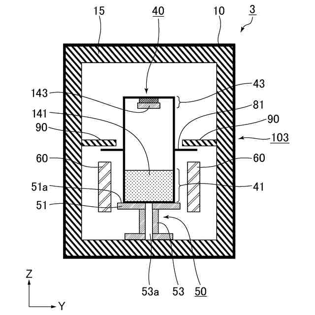
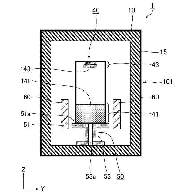
【解決手段】 入口と、出口と、上記入口と上記出口との間に設けられる加熱領域と、を有する連続炉を備え、上記連続炉内には、SiC固体原料を充填する充填部をその下部に有する坩堝と、上記坩堝が載置されて上記坩堝を上記入口から上記出口に向かって順次搬送する支持部材と、上記坩堝の搬送経路に沿って設けられて上記坩堝の上記充填部を加熱する下部加熱ヒータと、が設けられている、ことを特徴とするSiC単結晶製造装置。
【選択図】 図1
特許請求の範囲
【請求項1】
入口と、出口と、前記入口と前記出口との間に設けられる加熱領域と、を有する連続炉を備え、
前記連続炉内には、SiC固体原料を充填する充填部をその下部に有する坩堝と、前記坩堝が載置されて前記坩堝を前記入口から前記出口に向かって順次搬送する支持部材と、前記坩堝の搬送経路に沿って設けられて前記坩堝の前記充填部を加熱する下部加熱ヒータと、が設けられている、ことを特徴とするSiC単結晶製造装置。
続きを表示(約 770 文字)
【請求項2】
前記下部加熱ヒータの上部に、上部加熱ヒータが設けられている、請求項1に記載のSiC単結晶製造装置。
【請求項3】
前記下部加熱ヒータよりも上方に遮蔽部材が設けられている、請求項1に記載のSiC単結晶製造装置。
【請求項4】
前記坩堝の側面の、前記坩堝の前記充填部よりも上方となる位置に、坩堝の側面から外側に突出するフランジ部が設けられている、請求項1に記載のSiC単結晶製造装置。
【請求項5】
前記フランジ部の形状は、円環状である、請求項4に記載のSiC単結晶製造装置。
【請求項6】
前記坩堝の搬送方向に隣り合う2つの前記坩堝において、前記フランジ部の高さが異なっている、請求項4に記載のSiC単結晶製造装置。
【請求項7】
前記坩堝の搬送方向に隣り合う2つの前記支持部材の、前記坩堝が載置される載置面の高さが異なっている、請求項4に記載のSiC単結晶製造装置。
【請求項8】
前記支持部材の前記坩堝が載置される載置面が、前記坩堝の搬送方向に対して所定の角度だけ傾斜している、請求項4に記載のSiC単結晶製造装置。
【請求項9】
前記支持部材は、前記坩堝を回転させる回転機構を備える、請求項1に記載のSiC単結晶製造装置。
【請求項10】
前記連続炉は、内部を減圧する減圧機構を備えており、
前記連続炉の前記入口に接続される減圧室と、前記連続炉の前記出口に接続される復圧室をさらに備え、
前記連続炉と前記減圧室との間、及び、前記連続炉と前記復圧室との間には、それぞれ、気密扉が設けられている、請求項1に記載のSiC単結晶製造装置。
(【請求項11】以降は省略されています)
発明の詳細な説明
【技術分野】
【0001】
本発明は、SiC単結晶製造装置及びSiC単結晶の製造方法に関する。
続きを表示(約 1,300 文字)
【背景技術】
【0002】
SiC(炭化ケイ素)は優れた半導体特性を有しており、パワーデバイスなどの半導体材料として注目されている。
【0003】
SiCは2000℃超の高温で昇華現象を示す特徴を有するため、SiC単結晶は改良レーリー法と呼ばれる気相成長をベースとする方法で製造されることが一般的になっている。
【0004】
改良レーリー法では、2000℃を超える温度でSiC固体原料を加熱することで固体原料から分解発生した昇華ガスを、相対的に温度の低い位置にあらかじめ設置しておいた種結晶近傍に拡散により移動させ、過飽和度増加を駆動力として種結晶上に再結晶化することにより、SiC単結晶を成長させる。
【0005】
さらに近年、シミュレーション技術が発達し、単結晶中の残留応力、温度分布をはじめとする単結晶の成長環境を最適化することが可能になったため、改良レーリー法を用いて、マイクロクラックや転位の発生を防止しつつ大口径の単結晶が得られるようになってきている。
【0006】
特許文献1には、坩堝内を含めた外部チャンバ内を真空にしたあと、誘導コイルに通電することでヒータを誘導加熱し、その輻射熱により坩堝を加熱することで、黒鉛坩堝の自己発熱によらない加熱方法によるSiC単結晶の製造方法及び製造装置が記載されている。
【先行技術文献】
【特許文献】
【0007】
特開2008-290885号公報
【発明の概要】
【発明が解決しようとする課題】
【0008】
しかしながら、特許文献1に記載された製造装置は、坩堝の周囲を断熱材などの部材が取り囲んでいる構成となっており、断熱材を増やして装置の熱容量を大きくすると、昇温及び降温に時間がかかり、装置全体の稼働時間が長くなるため、装置の利用効率(時間効率)が低いという問題があった。
また、断熱材を減らして熱容量を小さくすると、昇温及び降温にかかる時間を短縮することができ利用効率は向上するが、断熱性の低下によって加熱温度を維持する為のエネルギーが増加するため、エネルギー効率が悪化するという問題があった。
【0009】
本発明は、上記課題を解決するためになされた発明であり、利用効率及びエネルギー効率の高いSiC単結晶製造装置及びSiC単結晶の製造方法を提供することを目的とする。
【課題を解決するための手段】
【0010】
本発明のSiC単結晶製造装置は、入口と、出口と、上記入口と上記出口との間に設けられる加熱領域と、を有する連続炉を備え、上記連続炉内には、SiC固体原料を充填する充填部をその下部に有する坩堝と、上記坩堝が載置されて上記坩堝を上記入口から上記出口に向かって順次搬送する支持部材と、上記坩堝の搬送経路に沿って設けられて上記坩堝の上記充填部を加熱する下部加熱ヒータと、が設けられている、ことを特徴とする。
(【0011】以降は省略されています)
この特許をJ-PlatPat(特許庁公式サイト)で参照する
関連特許
イビデン株式会社
断熱材
8日前
イビデン株式会社
断熱材
8日前
イビデン株式会社
断熱材
8日前
イビデン株式会社
断熱材
8日前
イビデン株式会社
配線基板
10日前
イビデン株式会社
配線基板
9日前
イビデン株式会社
配線基板
17日前
イビデン株式会社
ハニカムフィルタ
16日前
イビデン株式会社
ハニカムフィルタ
11日前
イビデン株式会社
配線基板の製造方法
10日前
イビデン株式会社
配線基板の製造方法
10日前
イビデン株式会社
配線基板の製造方法
10日前
イビデン株式会社
配線基板の製造方法
10日前
イビデン株式会社
配線基板の製造方法
15日前
イビデン株式会社
配線基板の製造方法
15日前
イビデン株式会社
配線基板の製造方法
15日前
イビデン株式会社
配線基板の製造方法
15日前
イビデン株式会社
配線基板の製造方法
15日前
イビデン株式会社
プリント配線板の製造方法
10日前
イビデン株式会社
配線基板及びその製造方法
19日前
イビデン株式会社
プリント配線板の製造方法
10日前
イビデン株式会社
プリント配線板の製造方法
10日前
イビデン株式会社
マット材及び保持シール材
9日前
イビデン株式会社
熱伝達抑制シート及び組電池
15日前
イビデン株式会社
熱伝達抑制シート及び組電池
8日前
イビデン株式会社
光導波路及び導波路搭載基板
16日前
イビデン株式会社
電池パック用断熱材及び電池パック
8日前
イビデン株式会社
電池パック用断熱材及び電池パック
8日前
イビデン株式会社
配線基板および配線基板の製造方法
4日前
イビデン株式会社
部品内蔵基板及び部品内蔵基板の製造方法
2日前
イビデン株式会社
SiC単結晶製造装置及びSiC単結晶の製造方法
3日前
イビデン株式会社
熱伝達抑制シート及びその製造方法、並びに組電池
8日前
イビデン株式会社
熱伝達抑制シート及びその製造方法、並びに組電池
8日前
イビデン株式会社
ボール状部材搭載マスク及びボール状部材の搭載方法
11日前
イビデン株式会社
植物賦活剤
15日前
SECカーボン株式会社
坩堝
6か月前
続きを見る
他の特許を見る