TOP
|
特許
|
意匠
|
商標
特許ウォッチ
Twitter
他の特許を見る
10個以上の画像は省略されています。
公開番号
2025142534
公報種別
公開特許公報(A)
公開日
2025-10-01
出願番号
2024041954
出願日
2024-03-18
発明の名称
配線基板
出願人
イビデン株式会社
代理人
弁理士法人朝日奈特許事務所
主分類
H05K
1/02 20060101AFI20250924BHJP(他に分類されない電気技術)
要約
【課題】配線基板の品質向上。
【解決手段】実施形態の配線基板1は、第1絶縁層11と、第1絶縁層11上に形成されている第1導体層12と、を含んでいる。第1導体層12は、信号を伝える信号線4と、電源又はグランドに接続される複数の基準電位線5と、を含み、信号線4は、複数の基準電位線5のうちの2つの基準電位線に挟まれており、基準電位線5の線幅W5は信号線4の線幅W4よりも小さく、基準電位線5と信号線4との間隔Gは信号線4の線幅W4よりも大きく、信号線4の線幅W4は、0.8μm以上、3μm以下である。
【選択図】図1
特許請求の範囲
【請求項1】
第1絶縁層と、
前記第1絶縁層上に形成されている第1導体層と、
を含んでいる配線基板であって、
前記第1導体層は、信号を伝える信号線と、電源又はグランドに接続される複数の基準電位線と、を含み、
前記信号線は、前記複数の基準電位線のうちの2つの基準電位線に挟まれており、
前記基準電位線の線幅は前記信号線の線幅よりも小さく、
前記基準電位線と前記信号線との間隔は前記信号線の線幅よりも大きく、
前記信号線の線幅は、0.8μm以上、3μm以下である。
続きを表示(約 740 文字)
【請求項2】
請求項1記載の配線基板であって、前記基準電位線と前記信号線との間隔と、前記信号線の線幅との差が、前記信号線の線幅と前記基準電位線の線幅との差と、略等しい。
【請求項3】
請求項1記載の配線基板であって、
前記信号線と前記基準電位線とが、1μm以上、6.5μm以下のピッチで配置されている。
【請求項4】
請求項3記載の配線基板であって、
前記第1導体層は、複数の前記信号線を含み、
前記複数の基準電位線のうちの2つの基準電位線が前記複数の信号線の各信号線を挟んでおり、
隣接する前記複数の信号線の各信号線と前記複数の基準電位線の各基準電位線とが均一のピッチで配置されている。
【請求項5】
請求項1記載の配線基板であって、
前記配線基板は、部品搭載面を有し、
前記部品搭載面には、第1部品搭載領域に含まれる第1部品搭載パッドと、第2部品搭載領域に含まれる第2部品搭載パッドとが含まれ、
前記第1部品搭載パッドと前記第2部品搭載パッドとが、前記信号線によって接続されている。
【請求項6】
請求項4記載の配線基板であって、
前記配線基板は、さらに、第2絶縁層と、前記第2絶縁層上に形成されている第2導体層と、を含み、
前記第2導体層は、互いに隣接して平行に配置されている複数の配線パターンを含み、
前記信号線の線幅の最小値は、前記第2導体層の前記複数の配線パターンそれぞれの幅の最小値よりも小さく、
前記基準電位線と前記信号線との間隔の最小値は、前記複数の配線パターンの各配線パターン同士の間隔の最小値よりも小さい。
発明の詳細な説明
【技術分野】
【0001】
本発明は、配線基板に関する。
続きを表示(約 2,200 文字)
【背景技術】
【0002】
特許文献1には、シングルエンド信号配線の両脇に接地配線が設置されるプリント配線板が開示されている。シングルエンド信号配線と接地配線との配線幅は略同じであり、これら各配線の配線幅は、各配線同士の間隔と略同じである。
【先行技術文献】
【特許文献】
【0003】
特開2005-123520号公報
【発明の概要】
【発明が解決しようとする課題】
【0004】
特許文献1に開示のプリント配線板では、配線の狭ピッチ化に伴って各配線の品質が低下することがある。
【課題を解決するための手段】
【0005】
本発明の配線基板は、第1絶縁層と、前記第1絶縁層上に形成されている第1導体層と、を含んでいる。そして、前記第1導体層は、信号を伝える信号線と、電源又はグランドに接続される複数の基準電位線と、を含み、前記信号線は、前記複数の基準電位線のうちの2つの基準電位線に挟まれており、前記基準電位線の線幅は前記信号線の線幅よりも小さく、前記基準電位線と前記信号線との間隔は前記信号線の線幅よりも大きく、前記信号線の線幅は、0.8μm以上、3μm以下である。
【0006】
本発明の実施形態によれば、狭いピッチで並ぶ複数の配線の品質が高まることがある。
【図面の簡単な説明】
【0007】
本発明の実施形態の配線基板の一例を部分的に示す断面図。
実施形態の配線基板における信号線と基準電位線の一例を示す斜視図。
実施形態の配線基板の一例を示す断面図。
実施形態の配線基板の他の例を示す断面図。
実施形態の配線基板の製造方法の一例を示す断面図。
実施形態の配線基板の製造方法の一例を示す断面図。
実施形態の配線基板の製造方法の一例を示す断面図。
実施形態の配線基板の製造方法の一例を示す断面図。
実施形態の配線基板の製造方法の一例を示す断面図。
実施形態の配線基板の製造方法の一例を示す断面図。
実施形態の配線基板の製造方法の一例を示す断面図。
【発明を実施するための形態】
【0008】
<実施形態の配線基板の基本構成>
本発明の実施形態の配線基板が図面を参照しながら説明される。図1には、実施形態の配線基板の一例である配線基板1の一部が示されており、図2には、図1に示される信号線4及び基準電位線5を含む、配線基板1の一部の斜視図が示されている。なお、以下の説明において参照される各図面に例示される配線基板は実施形態の配線基板の一例に過ぎない。実施形態の配線基板の積層構造は、各図面に示される配線基板の積層構造に限定されず、実施形態の配線基板に含まれる導体層及び絶縁層それぞれの数は、各図面に示される配線基板に含まれる導体層及び絶縁層それぞれの数に限定されない。実施形態の配線基板は、各図面に示される配線基板が有する絶縁層及び導体層に加えて、任意の数の絶縁層及び導体層を含んでもよく、各図面に示される配線基板が有する絶縁層及び導体層の全てを含まないこともある。なお、以下の説明で参照される各図面では、開示される実施形態が理解され易いように特定の部分が拡大して描かれていることがある。従って、各構成要素が、大きさや長さに関して互いの間の正確な比率で描かれていない場合がある。
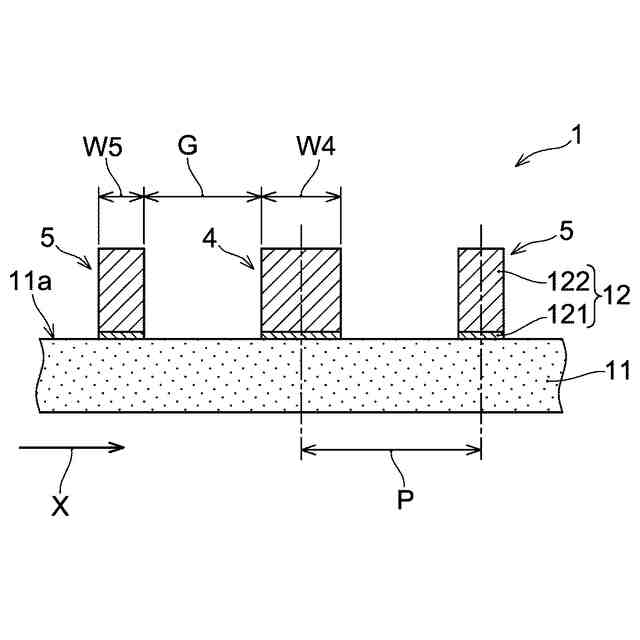
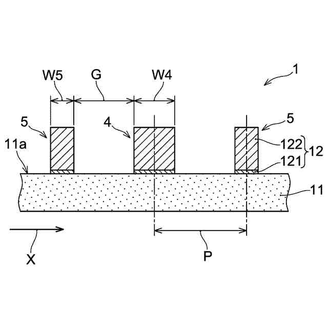
【0009】
図1に示されるように、配線基板1は、第1絶縁層11と、第1絶縁層11上に形成されている第1導体層12と、を含んでいる。第1導体層12は、信号線4と、複数の基準電位線5とを含んでいる。図1には、複数の基準電位線5のうちの2つだけが示されている。信号線4は、配線基板1に入力される、若しくは配線基板1から出力される各種の電気信号、又は、配線基板1内で生成される各種の電気信号を伝える線状の導体パターン(配線パターン)である。一方、基準電位線5は、低いインピーダンスで出力されることにより安定した電位を保ち得る定電位が印加される配線状の導体パターンである。配線基板1において基準電位線5は、配線基板1に接続される電源又はグランドに接続される配線パターンである。従って、基準電位線5は、配線基板1に提供される任意の電源の電位、又は配線基板1が接続されるグランドの電位を有する導体パターンである。
【0010】
信号線4は、複数の基準電位線5のうちの2つの基準電位線5に挟まれている。そのため、信号線4と基準電位線5が、高速信号伝送に適したコプレーナ配線を形成してもよい。すなわち、基準電位線5は信号線4に対するリファレンス層として機能してもよい。また、両側を基準電位線5に挟まれている信号線4は、配線基板1において、差動配線よりもむしろシングルエンドの信号配線であり得る。信号線4が両側を基準電位線5に挟まれている実施形態の配線基板1では、信号線4へのノイズ干渉が、安定した電位を保持可能な基準電位線5によって防がれる。従って実施形態の配線基板1では、例えば、高周波信号や微弱な信号が良好な信号品質で伝送されると考えられる。
(【0011】以降は省略されています)
この特許をJ-PlatPat(特許庁公式サイト)で参照する
関連特許
イビデン株式会社
断熱材
1か月前
イビデン株式会社
断熱材
1か月前
イビデン株式会社
断熱材
1か月前
イビデン株式会社
断熱材
1か月前
イビデン株式会社
配線基板
1か月前
イビデン株式会社
配線基板
1か月前
イビデン株式会社
配線基板
1か月前
イビデン株式会社
電子部品内蔵基板
10日前
イビデン株式会社
ワークの加工方法
12日前
イビデン株式会社
ハニカムフィルタ
1か月前
イビデン株式会社
ハニカムフィルタ
1か月前
イビデン株式会社
配線基板の製造方法
1か月前
イビデン株式会社
配線基板の製造方法
1か月前
イビデン株式会社
配線基板の製造方法
1か月前
イビデン株式会社
配線基板の製造方法
1か月前
イビデン株式会社
配線基板の製造方法
1か月前
イビデン株式会社
配線基板の製造方法
1か月前
イビデン株式会社
配線基板の製造方法
1か月前
イビデン株式会社
配線基板の製造方法
1か月前
イビデン株式会社
配線基板の製造方法
1か月前
イビデン株式会社
配線基板の製造方法
3日前
イビデン株式会社
部品内蔵基板の製造方法
24日前
イビデン株式会社
マット材及び保持シール材
1か月前
イビデン株式会社
プリント配線板の製造方法
1か月前
イビデン株式会社
配線基板及びその製造方法
1か月前
イビデン株式会社
コア基板及びその製造方法
18日前
イビデン株式会社
プリント配線板の製造方法
27日前
イビデン株式会社
プリント配線板の製造方法
1か月前
イビデン株式会社
配線基板及びその製造方法
1か月前
イビデン株式会社
プリント配線板の製造方法
1か月前
イビデン株式会社
熱伝達抑制シート及び組電池
1か月前
イビデン株式会社
熱伝達抑制シート及び組電池
1か月前
イビデン株式会社
光導波路及び導波路搭載基板
1か月前
イビデン株式会社
電池パック用断熱材及び電池パック
1か月前
イビデン株式会社
配線基板および配線基板の製造方法
1か月前
イビデン株式会社
電池パック用断熱材及び電池パック
1か月前
続きを見る
他の特許を見る