TOP
|
特許
|
意匠
|
商標
特許ウォッチ
Twitter
他の特許を見る
10個以上の画像は省略されています。
公開番号
2025140389
公報種別
公開特許公報(A)
公開日
2025-09-29
出願番号
2024039754
出願日
2024-03-14
発明の名称
配線基板及びその製造方法
出願人
イビデン株式会社
代理人
個人
,
個人
主分類
H05K
3/34 20060101AFI20250919BHJP(他に分類されない電気技術)
要約
【課題】配線基板の反り等による影響を抑え、表面実装される電子部品との接続の信頼性を高めることが可能な技術を提供する。
【解決手段】本実施形態の配線基板は、表面に湾曲を有する絶縁層と、前記絶縁層の上に積層され、グリッド状に並ぶ複数のパッドを有する導電層と、前記導電層の上に積層され、前記複数のパッドを露出させる複数の接続用開口を有するソルダーレジスト層と、前記複数のパッド上に設けられる複数の半田バンプと、前記複数の半田バンプにそれぞれ形成され、共通する架空の平坦面に含まれるバンプ上面と、を有する配線基板であって、前記湾曲により高くなっている領域に位置する前記接続用開口の開口面積が、前記湾曲により低くなっている領域に位置する前記接続用開口の開口面積より大きい。
【選択図】図1
特許請求の範囲
【請求項1】
表面に湾曲を有する絶縁層と、
前記絶縁層の上に積層され、グリッド状に並ぶ複数のパッドを有する導電層と、
前記導電層の上に積層され、前記複数のパッドを露出させる複数の接続用開口を有するソルダーレジスト層と、
前記複数のパッド上に設けられる複数の半田バンプと、
前記複数の半田バンプにそれぞれ形成され、共通する架空の平坦面に含まれるバンプ上面と、を有する配線基板であって、
前記湾曲により高くなっている領域に位置する前記接続用開口の開口面積が、前記湾曲により低くなっている領域に位置する前記接続用開口の開口面積より大きい。
続きを表示(約 1,100 文字)
【請求項2】
請求項1に記載の配線基板において、
前記複数の半田バンプの体積量は、略均一である。
【請求項3】
請求項1に記載の配線基板において、
前記複数の半田バンプは、略同一径の複数の半田ボールからなる。
【請求項4】
請求項1から3の何れか1の請求項に記載の配線基板において、
前記絶縁層の表面が、最も低くなっている部分を有する下側領域と、最も高くなっている部分を有する上側領域とを含む複数の領域に分けられて、前記領域毎に前記接続用開口の開口面積が段階的に相違している。
【請求項5】
請求項4に記載の配線基板において、
前記複数の領域は、前記下側領域と前記上側領域との2つからなり、
前記複数の接続用開口は、前記下側領域用と前記上側領域用との大小の2種類で構成されている。
【請求項6】
請求項1から3の何れか1の請求項に記載の配線基板において、
前記絶縁層の表面は、平面視の中央部に近いほど低くなるように湾曲している。
【請求項7】
表面に湾曲を有する絶縁層の上に、グリッド状に並ぶ複数のパッドを有する導電層が積層されることと、
前記導電層の上に、前記複数のパッドを露出させる複数の接続用開口を有するソルダーレジスト層が積層されることと、
前記複数の接続用開口から露出する前記複数のパッド上に複数の半田バンプが形成され、それら複数の半田バンプが、共通する架空の平坦面に含まれるバンプ上面を有するように平坦化されることとを含む配線基板の製造方法であって、
前記湾曲により高くなっている領域に位置する前記接続用開口が、前記湾曲により低くなっている領域に位置する前記接続用開口の開口面積より大きく形成される。
【請求項8】
請求項7に記載の配線基板の製造方法において、
前記複数の半田バンプは、略同一径の複数の半田ボールによって形成される。
【請求項9】
請求項7又は8に記載の配線基板の製造方法において、
前記絶縁層の表面が、最も低くなっている部分を有する下側領域と、最も高くなっている部分を有する上側領域とを含む複数の領域に分けられて、前記領域毎に前記接続用開口の開口面積が段階的に相違している。
【請求項10】
請求項9に記載の配線基板の製造方法において、
前記複数の領域は、前記下側領域と前記上側領域との2つからなり、
前記複数の接続用開口は、前記下側領域用と前記上側領域用との大小の2種類で構成されている。
(【請求項11】以降は省略されています)
発明の詳細な説明
【技術分野】
【0001】
本開示は、グリッド状に並ぶ複数のパッドがソルダーレジスト層に形成される複数の接続用開口を介して露出している配線基板及びその製造方法に関する。
続きを表示(約 1,700 文字)
【背景技術】
【0002】
従来、この種の配線基板として、複数のパッド上に複数の半田バンプが設けられているものが知られている(例えば、特許文献1参照)。
【先行技術文献】
【特許文献】
【0003】
特開2000-100863号公報(段落[0001]、図4)
【発明の概要】
【発明が解決しようとする課題】
【0004】
しかしながら、従来の配線基板の構造では、配線基板が反った場合、その反りにより低くなっている領域に位置する複数の半田バンプと、高くなっている領域に位置する複数の半田バンプとで、電子部品に対する接続状態が異なることが問題になり得る。これに対し、本願では、配線基板の反り等による影響を抑え、表面実装される電子部品との接続の信頼性を高めることが可能な技術を提供する。
【課題を解決するための手段】
【0005】
本開示の一態様に係る配線基板は、表面に湾曲を有する絶縁層と、前記絶縁層の上に積層され、グリッド状に並ぶ複数のパッドを有する導電層と、前記導電層の上に積層され、前記複数のパッドを露出させる複数の接続用開口を有するソルダーレジスト層と、前記複数のパッド上に設けられる複数の半田バンプと、前記複数の半田バンプにそれぞれ形成され、共通する架空の平坦面に含まれるバンプ上面と、を有する配線基板であって、前記湾曲により高くなっている領域に位置する前記接続用開口の開口面積が、前記湾曲により低くなっている領域に位置する前記接続用開口の開口面積より大きい。
【0006】
本開示の一態様に係る配線基板の製造方法は、表面に湾曲を有する絶縁層の上に、グリッド状に並ぶ複数のパッドを有する導電層が積層されるとことと、前記導電層の上に、前記複数のパッドを露出させる複数の接続用開口を有するソルダーレジスト層が積層されることと、前記複数のパッド上に複数の半田バンプが形成され、それら複数の半田バンプが、共通する架空の平坦面に含まれるバンプ上面を有するように平坦化されることとを含む配線基板の製造方法であって、前記湾曲により高くなっている領域に位置する前記接続用開口が、前記湾曲により低くなっている領域に位置する前記接続用開口の開口面積より大きく形成される。
【図面の簡単な説明】
【0007】
図1は、本開示の一実施形態に係る配線基板の断面図
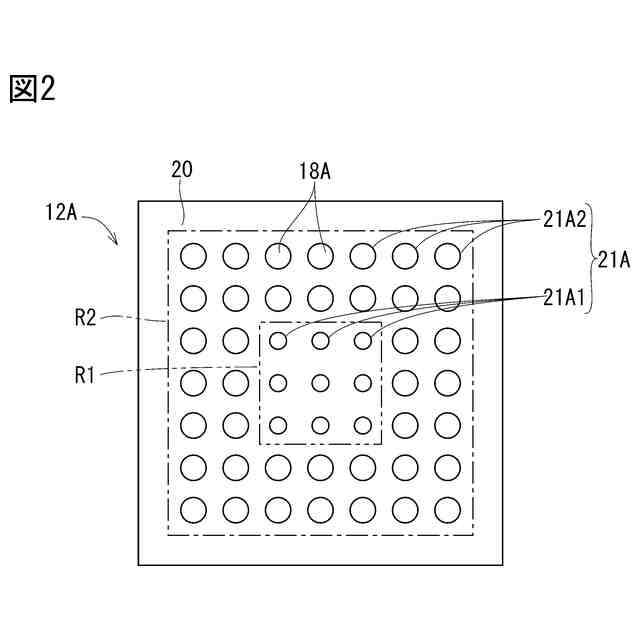
図2は、複数の半田バンプが形成される前の配線基板の平面図
図3A~図3Bは、配線基板の製造方法を示す断面図
図4A~図4Bは、配線基板の製造方法を示す断面図
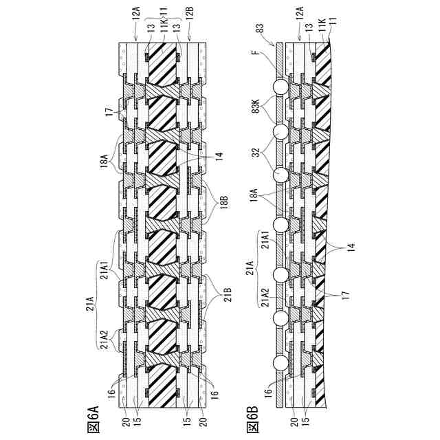
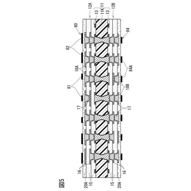
図5は、配線基板の製造方法を示す断面図
図6A~図6Bは、配線基板の製造方法を示す断面図
図7は、配線基板の製造方法を示す断面図
図8は、配線基板の製造方法を示す断面図
図9は、変形例に係る配線基板の断面図
【発明を実施するための形態】
【0008】
図1~図8を参照して本開示の一実施形態について説明する。図1に示されるように、本実施形の配線基板10は、コア基板11と、その表裏の両面に積層される第1と第2のビルドアップ層12A,12Bとを備える。
【0009】
コア基板11は、例えば、絶縁層11Kと、その表裏の両面に積層される導電層13と、それら導電層13同士を接続するための複数のスルーホール導体14とを備える。なお、スルーホール導体14は、途中部分がくびれているが、くびれていない形状であってもよい。
【0010】
第1と第2のビルドアップ層12A,12Bは、交互に積層される複数の絶縁層15及び複数の導電層16と、導電層16同士を接続するための複数のビア導体17とを備える。なお、第1と第2のビルドアップ層12A,12Bには、導電層16が複数層、含まれているが、導電層16が1層のみであってもよい。
(【0011】以降は省略されています)
この特許をJ-PlatPat(特許庁公式サイト)で参照する
関連特許
イビデン株式会社
断熱材
1か月前
イビデン株式会社
断熱材
1か月前
イビデン株式会社
断熱材
1か月前
イビデン株式会社
断熱材
1か月前
イビデン株式会社
ワークの加工方法
5日前
イビデン株式会社
電子部品内蔵基板
3日前
イビデン株式会社
部品内蔵基板の製造方法
17日前
イビデン株式会社
マット材及び保持シール材
1か月前
イビデン株式会社
コア基板及びその製造方法
11日前
イビデン株式会社
プリント配線板の製造方法
20日前
イビデン株式会社
熱伝達抑制シート及び組電池
1か月前
イビデン株式会社
配線基板および配線基板の製造方法
27日前
イビデン株式会社
電池パック用断熱材及び電池パック
1か月前
イビデン株式会社
電池パック用断熱材及び電池パック
1か月前
イビデン株式会社
海藻の成長促進剤および海藻の養殖方法
17日前
イビデン株式会社
部品内蔵基板及び部品内蔵基板の製造方法
25日前
イビデン株式会社
プリント配線板、及びプリント配線板の製造方法
3日前
イビデン株式会社
SiC単結晶製造装置及びSiC単結晶の製造方法
26日前
イビデン株式会社
熱伝達抑制シート及びその製造方法、並びに組電池
1か月前
イビデン株式会社
熱伝達抑制シート及びその製造方法、並びに組電池
1か月前
イビデン株式会社
多層プリント配線板および多層プリント配線板の製造方法
6日前
株式会社コロナ
電気機器
4か月前
個人
電子部品の実装方法
1か月前
個人
電気式バーナー
24日前
愛知電機株式会社
装柱金具
1か月前
個人
非衝突型ガウス加速器
2か月前
日本精機株式会社
回路基板
2か月前
アイホン株式会社
電気機器
1か月前
個人
節電材料
3か月前
キヤノン株式会社
電子機器
4か月前
日本放送協会
基板固定装置
2か月前
アイホン株式会社
電気機器
2か月前
キヤノン株式会社
電子機器
1か月前
イビデン株式会社
配線基板
1か月前
メクテック株式会社
配線基板
4か月前
メクテック株式会社
配線基板
2か月前
続きを見る
他の特許を見る