TOP
|
特許
|
意匠
|
商標
特許ウォッチ
Twitter
他の特許を見る
10個以上の画像は省略されています。
公開番号
2025149526
公報種別
公開特許公報(A)
公開日
2025-10-08
出願番号
2024050237
出願日
2024-03-26
発明の名称
配線基板の製造方法
出願人
イビデン株式会社
代理人
弁理士法人朝日奈特許事務所
主分類
H05K
3/46 20060101AFI20251001BHJP(他に分類されない電気技術)
要約
【課題】配線基板の製造における歩留まりの向上。
【解決手段】実施形態の配線基板の製造方法は、製品エリアを備える一方の面を有するガラス基板を用意することと、一方の面上のみに製品エリアに亘って3層以上の導体層12および絶縁層11を積層することと、を含んでいる。各絶縁層11の伸び率は7%以上であり、各製品エリアの形状は各辺の寸法が80mm以上、且つ、240mm以下の矩形であり、各導体層12を積層することは、レジストパターンを有するレジスト層を形成することを含み、導体層12に含まれる配線の幅の最小値が2μm以下、配線の間隔の最小値が2μm以下であり、レジスト層を形成することは、ダイレクトイメージング露光による露光を含む。
【選択図】図3J
特許請求の範囲
【請求項1】
1または複数の製品エリアを備える一方の面、および、前記一方の面と反対側の他方の面を有するガラス基板を用意することと、
前記一方の面上のみに、前記1または複数の製品エリアに亘って導体層および絶縁層を積層することによってビルドアップ部を形成することと、
を含む、配線基板の製造方法であって、
前記導体層および絶縁層を積層することは、3層以上の前記導体層および3層以上の前記絶縁層を交互に積層することを含み、
各前記絶縁層の伸び率は7%以上であり、
各前記製品エリアの形状は、平面視において各辺の寸法が80mm以上、且つ、240mm以下の矩形であり、
前記導体層を積層することは、レジストパターンを有するレジスト層を形成し、前記レジストパターンに従う導体パターンを形成することを含み、
前記導体層を積層することは、前記導体パターンに含まれる配線の幅の最小値を2μm以下、配線の間隔の最小値を2μm以下に形成することを含み、
前記レジストパターンを有するレジスト層を形成することは、ダイレクトイメージング露光によってレジスト層を露光することを含む。
続きを表示(約 460 文字)
【請求項2】
請求項1記載の配線基板の製造方法であって、前記ガラス基板の熱膨張率は3ppm/℃以上、且つ、12ppm/℃以下である。
【請求項3】
請求項1記載の配線基板の製造方法であって、前記ガラス基板の厚さは0.7mm以上である。
【請求項4】
請求項1記載の配線基板の製造方法であって、前記ガラス基板はホウケイ酸ガラスまたはソーダライムガラスを含んでいる。
【請求項5】
請求項1記載の配線基板の製造方法であって、前記ビルドアップ部の前記ガラス基板に向く表面の平面度は、±2.5mm以下である。
【請求項6】
請求項1記載の配線基板の製造方法であって、前記導体層は、アスペクト比が2.0以上、4.0以下の配線を含むように形成される。
【請求項7】
請求項1記載の配線基板の製造方法であって、前記ビルドアップ部の前記ガラス基板と反対側に、前記絶縁層とは異なる厚さの絶縁層を含むビルドアップ部を形成することを含んでいる。
発明の詳細な説明
【技術分野】
【0001】
本発明は配線基板の製造方法に関する。
続きを表示(約 2,400 文字)
【背景技術】
【0002】
特許文献1には、第二配線基板と第一配線基板とを備える配線基板の製造方法が開示されている。第一配線基板はガラス基板を含む支持基板上への絶縁樹脂および配線層の積層によって形成される。絶縁樹脂上の配線層は、レジストパターン開口部内への導体の充填によって形成される。第一配線基板が第二配線基板に接合された後、支持基板が剥離される。
【先行技術文献】
【特許文献】
【0003】
特開2020-4926号公報
【発明の概要】
【発明が解決しようとする課題】
【0004】
特許文献1に開示の配線基板の製造方法では、支持基板上への絶縁樹脂および配線層の積層において、支持基板、絶縁樹脂、および配線層に反りが生じ得ると考えられる。配線層のパターンの形成において不良が生じ得ると考えられる。配線基板製造における歩留まりが低くなる場合があると考えられる。
【課題を解決するための手段】
【0005】
本発明の配線基板の製造方法は、1または複数の製品エリアを備える一方の面、および、前記一方の面と反対側の他方の面を有するガラス基板を用意することと、前記一方の面上のみに、前記1または複数の製品エリアに亘って導体層および絶縁層を積層することによってビルドアップ部を形成することと、を含んでいる。前記導体層および絶縁層を積層することは、3層以上の前記導体層および3層以上の前記絶縁層を交互に積層することを含み、各前記絶縁層の伸び率は7%以上であり、各前記製品エリアの形状は、平面視において各辺の寸法が80mm以上、且つ、240mm以下の矩形であり、前記導体層を積層することは、レジストパターンを有するレジスト層を形成し、前記レジストパターンに従う導体パターンを形成することを含み、前記導体層を積層することは、前記導体パターンに含まれる配線の幅の最小値を2μm以下、配線の間隔の最小値を2μm以下に形成することを含み、前記レジストパターンを有するレジスト層を形成することは、ダイレクトイメージング露光によってレジスト層を露光することを含む。
【0006】
本発明の実施形態によれば、ビルドアップ部を形成する工程において発生し得る反りの程度が抑制され、配線基板が歩留まりよく、しかも効率的に製造され得る。
【図面の簡単な説明】
【0007】
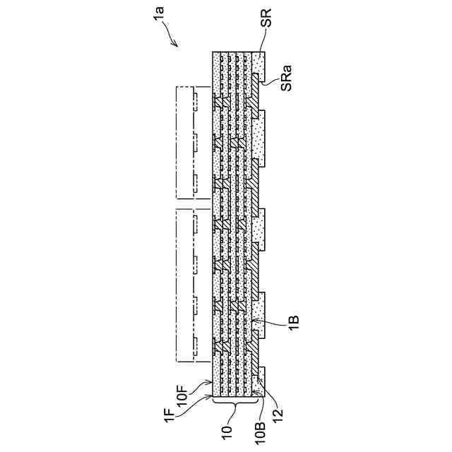
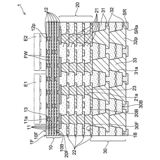
本発明の一実施形態の製造方法で製造される配線基板の一例を示す断面図。
本発明の一実施形態の製造方法で製造される配線基板の他の例を示す断面図。
本発明の一実施形態である配線基板の製造方法の一例を示す図。
本発明の一実施形態である配線基板の製造方法の一例を示す図。
本発明の一実施形態である配線基板の製造方法の一例を示す図。
本発明の一実施形態である配線基板の製造方法の一例を示す図。
本発明の一実施形態である配線基板の製造方法の一例を示す図。
本発明の一実施形態である配線基板の製造方法の一例を示す図。
本発明の一実施形態である配線基板の製造方法の一例を示す図。
本発明の一実施形態である配線基板の製造方法の一例を示す図。
本発明の一実施形態である配線基板の製造方法の一例を示す図。
本発明の一実施形態である配線基板の製造方法の一例を示す図。
本発明の一実施形態である配線基板の製造方法の一例を示す図。
本発明の一実施形態である配線基板の製造方法の一例を示す図。
本発明の一実施形態である配線基板の製造方法の一例を示す図。
本発明の一実施形態である配線基板の製造方法の一例を示す図。
本発明の一実施形態である配線基板の製造方法の一例を示す図。
本発明の一実施形態である配線基板の製造方法の一例を示す図。
【発明を実施するための形態】
【0008】
以下、図面を参照しながら本発明の配線基板の製造方法について説明される。図1は、一実施形態の製造方法によって製造される配線基板の一例である配線基板1を示す断面図である。なお、配線基板1は製造される配線基板の一例に過ぎない。製造される配線基板の積層構造、ならびに、導体層および絶縁層それぞれの数は、図1の配線基板1の積層構造、ならびに配線基板1に含まれる導体層および絶縁層それぞれの数に限定されない。また、参照される図面においては、各構成要素の正確な比率を示すことは意図されておらず、本発明の特徴が理解され易いように描かれている。
【0009】
配線基板1は、交互に積層された複数の導体層および絶縁層によって構成されるビルドアップ部を含む積層構造を有している。配線基板1を構成するビルドアップ部は、その厚さ方向と直交する2つの表面(第1面1Fおよび第1面1Fと反対側の第2面1B)を有している。一実施形態の配線基板の製造方法によって製造される配線基板のビルドアップ部は、図1に示されるように、少なくともビルドアップ部10を含んでいる。ビルドアップ部10の表面(第1面10F)が第1面1Fを構成している。
【0010】
ビルドアップ部10は、第1面10Fと反対側の表面として第2面10Bを有している。図1に示されるように、配線基板1は、ビルドアップ部10の第2面10B側に、交互に積層される絶縁層および導体層から構成されるビルドアップ部20、30をさらに含み得る。以下、配線基板1の説明において、ビルドアップ部10は第1ビルドアップ部10とも称され、ビルドアップ部20は第2ビルドアップ部20とも称され、ビルドアップ部30は第3ビルドアップ部30とも称される。
(【0011】以降は省略されています)
この特許をJ-PlatPat(特許庁公式サイト)で参照する
関連特許
イビデン株式会社
断熱材
1か月前
イビデン株式会社
断熱材
1か月前
イビデン株式会社
断熱材
1か月前
イビデン株式会社
断熱材
1か月前
イビデン株式会社
配線基板
1か月前
イビデン株式会社
電子部品内蔵基板
17日前
イビデン株式会社
ワークの加工方法
19日前
イビデン株式会社
配線基板の製造方法
10日前
イビデン株式会社
配線基板の製造方法
1か月前
イビデン株式会社
配線基板の製造方法
1か月前
イビデン株式会社
配線基板の製造方法
1か月前
イビデン株式会社
配線基板の製造方法
1か月前
イビデン株式会社
部品内蔵基板の製造方法
1か月前
イビデン株式会社
プリント配線板の製造方法
1か月前
イビデン株式会社
マット材及び保持シール材
1か月前
イビデン株式会社
コア基板及びその製造方法
25日前
イビデン株式会社
熱伝達抑制シート及び組電池
1か月前
イビデン株式会社
電池パック用断熱材及び電池パック
1か月前
イビデン株式会社
配線基板および配線基板の製造方法
1か月前
イビデン株式会社
電池パック用断熱材及び電池パック
1か月前
イビデン株式会社
海藻の成長促進剤および海藻の養殖方法
1か月前
イビデン株式会社
部品内蔵基板及び部品内蔵基板の製造方法
1か月前
イビデン株式会社
プリント配線板、及びプリント配線板の製造方法
17日前
イビデン株式会社
SiC単結晶製造装置及びSiC単結晶の製造方法
1か月前
イビデン株式会社
熱伝達抑制シート及びその製造方法、並びに組電池
1か月前
イビデン株式会社
熱伝達抑制シート及びその製造方法、並びに組電池
1か月前
イビデン株式会社
多層プリント配線板および多層プリント配線板の製造方法
20日前
個人
電子部品の実装方法
1か月前
個人
電気式バーナー
1か月前
個人
非衝突型ガウス加速器
3か月前
愛知電機株式会社
装柱金具
1か月前
日本精機株式会社
回路基板
2か月前
日星電気株式会社
面状ヒータ
10日前
アイホン株式会社
電気機器
2か月前
キヤノン株式会社
電子機器
2か月前
日本放送協会
基板固定装置
2か月前
続きを見る
他の特許を見る