TOP
|
特許
|
意匠
|
商標
特許ウォッチ
Twitter
他の特許を見る
10個以上の画像は省略されています。
公開番号
2025157845
公報種別
公開特許公報(A)
公開日
2025-10-16
出願番号
2024060130
出願日
2024-04-03
発明の名称
部品内蔵基板及び部品内蔵基板の製造方法
出願人
イビデン株式会社
代理人
弁理士法人朝日奈特許事務所
主分類
H05K
3/46 20060101AFI20251008BHJP(他に分類されない電気技術)
要約
【課題】部品内蔵基板の品質向上。
【解決手段】実施形態の部品内蔵基板100は、第1面210を有する第1絶縁層21と、第1絶縁層21の第1面210側に積層されている第2絶縁層23と、第2絶縁層23を貫通する凹部8と、凹部8の中に収容されている部品5と、第2絶縁層23の上に積層されている第3絶縁層24と、を備えている。凹部8は第3絶縁層24の構成材料で充填されている。部品5における第1絶縁層21側と反対側の表面5aは、第2絶縁層23における第1絶縁層21側と反対側の表面23aに対して、第1絶縁層21側と反対側に位置している。
【選択図】図2
特許請求の範囲
【請求項1】
第1面を有する第1絶縁層と、
前記第1絶縁層の前記第1面側に積層されている第2絶縁層と、
前記第2絶縁層を貫通する凹部と、
前記凹部の中に収容されている部品と、
前記第2絶縁層の上に積層されている第3絶縁層と、
を備える部品内蔵基板であって、
前記凹部が前記第3絶縁層の構成材料で充填されており、
前記部品における前記第1絶縁層側と反対側の表面は、前記第2絶縁層における前記第1絶縁層側と反対側の表面に対して、前記第1絶縁層側と反対側に位置している。
続きを表示(約 1,200 文字)
【請求項2】
請求項1記載の部品内蔵基板であって、さらに、前記第1絶縁層の前記第1面上に形成されている部品搭載パッドを備え、
前記部品は前記部品搭載パッドの部品搭載面に接合材を介して配置されており、
前記部品搭載パッドの部品搭載面から前記第2絶縁層の前記表面までの高さは、前記部品と前記接合材との合計の厚さよりも小さい。
【請求項3】
請求項1記載の部品内蔵基板であって、前記第2絶縁層の厚さと前記第2絶縁層上での前記第3絶縁層の厚さとの合計の厚さに対する前記第2絶縁層の厚さの比率は、0.35以上、0.5以下である。
【請求項4】
請求項1記載の部品内蔵基板であって、前記第1面の上に積層されていて前記第2絶縁層に覆われている第4絶縁層をさらに含み、
前記凹部は、前記第2絶縁層及び前記第4絶縁層を貫通している。
【請求項5】
請求項4記載の部品内蔵基板であって、
前記第2絶縁層の厚さは、前記第4絶縁層の厚さよりも小さく、且つ、前記第2絶縁層上での前記第3絶縁層の厚さよりも小さい。
【請求項6】
請求項1記載の部品内蔵基板であって、さらに、前記第3絶縁層を貫いて前記部品の電極と接続するビア導体を備え、
前記電極との界面における前記ビア導体の幅は、10μm以上、25μm以下である。
【請求項7】
請求項1記載の部品内蔵基板であって、前記第3絶縁層は、前記第2絶縁層の前記表面全体を直接覆っている。
【請求項8】
請求項7記載の部品内蔵基板であって、さらに、
前記第2絶縁層に覆われる下側導体層と、
前記第3絶縁層の上に形成されている上側導体層と、
前記第2絶縁層と前記第3絶縁層とを連続的に貫いて前記下側導体層と前記上側導体層とを接続するビア導体と、
を備えている。
【請求項9】
請求項1記載の部品内蔵基板であって、前記凹部の内壁と前記部品の側面との隙間が、50μm以上、90μm以下である。
【請求項10】
導体パッドを表面に備えた第1絶縁層を用意することと、
前記第1絶縁層の前記表面側に第2絶縁層を形成することと、
前記第2絶縁層の一部を除去することによって前記導体パッドを底面に露出させる凹部を形成することと、
前記凹部に露出する前記導体パッドに部品を配置することと、
前記第2絶縁層の上に第3絶縁層を形成することによって前記凹部の内部を前記第3絶縁層の構成材料で充填することと、
を含んでいる、部品内蔵基板の製造方法であって、
前記第2絶縁層は、前記第2絶縁層における前記第1絶縁層側と反対側の表面が、前記導体パッドに搭載される前記部品における前記導体パッド側と反対側の表面よりも前記第1絶縁層側に位置するように、形成される。
(【請求項11】以降は省略されています)
発明の詳細な説明
【技術分野】
【0001】
本発明は、部品内蔵基板及び部品内蔵基板の製造方法に関する。
続きを表示(約 2,300 文字)
【背景技術】
【0002】
特許文献1には、電子部品を内蔵する部品内蔵配線基板が開示されている。電子部品は、第1樹脂絶縁層を貫通する凹部内に収容されている。電子部品が収容された凹部は、第1樹脂絶縁層よりも上側に積層される第3樹脂絶縁層の材料で充填されている。
【先行技術文献】
【特許文献】
【0003】
特開2022-131743号公報
【発明の概要】
【発明が解決しようとする課題】
【0004】
特許文献1に開示の部品内蔵配線基板では、求められる寸法内に電子部品上の樹脂絶縁層が収まるように樹脂の供給量が制限されることがある。そのため、凹部が十分に充填されずに、例えばボイドなどが生じることがある。ボイドなどが凹部内に存在すると、そのボイドにおいて例えばマイグレーションなどが発生し、電子部品の電極間や接続パッド間のショートなどの不具合が生じることがある。
【課題を解決するための手段】
【0005】
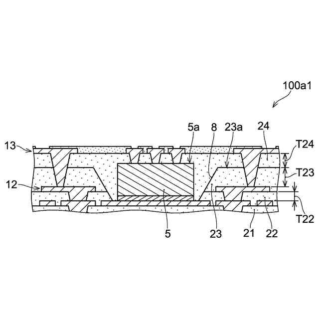
本発明の部品内蔵基板は、第1面を有する第1絶縁層と、前記第1絶縁層の前記第1面側に積層されている第2絶縁層と、前記第2絶縁層を貫通する凹部と、前記凹部の中に収容されている部品と、
前記第2絶縁層の上に積層されている第3絶縁層と、を備えている。そして、前記凹部が前記第3絶縁層の構成材料で充填されており、前記部品における前記第1絶縁層側と反対側の表面は、前記第2絶縁層における前記第1絶縁層側と反対側の表面に対して、前記第1絶縁層側と反対側に位置している。
【0006】
本発明の部品内蔵基板の製造方法は、導体パッドを表面に備えた第1絶縁層を用意することと、前記第1絶縁層の前記表面側に第2絶縁層を形成することと、前記第2絶縁層の一部を除去することによって前記導体パッドを底面に露出させる凹部を形成することと、前記凹部に露出する前記導体パッドに部品を配置することと、前記第2絶縁層の上に第3絶縁層を形成することによって前記凹部の内部を前記第3絶縁層の構成材料で充填することと、を含んでいる。そして、前記第2絶縁層は、前記第2絶縁層における前記第1絶縁層側と反対側の表面が、前記導体パッドに搭載される前記部品における前記導体パッド側と反対側の表面よりも前記第1絶縁層側に位置するように、形成される。
【0007】
本発明の実施形態によれば、部品内蔵基板において、内蔵部品を覆う絶縁層の厚さの増大を制限しながら、部品が収容される凹部の充填不足を抑制することができ、ショート不良などの不具合を抑制できることがある。
【図面の簡単な説明】
【0008】
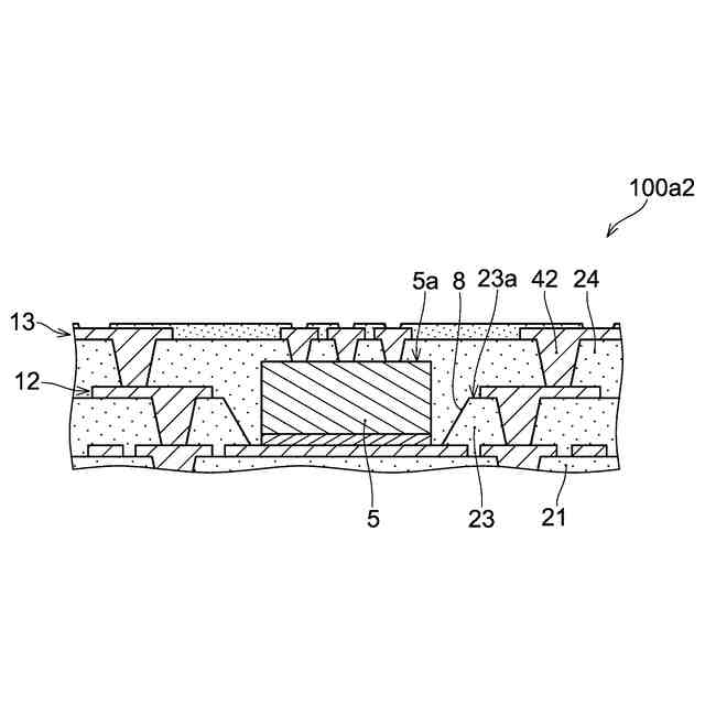
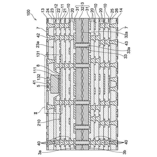
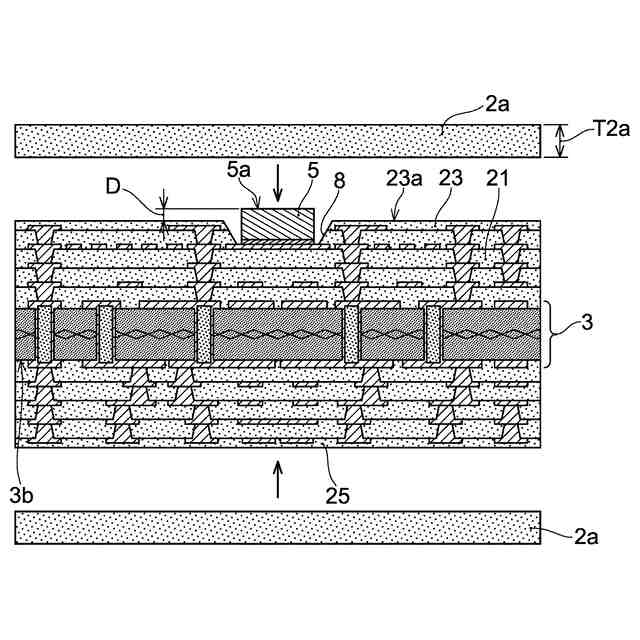
本発明の第1実施形態の部品内蔵基板の一例を示す断面図。
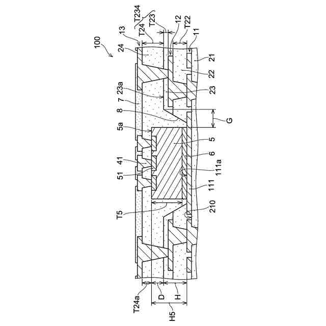
図1のII部の拡大図。
図1の部品内蔵基板の第1変形例における図1のII部の相当部分を示す断面図。
図1の部品内蔵基板の第2変形例における図1のII部の相当部分を示す断面図。
本発明の実施形態の部品内蔵基板の製造方法の一例を示す断面図。
本発明の実施形態の部品内蔵基板の製造方法の一例を示す断面図。
本発明の実施形態の部品内蔵基板の製造方法の一例を示す断面図。
本発明の実施形態の部品内蔵基板の製造方法の一例を示す断面図。
本発明の実施形態の部品内蔵基板の製造方法の一例を示す断面図。
本発明の実施形態の部品内蔵基板の製造方法の一例を示す断面図。
本発明の第2実施形態の部品内蔵基板の一例を示す断面図。
本発明の第3実施形態の部品内蔵基板の一例を示す断面図。
【発明を実施するための形態】
【0009】
<一実施形態の部品内蔵基板>
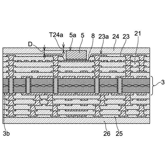
本発明の一実施形態(第1実施形態)の部品内蔵基板が図面を参照しながら説明される。図1には、本実施形態の部品内蔵基板の一例である部品内蔵基板100の断面図が示されており、図2は、図1のII部の拡大図を示している。なお、図1及び図2に示される部品内蔵基板100は実施形態の部品内蔵基板の一例に過ぎない。実施形態の部品内蔵基板の積層構造は、部品内蔵基板100の積層構造に限定されず、実施形態の部品内蔵基板の導体層及び絶縁層それぞれの数は、部品内蔵基板100に含まれる導体層及び絶縁層それぞれの数に限定されない。すなわち、実施形態の部品内蔵基板は、部品内蔵基板100が有する絶縁層及び導体層に加えて、任意の数の絶縁層及び導体層を含んでもよく、部品内蔵基板100が有する絶縁層及び導体層の全てを含まないこともある。なお、以下の説明で参照される各図面では、開示される実施形態が理解され易いように特定の部分が拡大して描かれていることがある。従って、各構成要素が、大きさや長さに関して互いの間の正確な比率で描かれていない場合がある。
【0010】
図1に示されるように、部品内蔵基板100は、コア基板3と、コア基板3におけるその厚さ方向において対向する2つの主面(表面3a及び表面3b)それぞれの上に交互に積層されている絶縁層及び導体層と、を含んでいる。コア基板3は、絶縁層32と、絶縁層32の両面それぞれの上に形成されている導体層31と、を含んでいる。コア基板3は、さらに、絶縁層32を貫通して絶縁層32の両面の導体層31同士を接続する筒状のスルーホール導体33を含んでいる。筒状のスルーホール導体33の中空部は、一例としてエポキシ樹脂などによって構成される充填材33aで充填されている。
(【0011】以降は省略されています)
この特許をJ-PlatPat(特許庁公式サイト)で参照する
関連特許
イビデン株式会社
プリント配線板
4日前
愛知電機株式会社
装柱金具
2か月前
個人
電気式バーナー
1か月前
日本精機株式会社
回路基板
今日
日星電気株式会社
面状ヒータ
25日前
個人
静電気中和除去装置
1か月前
株式会社レクザム
剥離装置
2か月前
株式会社デンソー
電子装置
2か月前
株式会社デンソー
電子装置
11日前
シャープ株式会社
加熱機器
1か月前
サクサ株式会社
開き角度規制構造
2か月前
株式会社デンソー
電子装置
1か月前
日本精機株式会社
車両表示装置用回路基板
4日前
日産自動車株式会社
電子基板
今日
富士フイルム株式会社
積層体
2か月前
日産自動車株式会社
電子機器
19日前
豊田合成株式会社
制御ユニット
11日前
TDK株式会社
接合構造
11日前
株式会社デンソー
電子制御装置
1か月前
東芝ライテック株式会社
照明装置
2か月前
センスネットシステム株式会社
回路基板
2か月前
象印マホービン株式会社
電磁調理器
6日前
象印マホービン株式会社
電磁調理器
6日前
象印マホービン株式会社
電磁調理器
6日前
マクセルイズミ株式会社
誘導加熱調理装置
1か月前
マクセルイズミ株式会社
誘導加熱調理装置
1か月前
象印マホービン株式会社
電磁調理器
6日前
矢崎総業株式会社
箱状体
1か月前
象印マホービン株式会社
電子レンジ
1か月前
矢崎総業株式会社
箱状体
1か月前
矢崎総業株式会社
箱状体
1か月前
矢崎総業株式会社
箱状体
2か月前
株式会社羽野製作所
プリント配線板
19日前
矢崎総業株式会社
箱状体
2か月前
東レ株式会社
電子部品の製造方法および樹脂組成物
1か月前
株式会社SUBARU
電波吸収体の製造方法
25日前
続きを見る
他の特許を見る