TOP
|
特許
|
意匠
|
商標
特許ウォッチ
Twitter
他の特許を見る
公開番号
2025154669
公報種別
公開特許公報(A)
公開日
2025-10-10
出願番号
2024057791
出願日
2024-03-29
発明の名称
電池パック用断熱材及び電池パック
出願人
イビデン株式会社
代理人
弁理士法人WisePlus
主分類
H01M
10/658 20140101AFI20251002BHJP(基本的電気素子)
要約
【課題】 薄肉でありながら、断熱性に優れた電池パック用断熱材を提供する。
【解決手段】 層状無機材ペーパーが積層されてなる層状無機材シートを含む電池パック用断熱材であって、少なくとも上記層状無機材ペーパー間に、厚み方向の大きさが10μm以上100μm以下の空隙を有することを特徴とする、電池パック用断熱材。
【選択図】 図1
特許請求の範囲
【請求項1】
層状無機材ペーパーが積層されてなる層状無機材シートを含む電池パック用断熱材であって、
少なくとも前記層状無機材ペーパー間に、厚み方向の大きさが10μm以上100μm以下の空隙を有することを特徴とする、電池パック用断熱材。
続きを表示(約 760 文字)
【請求項2】
さらに、前記層状無機材ペーパー内に、厚み方向の大きさが1μm以上50μm以下の空隙を有することを特徴とする、請求項1に記載の電池パック用断熱材。
【請求項3】
前記層状無機材シートの断面において、前記空隙のアスペクト比が、幅方向/厚み方向で2以上である請求項1に記載の電池パック用断熱材。
【請求項4】
前記空隙の平均占有率が、層状無機材シートの断面の1mm×1mmの区画において、5%以上70%以下である、請求項1に記載の電池パック用断熱材。
【請求項5】
前記空隙の厚み方向における平均の大きさが、層状無機材ペーパー内にある空隙よりも層状無機材ペーパー間にある空隙のほうが大きい、請求項2に記載の電池パック用断熱材。
【請求項6】
前記層状無機材ペーパーは、バーミキュライト、モンモリロナイト、バイデライト、ノントロナイト、サポナイト、ヘクトライト、スチブンサイト及びマイカからなる群から選択される少なくとも1種のケイ酸塩鉱物を含有する、請求項1に記載の電池パック用断熱材。
【請求項7】
前記層状無機材ペーパーは、マイカを含有する、請求項6に記載の電池パック用断熱材。
【請求項8】
前記層状無機材ペーパーは、厚さが0.05mm以上0.2mm以下である、請求項1に記載の電池パック用断熱材。
【請求項9】
前記層状無機材シートは、厚さが0.2mm以上2.0mm以下である、請求項1に記載の電池パック用断熱材。
【請求項10】
さらに断熱シートが前記層状無機材シートに積層されている、請求項1に記載の電池パック用断熱材。
(【請求項11】以降は省略されています)
発明の詳細な説明
【技術分野】
【0001】
本発明は、電池パック用断熱材及び該電池パック用断熱材を用いた電池パックに関する。
続きを表示(約 1,400 文字)
【背景技術】
【0002】
電気自動車やハイブリッド自動車等に使用される電池パックは複数の電池セルから構成されている。
【0003】
電池セルは、外因的要因による電池セルの内部短絡や過充電などが起因して、電池セルの高温化や火炎等が発生し、熱暴走状態に成り得る場合がある。このようにして生じた熱や火炎等が周囲に広がることで、さらに隣接する電池セルの熱暴走化を誘引し、甚大な被害をもたらす恐れがある。
【0004】
そのため電池パックには、電池セルの熱暴走による人的被害を抑えるべく、電池セル間の熱伝播を抑制する仕切り部材や、電池セルと電池ケースとの間に配置され、電池パック外への熱の伝播や火炎の放出を抑制する保護部材といった種々の安全部材が適用されている。
【0005】
マイカ等からなる層状無機材は、高い融点を有し、優れた耐火性有するので、電池パック用の安全部材として採用されている。例えば特許文献1に係る発明では、2つのマイカ層と密封袋に充填されたエアロゲル層を組み合わせ、2つのマイカ層が密封袋の外側に対向して配置される安全部材が提示されている。また、特許文献2では、マイカ層と発泡塗料とを含むことを特徴とする電池用耐火材が提示されている。
【先行技術文献】
【特許文献】
【0006】
中国実用新案第219523264号明細書
中国特許第109987884号明細書
【発明の概要】
【発明が解決しようとする課題】
【0007】
しかしながら、層状無機材は優れた耐火性を有する一方で、断熱性能が不十分であるといった特徴を有しており、特許文献1においても、マイカ層と断熱機能を有するエアロゲル層とを組み合わせることによって、断熱性能を補っている。しかしながら、電池パックの高エネルギー化を背景に、電池パックに適用される安全部材は、さらなる断熱性能の向上が求められており、安全部材の厚みを増大させたり、断熱層を複数積層させたりすることが検討されている。しかしながら、その一方で特許文献2に提示されているように、電池パックにおける安全部材の設置スペースに限りがあることから、安全部材の薄肉性も求められている。
【0008】
本発明は薄肉でありながら、断熱性に優れた電池パック用断熱材を提供することを目的とする。
また、本発明は優れた薄肉性と断熱性を有する電池パック用断熱材を含む、電池パックを提供することを目的とする。
【課題を解決するための手段】
【0009】
本発明者は、薄肉でありながら、優れた断熱性を有する断熱材を提供するため、鋭意検討を行った。その結果、本発明者らは、薄肉でありながら断熱性にも優れる電池パック用断熱材を見出だした。
【0010】
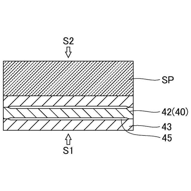
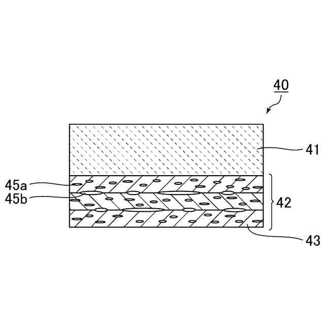
本発明の電池パック用断熱材は、層状無機材ペーパーが積層されてなる層状無機材シートを含む電池パック用断熱材であって、少なくとも上記層状無機材ペーパー間に、厚み方向の大きさが10μm以上100μm以下の空隙を有することを特徴とする。
本発明の電池パック用断熱材は、薄肉であるが、層状無機材ペーパー間に微細な空隙を有することにより、層状無機材シートが熱の伝播を抑制するため、優れた断熱効果を発揮する。
(【0011】以降は省略されています)
この特許をJ-PlatPat(特許庁公式サイト)で参照する
関連特許
イビデン株式会社
断熱材
1か月前
イビデン株式会社
断熱材
1か月前
イビデン株式会社
断熱材
1か月前
イビデン株式会社
断熱材
1か月前
イビデン株式会社
配線基板
1か月前
イビデン株式会社
配線基板
1か月前
イビデン株式会社
配線基板
1か月前
イビデン株式会社
ハニカムフィルタ
1か月前
イビデン株式会社
ワークの加工方法
19日前
イビデン株式会社
ハニカムフィルタ
1か月前
イビデン株式会社
電子部品内蔵基板
17日前
イビデン株式会社
配線基板の製造方法
1か月前
イビデン株式会社
配線基板の製造方法
1か月前
イビデン株式会社
配線基板の製造方法
1か月前
イビデン株式会社
配線基板の製造方法
1か月前
イビデン株式会社
配線基板の製造方法
1か月前
イビデン株式会社
配線基板の製造方法
1か月前
イビデン株式会社
配線基板の製造方法
1か月前
イビデン株式会社
配線基板の製造方法
1か月前
イビデン株式会社
配線基板の製造方法
1か月前
イビデン株式会社
配線基板の製造方法
10日前
イビデン株式会社
部品内蔵基板の製造方法
1か月前
イビデン株式会社
マット材及び保持シール材
1か月前
イビデン株式会社
プリント配線板の製造方法
1か月前
イビデン株式会社
プリント配線板の製造方法
1か月前
イビデン株式会社
プリント配線板の製造方法
1か月前
イビデン株式会社
プリント配線板の製造方法
1か月前
イビデン株式会社
コア基板及びその製造方法
25日前
イビデン株式会社
光導波路及び導波路搭載基板
1か月前
イビデン株式会社
熱伝達抑制シート及び組電池
1か月前
イビデン株式会社
熱伝達抑制シート及び組電池
1か月前
イビデン株式会社
電池パック用断熱材及び電池パック
1か月前
イビデン株式会社
電池パック用断熱材及び電池パック
1か月前
イビデン株式会社
配線基板および配線基板の製造方法
1か月前
イビデン株式会社
海藻の成長促進剤および海藻の養殖方法
1か月前
イビデン株式会社
部品内蔵基板及び部品内蔵基板の製造方法
1か月前
続きを見る
他の特許を見る