TOP
|
特許
|
意匠
|
商標
特許ウォッチ
Twitter
他の特許を見る
10個以上の画像は省略されています。
公開番号
2025169793
公報種別
公開特許公報(A)
公開日
2025-11-14
出願番号
2024074915
出願日
2024-05-02
発明の名称
配線基板の製造方法
出願人
イビデン株式会社
代理人
弁理士法人太陽国際特許事務所
主分類
H05K
3/46 20060101AFI20251107BHJP(他に分類されない電気技術)
要約
【課題】絶縁基板の表面側の金属膜の厚みのばらつきによる金属膜の表面の起伏を低減。
【解決手段】実施形態の配線基板の製造方法は、第1面と第1面の反対面である第2面とを備える絶縁基板と、第1面と第2面との間を貫く複数の貫通孔と、第1面及び第2面のそれぞれの上及び貫通孔の内部に形成された金属膜と、を有する積層板を用意することと、第1面及び第2面の上の金属膜の上に金属膜の表面の凹部を埋める第1樹脂層を形成することと、第1樹脂層を研磨する第1研磨を行って、金属膜の厚みが相対的に厚い部分の金属膜を部分的に露出させるとともに、金属膜の厚みが相対的に薄い部分の上に第1樹脂層を残存させることと、金属膜の厚みが相対的に薄い部分の上の第1樹脂層の上に第2樹脂層を形成することと、第2樹脂層、第1樹脂層及び金属膜を研磨する第2研磨を行って、上面が平坦な金属膜を露出させることと、を含んでいる。
【選択図】図2I
特許請求の範囲
【請求項1】
第1面と前記第1面の反対面である第2面とを備える絶縁基板と、前記第1面と前記第2面との間を貫く複数の貫通孔と、前記第1面及び前記第2面のそれぞれの上及び前記貫通孔の内部に形成された金属膜と、を有する積層板を用意することと、
前記第1面及び前記第2面の上の前記金属膜の上に、前記金属膜の表面の凹部を埋める第1樹脂層を形成することと、
前記第1樹脂層を研磨する第1研磨を行って、前記金属膜の厚みが相対的に厚い部分の前記金属膜を部分的に露出させるとともに、前記金属膜の厚みが相対的に薄い部分の上に前記第1樹脂層を残存させることと、
前記金属膜の厚みが相対的に薄い部分の上の前記第1樹脂層の上に第2樹脂層を形成することと、
前記第2樹脂層、前記第1樹脂層及び前記金属膜を研磨する第2研磨を行って、上面が平坦な前記金属膜を露出させることと、
を含んでいる、配線基板の製造方法。
続きを表示(約 920 文字)
【請求項2】
請求項1に記載の配線基板の製造方法であって、前記積層板を用意することは、
前記絶縁基板の単位面積当たりの前記貫通孔の数が多い高密度部と、前記絶縁基板の単位面積当たりの前記貫通孔の数が少ない低密度部と、を形成することと、
前記高密度部に対応する金属膜を相対的に薄くし、前記低密度部に対応する金属膜を相対的に厚くすることと、を含んでいる。
【請求項3】
請求項2に記載の配線基板の製造方法であって、前記積層板を用意することは、平面視にて前記絶縁基板の中央部に前記高密度部を形成し、前記絶縁基板の端部側に前記低密度部を形成することを含んでいる。
【請求項4】
請求項1に記載の配線基板の製造方法であって、前記第2樹脂層を形成することは、前記金属膜の厚みが相対的に薄い部分を開口させたマスク印刷により前記金属膜の厚みが相対的に薄い部分の前記第1樹脂層の上に前記第2樹脂層を形成することを含んでいる。
【請求項5】
請求項1に記載の配線基板の製造方法であって、前記第2樹脂層を形成することと、前記第2研磨を行うこととは、前記第1面の側と前記第2面の側の片面ずつ行うことを含んでいる。
【請求項6】
請求項5に記載の配線基板の製造方法であって、
前記第1面の側の前記第1樹脂層の上に前記第2樹脂層を形成することと、
前記第1面の側の前記第2樹脂層、前記第1樹脂層及び前記金属膜を研磨する前記第2研磨を行って、上面が平坦な前記金属膜を露出させることと、
前記第2面の側の前記第1樹脂層の上に前記第2樹脂層を形成することと、
前記第2面の側の前記第2樹脂層、前記第1樹脂層及び前記金属膜を研磨する前記第2研磨を行って、上面が平坦な前記金属膜を露出させることと、
を上記の順番で行うことを含んでいる。
【請求項7】
請求項1に記載の配線基板の製造方法であって、前記第1樹脂層を形成することは、前記第1樹脂層を構成する第1樹脂を、前記金属膜を表面に有する前記貫通孔の内部に充填することを含んでいる。
発明の詳細な説明
【技術分野】
【0001】
本開示する技術は、配線基板の製造方法に関する。
続きを表示(約 2,700 文字)
【背景技術】
【0002】
特許文献1には、多数のスルーホールを有するコア基板の上下面に、ビルドアップ絶縁層とビルドアップ配線層とを交互に積層してなり、上面中央部に多数の半導体素子接続パッドが格子状の並びに配列された半導体素子接続パッド領域を有する配線基板が開示されている。この配線基板には、コア基板における半導体素子接続パッド形成領域に対向する中央部に第1スルーホール群が第1配列密度で配列された第1領域と、コア基板の外周部で第2スルーホール群が第1配列密度より低い第2配列密度で配列された第2領域とが設けられている。
【先行技術文献】
【特許文献】
【0003】
特開2014-192432号公報
【発明の概要】
【発明が解決しようとする課題】
【0004】
特許文献1に開示の配線基板では、コア基板にスルーホール群の配列密度が異なる第1領域と第2領域とが設けられていると、配列密度の差により、コア基板の表面の金属膜の厚みに差が生じやすい。例えば、スルーホール群の配列密度が高い第1領域では、金属膜の厚みが第2領域の金属膜の厚みより薄くなりやすい。金属膜の厚みに差があると、実装部品と配線基板との接続信頼性が低下することがある。
【課題を解決するための手段】
【0005】
本開示の配線基板の製造方法は、第1面と前記第1面の反対面である第2面とを備える絶縁基板と、前記第1面と前記第2面との間を貫く複数の貫通孔と、前記第1面及び前記第2面のそれぞれの上及び前記貫通孔の内部に形成された金属膜と、を有する積層板を用意することと、前記第1面及び前記第2面の上の前記金属膜の上に、前記金属膜の表面の凹部を埋める第1樹脂層を形成することと、前記第1樹脂層を研磨する第1研磨を行って、前記金属膜の厚みが相対的に厚い部分の前記金属膜を部分的に露出させるとともに、前記金属膜の厚みが相対的に薄い部分の上に前記第1樹脂層を残存させることと、前記金属膜の厚みが相対的に薄い部分の上の前記第1樹脂層の上に第2樹脂層を形成することと、前記第2樹脂層、前記第1樹脂層及び前記金属膜を研磨する第2研磨を行って、上面が平坦な前記金属膜を露出させることと、を含んでいる。
【0006】
本開示の実施形態によれば、絶縁基板の表面側の金属膜の厚みのばらつきによる金属膜の表面の起伏を小さくすることができる。そのため、金属膜を含む配線基板と実装部品との接続信頼性の低下を抑え得る。
【図面の簡単な説明】
【0007】
本開示の第一実施形態の配線基板の製造方法によって製造される配線基板の一例を示す断面図である。
本開示の第一実施形態の配線基板の製造方法の一例を示す断面図である。
本開示の第一実施形態の配線基板の製造方法の一例を示す断面図である。
本開示の第一実施形態の配線基板の製造方法の一例を示す平面図である。
本開示の第一実施形態の配線基板の製造方法の一例を示す断面図である。
本開示の第一実施形態の配線基板の製造方法の一例を示す断面図である。
本開示の第一実施形態の配線基板の製造方法の一例を示す平面図である。
本開示の第一実施形態の配線基板の製造方法の一例を示す断面図である。
本開示の第一実施形態の配線基板の製造方法の一例を示す断面図である。
本開示の第一実施形態の配線基板の製造方法の一例を示す断面図である。
本開示の第一実施形態の配線基板の製造方法の一例を示す断面図である。
本開示の第一実施形態の配線基板の製造方法の一例を示す断面図である。
本開示の第一実施形態の配線基板の製造方法の一例を示す断面図である。
本開示の第一実施形態の配線基板の製造方法の一例を示す断面図である。
本開示の第一実施形態の配線基板の製造方法の一例を示す断面図である。
本開示の第一実施形態の配線基板の製造方法の一例を示す断面図である。
本開示の第一実施形態の配線基板の製造方法の一例を示す断面図である。
本開示の第二実施形態の配線基板の製造方法の一例を示す断面図である。
本開示の第二実施形態の配線基板の製造方法の一例を示す断面図である。
【発明を実施するための形態】
【0008】
以下、図面を参照して本開示の実施形態の一例を説明する。
【0009】
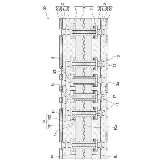
図1は、第一実施形態の配線基板の製造方法によって製造される配線基板の一例である配線基板100を示す断面図である。第一実施形態の理解を容易にするために、先ず配線基板100の構造が説明される。なお、配線基板100は第一実施形態の配線基板の製造方法(以下、単に「第一実施形態の方法」とも称される)によって製造される配線基板の一例に過ぎない。第一実施形態の方法によって製造される配線基板の積層構造、並びに、導体層及び絶縁層それぞれの数は、図1の配線基板100の積層構造、並びに配線基板100に含まれる導体層及び絶縁層それぞれの数に限定されない。また、以下の説明で参照される各図面では、開示される実施形態が理解され易いように特徴部が拡大して描かれていることがあり、大きさや長さについて、各構成要素が、それぞれの間の正確な比率で描かれていない場合がある。
【0010】
図1に示されるように、配線基板100は、コア基板1と、コア基板1の両面それぞれに積層されているビルドアップ層2と、各ビルドアップ層2の上に形成されているソルダーレジスト3とを含んでいる。コア基板1は、第1面1a及びその反対面である第2面1bを有する絶縁層10と、第1面1a及び第2面1bそれぞれの上に形成されている導体層11とを含んでいる。絶縁層10は、例えばガラス繊維やアラミド不織布などで形成される補強材10aを含んでいる。絶縁層10には、その両面の導体層11同士を接続するスルーホール導体16が形成されている。スルーホール導体16の内部は、エポキシ樹脂などを含む充填体17によって充填されている。導体層11は、多層構造を有しており、絶縁層10側から順に積層されている金属箔12、下層金属膜131及び上層金属膜132を含む金属膜13(第1金属膜)、及び金属膜15(第2金属膜)を含んでいる。これら各金属膜がさらに多層構造を有していてもよい。
(【0011】以降は省略されています)
この特許をJ-PlatPat(特許庁公式サイト)で参照する
関連特許
イビデン株式会社
断熱材
1か月前
イビデン株式会社
断熱材
1か月前
イビデン株式会社
断熱材
1か月前
イビデン株式会社
断熱材
1か月前
イビデン株式会社
配線基板
1か月前
イビデン株式会社
配線基板
1か月前
イビデン株式会社
配線基板
1か月前
イビデン株式会社
電子部品内蔵基板
10日前
イビデン株式会社
ワークの加工方法
12日前
イビデン株式会社
ハニカムフィルタ
1か月前
イビデン株式会社
ハニカムフィルタ
1か月前
イビデン株式会社
配線基板の製造方法
3日前
イビデン株式会社
配線基板の製造方法
1か月前
イビデン株式会社
配線基板の製造方法
1か月前
イビデン株式会社
配線基板の製造方法
1か月前
イビデン株式会社
配線基板の製造方法
1か月前
イビデン株式会社
配線基板の製造方法
1か月前
イビデン株式会社
配線基板の製造方法
1か月前
イビデン株式会社
配線基板の製造方法
1か月前
イビデン株式会社
配線基板の製造方法
1か月前
イビデン株式会社
配線基板の製造方法
1か月前
イビデン株式会社
部品内蔵基板の製造方法
24日前
イビデン株式会社
マット材及び保持シール材
1か月前
イビデン株式会社
配線基板及びその製造方法
1か月前
イビデン株式会社
配線基板及びその製造方法
1か月前
イビデン株式会社
コア基板及びその製造方法
18日前
イビデン株式会社
プリント配線板の製造方法
1か月前
イビデン株式会社
プリント配線板の製造方法
1か月前
イビデン株式会社
プリント配線板の製造方法
1か月前
イビデン株式会社
プリント配線板の製造方法
27日前
イビデン株式会社
熱伝達抑制シート及び組電池
1か月前
イビデン株式会社
熱伝達抑制シート及び組電池
1か月前
イビデン株式会社
光導波路及び導波路搭載基板
1か月前
イビデン株式会社
配線基板および配線基板の製造方法
1か月前
イビデン株式会社
電池パック用断熱材及び電池パック
1か月前
イビデン株式会社
配線基板および配線基板の製造方法
1か月前
続きを見る
他の特許を見る