TOP
|
特許
|
意匠
|
商標
特許ウォッチ
Twitter
他の特許を見る
10個以上の画像は省略されています。
公開番号
2025145379
公報種別
公開特許公報(A)
公開日
2025-10-03
出願番号
2024045524
出願日
2024-03-21
発明の名称
配線基板の製造方法
出願人
イビデン株式会社
代理人
弁理士法人朝日奈特許事務所
主分類
H05K
3/46 20060101AFI20250926BHJP(他に分類されない電気技術)
要約
【課題】配線基板の製造における歩留まりの向上。
【解決手段】実施形態の配線基板の製造方法は、支持基板SP上に第1絶縁層11および第1導体層12を含む第1ビルドアップ部10を形成することと、第1ビルドアップ部10上に第2絶縁層21および第2導体層22を含む第2ビルドアップ部20を形成する工程と、を含んでいる。第1導体層12の形成は第1金属膜層121上に第1レジストパターンを形成することを含み、第1導体層12および第2導体層22は、第1導体層11における配線FWの幅の最小値が第2導体層22における配線の幅の最小値より小さく、第1導体層12における配線の間隔の最小値が第2導体層22における配線の間隔の最小値よりも小さいように形成され、第1金属膜層121を形成することは第1絶縁層11上にスパッタ膜を形成することを含み、第1レジストパターンはダイレクトイメージング露光によって形成される。
【選択図】図2P
特許請求の範囲
【請求項1】
1または複数の製品エリアを備える支持基板上に、前記1または複数の製品エリアに亘って第1導体層および第1絶縁層を交互に積層することにより、第1ビルドアップ部を形成することと、
前記第1ビルドアップ部の前記支持基板と反対側に、第2導体層および第2絶縁層を交互に積層することにより、第2ビルドアップ部を形成することと、
を含む、配線基板の製造方法であって、
前記第1導体層を積層することは、前記第1絶縁層上に第1金属膜層を形成することと、前記第1金属膜層上に第1レジストパターンを有する第1レジスト層を形成することと、前記第1金属膜層を給電層として前記第1レジストパターンに従う第1めっき膜層を形成することと、を含み、
前記第1導体層および前記第2導体層は、前記第1導体層に含まれる配線における配線幅の最小値が前記第2導体層に含まれる配線における配線幅の最小値より小さく、前記第1導体層に含まれる配線における配線間隔の最小値が前記第2導体層に含まれる配線における配線間隔の最小値よりも小さいように形成され、
前記第1金属膜層を形成することは、スパッタリングにより前記第1絶縁層上にスパッタ膜を形成することを含み、
前記第1レジストパターンを有する第1レジスト層を形成することは、ダイレクトイメージング露光によって前記第1レジスト層を露光することを含む。
続きを表示(約 1,000 文字)
【請求項2】
請求項1記載の配線基板の製造方法であって、前記スパッタ膜を形成することは、前記第1絶縁層に接する下層を形成することと、前記下層を被覆する上層を形成することと、を含む。
【請求項3】
請求項2記載の配線基板の製造方法であって、前記下層を形成することは銅の含有量が90wt%以上である銅合金の膜をスパッタリングにより形成することを含み、前記上層を形成することは銅の膜をスパッタリングにより形成することを含む。
【請求項4】
請求項1記載の配線基板の製造方法であって、
前記第2導体層を積層することは、前記第2絶縁層上に無電解めっきにより第2金属膜層を形成することと、前記第2金属膜層上に第2レジストパターンを有する第2レジスト層を形成することと、前記第2金属膜層を給電層として前記第2レジストパターンに従う第2めっき膜層を形成することと、を含み、
前記第2レジストパターンを有する第2レジスト層を形成することは、フォトマスクを使用して第2レジスト層を露光することを含む。
【請求項5】
請求項1記載の配線基板の製造方法であって、各前記製品エリアの形状は、平面視において各辺の寸法が80mm以上、かつ、240mm以下の矩形である。
【請求項6】
請求項1記載の配線基板の製造方法であって、前記支持基板の表面の平面度は、±2.5μm以下である。
【請求項7】
請求項1記載の配線基板の製造方法であって、前記支持基板が、ガラス基板、シリコン基板、メタル基板、セラミックス基板のいずれかから選ばれる。
【請求項8】
請求項1記載の配線基板の製造方法であって、前記第1導体層は、アスペクト比が2.0以上、かつ、4.0以下の配線を含むように形成される。
【請求項9】
請求項1記載の配線基板の製造方法であって、前記第1導体層を積層することは、前記第1導体層に含まれる配線における配線幅の最小値を2μm以下、配線における配線間隔の最小値を2μm以下に形成することを含む。
【請求項10】
請求項1記載の配線基板の製造方法であって、前記第2ビルドアップ部の前記第1ビルドアップ部と反対側に、第3絶縁層および第3導体層を交互に積層することにより第3ビルドアップ部を形成する工程をさらに含んでいる。
発明の詳細な説明
【技術分野】
【0001】
本発明は配線基板の製造方法に関する。
続きを表示(約 2,800 文字)
【背景技術】
【0002】
特許文献1には、第二配線基板と第一配線基板とを備える配線基板の製造方法が開示されている。第一配線基板は支持基板上への絶縁樹脂および配線層の積層によって形成される。第二配線基板は第一配線基板と別に製造され、第一配線基板と第二配線基板とが接合される。
【先行技術文献】
【特許文献】
【0003】
特開2020-4926号公報
【発明の概要】
【発明が解決しようとする課題】
【0004】
特許文献1に開示の配線基板の製造方法では、比較的微細な配線層がレジストパターンに従う配線パターンに形成される第一配線基板と第二配線基板とはバンプを介して接合される必要があり、第一配線基板と第二配線基板との間には絶縁樹脂が充填される必要がある。
【課題を解決するための手段】
【0005】
本発明の配線基板の製造方法は、1または複数の製品エリアを備える支持基板上に、前記1または複数の製品エリアに亘って第1導体層および第1絶縁層を交互に積層することにより、第1ビルドアップ部を形成することと、前記第1ビルドアップ部の前記支持基板と反対側に、第2導体層および第2絶縁層を交互に積層することにより、第2ビルドアップ部を形成することと、を含んでいる。前記第1導体層を積層することは、前記第1絶縁層上に第1金属膜層を形成することと、前記第1金属膜層上に第1レジストパターンを有する第1レジスト層を形成することと、前記第1金属膜層を給電層として前記第1レジストパターンに従う第1めっき膜層を形成することと、を含み、前記第1導体層および前記第2導体層は、前記第1導体層に含まれる配線における配線幅の最小値が前記第2導体層に含まれる配線における配線幅の最小値より小さく、前記第1導体層に含まれる配線における配線間隔の最小値が前記第2導体層に含まれる配線における配線間隔の最小値よりも小さいように形成され、前記第1金属膜層を形成することは、スパッタリングにより前記第1絶縁層上にスパッタ膜を形成することを含み、前記第1レジストパターンを有する第1レジスト層を形成することは、ダイレクトイメージング露光によって前記第1レジスト層を露光することを含む。
【0006】
本発明の実施形態によれば、精密に形成された配線を含む第1ビルドアップ部と、第1ビルドアップ部とは配線密度の異なる第2ビルドアップ部とを含む配線基板が、歩留まりよく提供され得る。
【図面の簡単な説明】
【0007】
本発明の一実施形態の製造方法で製造される配線基板の一例を示す断面図。
本発明の一実施形態である配線基板の製造方法の一例を示す図。
本発明の一実施形態である配線基板の製造方法の一例を示す図。
本発明の一実施形態である配線基板の製造方法の一例を示す図。
本発明の一実施形態である配線基板の製造方法の一例を示す図。
本発明の一実施形態である配線基板の製造方法の一例を示す図。
本発明の一実施形態である配線基板の製造方法の一例を示す図。
本発明の一実施形態である配線基板の製造方法の一例を示す図。
本発明の一実施形態である配線基板の製造方法の一例を示す図。
本発明の一実施形態である配線基板の製造方法の一例を示す図。
本発明の一実施形態である配線基板の製造方法の一例を示す図。
本発明の一実施形態である配線基板の製造方法の一例を示す図。
本発明の一実施形態である配線基板の製造方法の一例を示す図。
本発明の一実施形態である配線基板の製造方法の一例を示す図。
本発明の一実施形態である配線基板の製造方法の一例を示す図。
本発明の一実施形態である配線基板の製造方法の一例を示す図。
本発明の一実施形態である配線基板の製造方法の一例を示す図。
本発明の一実施形態である配線基板の製造方法の一例を示す図。
【発明を実施するための形態】
【0008】
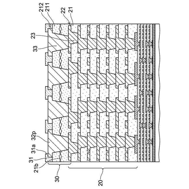
一実施形態の配線基板の製造方法が図面を参照しながら説明される。図1は、一実施形態の製造方法によって製造される配線基板の一例である配線基板1を示す断面図である。なお、配線基板1は製造される配線基板の一例に過ぎない。製造される配線基板の積層構造、ならびに、導体層および絶縁層それぞれの数は、図1の配線基板1の積層構造、ならびに配線基板1に含まれる導体層および絶縁層それぞれの数に限定されない。また、参照される図面においては、各構成要素の正確な比率を示すことは意図されておらず、本発明の特徴が理解され易いように描かれている。
【0009】
配線基板1は、交互に積層された複数の導体層および絶縁層によってそれぞれ構成される第1ビルドアップ部10および第2ビルドアップ部20を含む積層構造を有している。図1に示されるように、配線基板1は、第2ビルドアップ部20の第1ビルドアップ部10側と反対側に、絶縁層およびその上に積層された導体層から構成される第3ビルドアップ部30をさらに含んでいてもよい。配線基板1は、その厚さ方向と直交する2つの表面(第1面1Fおよび第1面1Fと反対側の第2面1B)を有している。図1に示されるように、第1ビルドアップ部10の表面(第1面10F)が第1面1Fを構成している。配線基板1が第3ビルドアップ部30を有する場合、第2面1Bは、第3ビルドアップ部30の表面(第2面30B)により構成され得る。なお、第3ビルドアップ部30が形成されず、配線基板が第1ビルドアップ部10および第2ビルドアップ部20によって構成される場合、第2面1Bは、第2ビルドアップ部20の表面(第2面20B)により構成され得る。配線基板1は、コア層を含まないコアレス配線基板として形成されている。
【0010】
第1ビルドアップ部10は比較的微細な配線を含んでおり、比較的密度の高い回路配線を有し得る。図1の例では、第1ビルドアップ部10は、交互に積層される絶縁層(第1絶縁層)11と導体層(第1導体層)12とを有している。一層の第1絶縁層11を挟んで対向する導体層12同士はビア導体(第1ビア導体)13によって接続されている。第1導体層12は、所定の導体パターンを有するようにパターニングされている。第1ビルドアップ部10の第1面10Fは、第1導体層12の表面(上面)および導体層12のパターンから露出する第1絶縁層11の表面(上面)によって構成されている。図示の例では、第1面10Fを構成する導体層12は複数の導体パッド12pを有するパターンに形成されている。
(【0011】以降は省略されています)
この特許をJ-PlatPat(特許庁公式サイト)で参照する
関連特許
イビデン株式会社
断熱材
1か月前
イビデン株式会社
断熱材
1か月前
イビデン株式会社
断熱材
1か月前
イビデン株式会社
断熱材
1か月前
イビデン株式会社
配線基板
1か月前
イビデン株式会社
電子部品内蔵基板
22日前
イビデン株式会社
ワークの加工方法
24日前
イビデン株式会社
配線基板の製造方法
15日前
イビデン株式会社
部品内蔵基板の製造方法
1か月前
イビデン株式会社
プリント配線板の製造方法
1か月前
イビデン株式会社
マット材及び保持シール材
1か月前
イビデン株式会社
コア基板及びその製造方法
1か月前
イビデン株式会社
熱伝達抑制シート及び組電池
1か月前
イビデン株式会社
配線基板および配線基板の製造方法
1か月前
イビデン株式会社
電池パック用断熱材及び電池パック
1か月前
イビデン株式会社
電池パック用断熱材及び電池パック
1か月前
イビデン株式会社
海藻の成長促進剤および海藻の養殖方法
1か月前
イビデン株式会社
部品内蔵基板及び部品内蔵基板の製造方法
1か月前
イビデン株式会社
コイル基板、モータ用コイル基板、及びモータ
1日前
イビデン株式会社
プリント配線板、及びプリント配線板の製造方法
22日前
イビデン株式会社
熱伝達抑制シート及びその製造方法、並びに組電池
1か月前
イビデン株式会社
SiC単結晶製造装置及びSiC単結晶の製造方法
1か月前
イビデン株式会社
熱伝達抑制シート及びその製造方法、並びに組電池
1か月前
イビデン株式会社
多層プリント配線板および多層プリント配線板の製造方法
25日前
イビデン株式会社
浸透促進剤
1日前
個人
電子部品の実装方法
1か月前
個人
非衝突型ガウス加速器
3か月前
愛知電機株式会社
装柱金具
1か月前
個人
電気式バーナー
1か月前
日本精機株式会社
回路基板
2か月前
日星電気株式会社
面状ヒータ
15日前
キヤノン株式会社
電子機器
2か月前
アイホン株式会社
電気機器
2か月前
日本放送協会
基板固定装置
2か月前
イビデン株式会社
配線基板
1か月前
個人
節電材料
3か月前
続きを見る
他の特許を見る