TOP
|
特許
|
意匠
|
商標
特許ウォッチ
Twitter
他の特許を見る
10個以上の画像は省略されています。
公開番号
2025117097
公報種別
公開特許公報(A)
公開日
2025-08-12
出願番号
2024011780
出願日
2024-01-30
発明の名称
配線基板
出願人
イビデン株式会社
代理人
個人
,
個人
主分類
H05K
3/46 20060101AFI20250804BHJP(他に分類されない電気技術)
要約
【課題】コア基板上の導電層同士を接続する、新たな接続方法を提供する。
【解決手段】キャビティを有するコア基板と、前記コア基板の表裏に積層され、導電層を含むビルドアップ層と、前記キャビティに収容され、複数の導電層と複数の絶縁層とが、前記コア基板の厚さ方向と直交する方向で交互に並ぶサブ基板と、前記サブ基板に含まれ、前記ビルドアップ層の前記導電層と接続される複数の直線導体と、を備え、前記直線導体同士の間隔が前記スルーホール導体同士の間隔よりも小さくなっている配線基板。
【選択図】図1
特許請求の範囲
【請求項1】
キャビティを有するコア基板と、
前記コア基板を貫通する複数のスルーホール導体と、
前記コア基板の表裏に積層され、導電層を含むビルドアップ層と、
前記キャビティに収容され、複数の導電層と複数の絶縁層とが、前記コア基板の厚さ方向と直交する方向で交互に並ぶサブ基板と、
前記サブ基板に含まれ、前記ビルドアップ層の前記導電層と接続される複数の直線導体と、を備え、
前記直線導体同士の間隔が前記スルーホール導体同士の間隔よりも小さくなっている配線基板。
続きを表示(約 510 文字)
【請求項2】
請求項1に記載の配線基板であって、
各前記直線導体は、前記サブ基板の導電層内で、前記コア基板の厚さ方向に直線状に延びている。
【請求項3】
請求項1に記載の配線基板であって、
前記ビルドアップ層に含まれる絶縁層を貫通し、前記ビルドアップ層の前記導電層と前記直線導体とを接続するビア導体を備え、
前記直線導体の端面が前記ビア導体の下端より大きくなっている。
【請求項4】
請求項1に記載の配線基板であって、
前記キャビティの内側面と前記サブ基板との間に、前記ビルドアップ層に含まれる絶縁層の一部が充填されている。
【請求項5】
請求項1に記載の配線基板であって、
前記コア基板は表裏にコア導電層を備え、
前記サブ基板の端面は、前記コア導電層の上面と同一平面上に位置している。
【請求項6】
請求項1から5の何れか1の請求項に記載の配線基板であって、
前記スルーホール導体は、前記コア基板を貫通する貫通孔の内面を被覆し、
前記スルーホール導体の内部には樹脂が充填されている。
発明の詳細な説明
【技術分野】
【0001】
本開示はコア基板を有する配線基板に関する。
続きを表示(約 1,600 文字)
【背景技術】
【0002】
従来の配線基板として、コア基板の表裏の導電層同士を接続する導体を有するものが知られている(例えば、特許文献1参照)。
【先行技術文献】
【特許文献】
【0003】
特開2023-20516号公報(段落[0011]、図1D)
【発明の概要】
【発明が解決しようとする課題】
【0004】
この種の配線基板では、コア基板の表裏を接続する導体がコア基板内に高密度に存在する領域と低密度にしか存在しない領域が含まれる場合でも、コア基板上の導電層の厚みのばらつきを抑制することが求められている。
【課題を解決するための手段】
【0005】
本開示の配線基板は、キャビティを有するコア基板と、前記コア基板を貫通する複数のスルーホール導体と、前記コア基板の表裏に積層され、導電層を含むビルドアップ層と、前記キャビティに収容され、複数の導電層と複数の絶縁層とが、前記コア基板の厚さ方向と直交する方向で交互に並ぶサブ基板と、前記サブ基板に含まれ、前記ビルドアップ層の前記導電層と接続される複数の直線導体と、を備え、前記直線導体同士の間隔が前記スルーホール導体同士の間隔よりも小さくなっている配線基板である。
【図面の簡単な説明】
【0006】
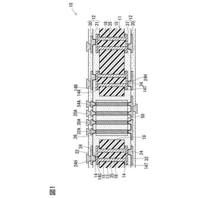
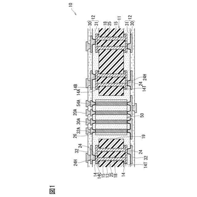
図1は、本開示の一実施形態に係る配線基板の断面図
図2は、サブ基板の斜視図
図3Aは、サブ基板の製造方法を示す断面図、図3Bは、サブ基板の製造方法を示す断面図
図4Aは、サブ基板の製造方法を示す断面図、図4Bは、サブ基板の製造方法を示す断面図
図5Aは、配線基板の製造方法を示す断面図、図5Bは、配線基板の製造方法を示す断面図、図5Cは、配線基板の製造方法を示す断面図
図6Aは、配線基板の製造方法を示す断面図、図6Bは、配線基板の製造方法を示す断面図、図6Cは、配線基板の製造方法を示す断面図
図7Aは、配線基板の製造方法を示す断面図、図7Bは、配線基板の製造方法を示す断面図、図7Cは、配線基板の製造方法を示す断面図
図8Aは、配線基板の製造方法を示す断面図、図8Bは、配線基板の製造方法を示す断面図、図8Cは、配線基板の製造方法を示す断面図
図9Aは、配線基板の製造方法を示す断面図、図9Bは、配線基板の製造方法を示す断面図
【発明を実施するための形態】
【0007】
[第1実施形態]
以下、図1~図9を参照して第1実施形態の配線基板10について説明する。図1に示すように、配線基板10は、コア基板11の表裏に、ビルドアップ部12を有する構造になっている。
【0008】
ビルドアップ部12は、コア基板11の表裏に積層される層間絶縁層31及び導電層30を有する。各層間絶縁層31は、心材を有さず、例えば無機フィラーを含む熱硬化性樹脂からなるビルドアップ基板用の絶縁フィルム等で形成される。なお、ビルドアップ部12は、層間絶縁層31及び導電層30を、交互に複数ずつ有していてもよい。
【0009】
各導電層30は、各層間絶縁層31の上に所定パターンに形成されている。また、導電層30はソルダーレジスト層32に覆われている。そして、導電層30のうちソルダーレジスト層32に形成された開口32Aから露出する部分は、パッド30Aになっていて、パッド30A上には、図示しない電子部品を実装するための金属ポスト20Aが形成されている。
【0010】
図1に示すように、コア基板11は、絶縁性基材13と、その表裏の両面に形成されているコア導電層14と、を有している。絶縁性基材13は、例えば、プリプレグ(ガラスクロス等の繊維からなる心材を樹脂含侵してなるBステージの樹脂シート)により構成されている。
(【0011】以降は省略されています)
この特許をJ-PlatPat(特許庁公式サイト)で参照する
関連特許
イビデン株式会社
断熱材
23日前
イビデン株式会社
断熱材
23日前
イビデン株式会社
断熱材
23日前
イビデン株式会社
断熱材
23日前
イビデン株式会社
配線基板
25日前
イビデン株式会社
配線基板
24日前
イビデン株式会社
ハニカムフィルタ
1か月前
イビデン株式会社
ハニカムフィルタ
26日前
イビデン株式会社
配線基板の製造方法
1か月前
イビデン株式会社
配線基板の製造方法
1か月前
イビデン株式会社
配線基板の製造方法
1か月前
イビデン株式会社
配線基板の製造方法
1か月前
イビデン株式会社
配線基板の製造方法
1か月前
イビデン株式会社
配線基板の製造方法
25日前
イビデン株式会社
配線基板の製造方法
25日前
イビデン株式会社
配線基板の製造方法
25日前
イビデン株式会社
配線基板の製造方法
25日前
イビデン株式会社
部品内蔵基板の製造方法
9日前
イビデン株式会社
マット材及び保持シール材
24日前
イビデン株式会社
プリント配線板の製造方法
25日前
イビデン株式会社
プリント配線板の製造方法
12日前
イビデン株式会社
プリント配線板の製造方法
25日前
イビデン株式会社
コア基板及びその製造方法
3日前
イビデン株式会社
プリント配線板の製造方法
25日前
イビデン株式会社
熱伝達抑制シート及び組電池
23日前
イビデン株式会社
熱伝達抑制シート及び組電池
1か月前
イビデン株式会社
光導波路及び導波路搭載基板
1か月前
イビデン株式会社
電池パック用断熱材及び電池パック
23日前
イビデン株式会社
配線基板および配線基板の製造方法
19日前
イビデン株式会社
電池パック用断熱材及び電池パック
23日前
イビデン株式会社
海藻の成長促進剤および海藻の養殖方法
9日前
イビデン株式会社
部品内蔵基板及び部品内蔵基板の製造方法
17日前
イビデン株式会社
SiC単結晶製造装置及びSiC単結晶の製造方法
18日前
イビデン株式会社
熱伝達抑制シート及びその製造方法、並びに組電池
23日前
イビデン株式会社
熱伝達抑制シート及びその製造方法、並びに組電池
23日前
イビデン株式会社
ボール状部材搭載マスク及びボール状部材の搭載方法
26日前
続きを見る
他の特許を見る