TOP
|
特許
|
意匠
|
商標
特許ウォッチ
Twitter
他の特許を見る
10個以上の画像は省略されています。
公開番号
2025155374
公報種別
公開特許公報(A)
公開日
2025-10-14
出願番号
2024059179
出願日
2024-04-01
発明の名称
配線基板および配線基板の製造方法
出願人
イビデン株式会社
代理人
弁理士法人朝日奈特許事務所
主分類
H05K
3/46 20060101AFI20251006BHJP(他に分類されない電気技術)
要約
【課題】絶縁層と良好に密着し伝送損失の比較的少ない導体を含む配線基板の提供。
【解決手段】実施形態の配線基板1は、第1面110Aおよび第1面110Aと反対側の第2面110Bを有する絶縁層110と、絶縁層110を第1面110Aから第2面110Bにかけて貫通する貫通孔110vhと、貫通孔110vhを充填する貫通導体13と、第1面110A上に貫通導体13と一体的に形成される導体部130と、を有している。第1面110Aは、貫通孔110vhの周縁を含む第1領域110AR1と、第1領域110AR1以外の第2領域110AR2と、を有し、第1領域110AR1の表面粗さは、第2領域110AR2の表面粗さよりも大きく、導体部130は、第1領域110AR1の全域および第2領域110AR2の一部に接している。
【選択図】図2
特許請求の範囲
【請求項1】
第1面および前記第1面と反対側の第2面を有する絶縁層と、
前記絶縁層を前記第1面から前記第2面にかけて貫通する貫通孔と、
前記貫通孔を充填する貫通導体と、
前記第1面上に前記貫通導体と一体的に形成される導体部と、
を有する配線基板であって、
前記第1面は、前記貫通孔の周縁を含む第1領域と、前記第1領域以外の第2領域と、を有し、
前記第1領域の表面粗さは、前記第2領域の表面粗さよりも大きく、
前記導体部は、前記第1領域の全域および前記第2領域の一部に接している。
続きを表示(約 990 文字)
【請求項2】
請求項1記載の配線基板であって、前記第1領域は、前記貫通孔の周縁からの拡がりが1.5μm以上、且つ、8.0μm以下である領域に形成されている。
【請求項3】
請求項1記載の配線基板であって、前記貫通孔の内壁面の表面粗さが、前記第1領域の表面粗さよりも小さい。
【請求項4】
請求項1記載の配線基板であって、前記第2領域の表面粗さは、前記貫通孔の内壁面の表面粗さよりも小さい。
【請求項5】
請求項1記載の配線基板であって、前記第1領域の算術平均粗さは、0.35μm以上、且つ、0.8μm以下である。
【請求項6】
請求項1記載の配線基板であって、前記第2領域の算術平均粗さは、0.05μm以上、且つ、0.5μm以下である。
【請求項7】
請求項1記載の配線基板であって、前記貫通孔の内壁面の算術平均粗さは、0.15μm以上、且つ、0.6μm以下である。
【請求項8】
請求項1記載の配線基板であって、前記貫通孔の前記第1面における径は、7μm以上、且つ、18μm以下である。
【請求項9】
請求項1記載の配線基板であって、前記貫通導体と一体的に形成される前記導体部がランドとして形成されており、前記導体部の平面視での外縁における最も離間する2点間の直線距離は、14μm以上、且つ、25μm以下である。
【請求項10】
第1面および前記第1面と反対側の第2面を有し、前記第1面上に保護膜を備える絶縁層を用意することと、
前記保護膜の外側から前記絶縁層に向けてレーザー光を照射することで、前記保護膜および前記絶縁層を厚さ方向に貫通する貫通孔を形成することと、
前記保護膜を前記絶縁層から除去することと、
前記貫通孔内に貫通導体を形成することと、
を含む配線基板の製造方法であって、
前記貫通孔を形成することは、紫外線レーザー光の照射によって、前記第1面における前記貫通孔の周縁から所定の範囲の領域を粗化することを含み、
前記貫通導体を形成することは、前記第1面上に、平面視において粗化された前記領域よりも大きい導体部を形成することを含んでいる。
(【請求項11】以降は省略されています)
発明の詳細な説明
【技術分野】
【0001】
本発明は配線基板および配線基板の製造方法に関する。
続きを表示(約 2,300 文字)
【背景技術】
【0002】
特許文献1には、配線基板および配線基板の製造方法が開示されている。配線基板を構成する絶縁層には開口が形成されている。開口の内壁面および絶縁層表面の開口付近が粗化されて粗化部が形成されている。開口内にはシード層および電解めっき層から構成されるビアが形成されている。ビア周辺の絶縁層表面には配線層がビアと一体的に形成されている。ビアおよび配線層を構成するシード層は、粗化部と略同じ領域に形成されている。
【先行技術文献】
【特許文献】
【0003】
特開2022-108637号公報
【発明の概要】
【発明が解決しようとする課題】
【0004】
特許文献1の配線基板では、ビアおよびビアと一体的に形成される配線層は、そのすべてが粗化部に接している。ビアおよび配線層を介して伝送される信号の伝送損失が比較的大きい場合があると考えられる。
【課題を解決するための手段】
【0005】
本発明の配線基板は、第1面および前記第1面と反対側の第2面を有する絶縁層と、前記絶縁層を前記第1面から前記第2面にかけて貫通する貫通孔と、前記貫通孔を充填する貫通導体と、前記第1面上に前記貫通導体と一体的に形成される導体部と、を有している、前記第1面は、前記貫通孔の周縁を含む第1領域と、前記第1領域以外の第2領域と、を有し、前記第1領域の表面粗さは、前記第2領域の表面粗さよりも大きく、前記導体部は、前記第1領域の全域および前記第2領域の一部に接している。
【0006】
本発明の配線基板の製造方法は、第1面および前記第1面と反対側の第2面を有し、前記第1面上に保護膜を備える絶縁層を用意することと、前記保護膜の外側から前記絶縁層に向けてレーザー光を照射することで、前記保護膜および前記絶縁層を厚さ方向に貫通する貫通孔を形成することと、前記保護膜を前記絶縁層から除去することと、前記貫通孔内に貫通導体を形成することと、を含んでいる。前記貫通孔を形成することは、紫外線レーザー光の照射によって、前記第1面における前記貫通孔の周縁から所定の範囲の領域を粗化することを含み、前記貫通導体を形成することは、前記第1面上に、平面視において粗化された前記領域よりも大きい導体部を形成することを含んでいる。
【0007】
本発明の実施形態によれば、絶縁層と導体部との比較的良好な密着が実現されると同時に、高周波信号の伝送において伝送損失の比較的少ない導体部を有する配線基板が提供され得る。
【図面の簡単な説明】
【0008】
本発明の一実施形態の配線基板の一例を示す断面図。
図1に示される配線基板の部分拡大図。
図1に示される配線基板の製造方法の一例を示す図。
図1に示される配線基板の製造方法の一例を示す図。
図1に示される配線基板の製造方法の一例を示す図。
図1に示される配線基板の製造方法の一例を示す図。
図1に示される配線基板の製造方法の一例を示す図。
図1に示される配線基板の製造方法の一例を示す図。
図1に示される配線基板の製造方法の一例を示す図。
図1に示される配線基板の製造方法の一例を示す図。
図1に示される配線基板の製造方法の一例を示す図。
図1に示される配線基板の製造方法の一例を示す図。
図1に示される配線基板の製造方法の一例を示す図。
図1に示される配線基板の製造方法の一例を示す図。
図1に示される配線基板の製造方法の一例を示す図。
【発明を実施するための形態】
【0009】
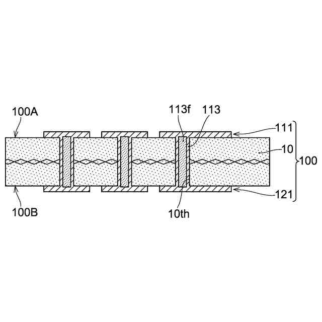
次に、図面を参照しながら本発明の一実施形態である配線基板について説明される。なお、以下、参照される図面においては、各構成要素の正確な比率を示すことは意図されておらず、本発明の特徴が理解され易いように描かれている。図1には、本実施形態の配線基板の一例である配線基板1の断面が示されている。図示される例の配線基板1は、一方の面100Aおよび一方の面100Aの反対面である他方の面100Bを有する積層体100を有している。一方の面100A上には、第1ビルドアップ部11が形成されている。他方の面100B上には、第2ビルドアップ部12が形成されている。以下の説明において、積層体100はコア基板100とも称される。コア基板100は、絶縁層(コア絶縁層)10、および、導体層(コア導体層)111、121を有している。
【0010】
なお、以下、配線基板の説明においては、コア絶縁層10から遠い側を、「上」、「上側」、「外側」、または「外」とも称し、コア絶縁層10に近い側を、「下」、「下側」、「内側」、または「内」とも称する。また、各絶縁層および導体層において、コア絶縁層10と反対側を向く表面は「上面」とも称され、コア絶縁層10側を向く表面は「下面」とも称される。従って、例えば、コア基板100、第1ビルドアップ部11、および第2ビルドアップ部12を構成する各要素の説明では、コア絶縁層10から遠い側が「上側」、「上方」、「上層側」、「外側」、または単に「上」もしくは「外」とも称され、コア絶縁層10に近い側が「下側」、「下方」、「下層側」、「内側」、または単に「下」もしくは「内」とも称される。
(【0011】以降は省略されています)
この特許をJ-PlatPat(特許庁公式サイト)で参照する
関連特許
イビデン株式会社
断熱材
1か月前
イビデン株式会社
断熱材
1か月前
イビデン株式会社
断熱材
1か月前
イビデン株式会社
断熱材
1か月前
イビデン株式会社
配線基板
1か月前
イビデン株式会社
配線基板
1か月前
イビデン株式会社
電子部品内蔵基板
23日前
イビデン株式会社
ワークの加工方法
25日前
イビデン株式会社
ハニカムフィルタ
1か月前
イビデン株式会社
配線基板の製造方法
1か月前
イビデン株式会社
配線基板の製造方法
1か月前
イビデン株式会社
配線基板の製造方法
1か月前
イビデン株式会社
配線基板の製造方法
1か月前
イビデン株式会社
配線基板の製造方法
16日前
イビデン株式会社
部品内蔵基板の製造方法
1か月前
イビデン株式会社
プリント配線板の製造方法
1か月前
イビデン株式会社
コア基板及びその製造方法
1か月前
イビデン株式会社
プリント配線板の製造方法
1か月前
イビデン株式会社
マット材及び保持シール材
1か月前
イビデン株式会社
プリント配線板の製造方法
1か月前
イビデン株式会社
プリント配線板の製造方法
1か月前
イビデン株式会社
熱伝達抑制シート及び組電池
1か月前
イビデン株式会社
熱伝達抑制シート及び組電池
1か月前
イビデン株式会社
電池パック用断熱材及び電池パック
1か月前
イビデン株式会社
電池パック用断熱材及び電池パック
1か月前
イビデン株式会社
配線基板および配線基板の製造方法
1か月前
イビデン株式会社
海藻の成長促進剤および海藻の養殖方法
1か月前
イビデン株式会社
部品内蔵基板及び部品内蔵基板の製造方法
1か月前
イビデン株式会社
コイル基板、モータ用コイル基板、及びモータ
2日前
イビデン株式会社
プリント配線板、及びプリント配線板の製造方法
23日前
イビデン株式会社
熱伝達抑制シート及びその製造方法、並びに組電池
1か月前
イビデン株式会社
熱伝達抑制シート及びその製造方法、並びに組電池
1か月前
イビデン株式会社
SiC単結晶製造装置及びSiC単結晶の製造方法
1か月前
イビデン株式会社
ボール状部材搭載マスク及びボール状部材の搭載方法
1か月前
イビデン株式会社
多層プリント配線板および多層プリント配線板の製造方法
26日前
イビデン株式会社
植物賦活剤
1か月前
続きを見る
他の特許を見る