TOP
|
特許
|
意匠
|
商標
特許ウォッチ
Twitter
他の特許を見る
10個以上の画像は省略されています。
公開番号
2025147633
公報種別
公開特許公報(A)
公開日
2025-10-07
出願番号
2024047975
出願日
2024-03-25
発明の名称
ボール状部材搭載マスク及びボール状部材の搭載方法
出願人
イビデン株式会社
代理人
弁理士法人朝日奈特許事務所
主分類
H05K
3/34 20060101AFI20250930BHJP(他に分類されない電気技術)
要約
【課題】配線基板へのボール状部材の未搭載の抑制。
【解決手段】実施形態のボール状部材搭載マスク1は、平板状の遮蔽部2と、遮蔽部2を貫いていて、配線基板に配置されるボール状部材BMを通過させる開口3と、を有している。開口3は、開口3を囲む壁面のうちの開口3を通過するボール状部材BMと接触可能な部分31に囲まれていて、ボール状部材BMを通過させる挿通部4と、挿通部4の周縁から外側に突出するように挿通部4と一体的に設けられていて遮蔽部2を貫通する複数の拡張部5と、を有し、拡張部5は、開口3を通過するボール状部材BMによる拡張部5の内部への侵入が制限されるように挿通部4の周囲に設けられている。
【選択図】図2
特許請求の範囲
【請求項1】
平板状の遮蔽部と、
前記遮蔽部を貫いていて、配線基板に配置されるボール状部材を通過させる開口と、
を有するボール状部材搭載マスクであって、
前記開口は、
前記開口を囲む壁面のうちの前記開口を通過する前記ボール状部材と接触可能な部分に囲まれていて、前記ボール状部材を通過させる挿通部と、
前記挿通部の周縁から外側に突出するように前記挿通部と一体的に設けられていて前記遮蔽部を貫通する複数の拡張部と、
を有し、
前記拡張部は、前記開口を通過する前記ボール状部材による前記拡張部の内部への侵入が制限されるように前記挿通部の周囲に設けられている。
続きを表示(約 980 文字)
【請求項2】
請求項1記載のボール状部材搭載マスクであって、前記挿通部の直径は、35μm以上、180μm以下である。
【請求項3】
請求項1記載のボール状部材搭載マスクであって、前記挿通部は、前記ボール状部材の投影形状と略相似の平面形状を有している。
【請求項4】
請求項1記載のボール状部材搭載マスクであって、平面視において前記複数の拡張部の面積の総和は、前記挿通部の面積の10%以上、50%以下である。
【請求項5】
請求項1記載のボール状部材搭載マスクであって、前記複数の拡張部は、平面視において、前記挿通部の全周長の50%以上、95%以下を占める部分に設けられている。
【請求項6】
請求項1記載のボール状部材搭載マスクであって、平面視において、前記挿通部の径方向における前記拡張部の最長部分の長さは、前記挿通部の半径の10%以上、50%以下である。
【請求項7】
開口を有するマスクを用意することと、
前記開口を通して配線基板の表面にボール状部材を載置することと、を含む、
配線基板へのボール状部材の搭載方法であって、
前記開口は、
前記開口を囲む壁面のうちの前記開口を通過する前記ボール状部材と接触可能な部分に囲まれていて、前記ボール状部材を通過させる挿通部と、
前記挿通部の周縁から外側に突出するように前記挿通部と一体的に設けられていて前記マスクの遮蔽部を貫通する複数の拡張部と、
を有し、
前記拡張部は、前記開口を通過する前記ボール状部材による前記拡張部の内部への侵入が制限されるように前記挿通部の周囲に設けられている。
【請求項8】
請求項7記載のボール状部材の搭載方法であって、前記ボール状部材を載置することは、前記開口の周縁部に位置している前記ボール状部材の一部を前記拡張部に沈みこませながら前記ボール状部材を前記開口内に導入することを含んでいる。
【請求項9】
請求項7記載のボール状部材の搭載方法であって、前記ボール状部材を載置することは、前記マスクの表面上を、前記拡張部の上を通るように、前記ボール状部材を前記挿通部に向けて移動させることを含んでいる。
発明の詳細な説明
【技術分野】
【0001】
本発明は、ボール状部材搭載マスク、及びボール状部材の搭載方法に関する。
続きを表示(約 2,700 文字)
【背景技術】
【0002】
特許文献1には、プリント配線板の電極に半田ボールを搭載するために用いられるボール整列用マスクが開示されている。複数の開口を有するボール整列用マスクの上に供給された半田ボールは、ボール整列用マスクの上方に配置された搭載筒が空気を吸引することによって搭載筒の開口部の直下に集められる。そして、搭載筒の水平移動に伴って半田ボールがボール整列用マスク上を移動し、ボール整列用マスクの各開口を介して、プリント配線板の接続パッドへと落とされる。
【先行技術文献】
【特許文献】
【0003】
特開2006-74002号公報
【発明の概要】
【発明が解決しようとする課題】
【0004】
特許文献1に開示のボール整列用マスクでは、複数の開口それぞれに半田ボールが入り込めないことがある。その結果、幾つかの開口に半田ボールが導入されず、半田ボール未搭載の接続パッドがプリント配線板に生じることがある。半田ボール未搭載の接続パッドは、プリント配線板の品質を低下させ、プリント配線板と外部の部品との接続不良などの不具合を引き起こすことがある。
【課題を解決するための手段】
【0005】
本発明のボール状部材搭載マスクは、平板状の遮蔽部と、前記遮蔽部を貫いていて、配線基板に配置されるボール状部材を通過させる開口と、を有している。そして、前記開口は、前記開口を囲む壁面のうちの前記開口を通過する前記ボール状部材と接触可能な部分に囲まれていて、前記ボール状部材を通過させる挿通部と、前記挿通部の周縁から外側に突出するように前記挿通部と一体的に設けられていて前記遮蔽部を貫通する複数の拡張部と、を有し、前記拡張部は、前記開口を通過する前記ボール状部材による前記拡張部の内部への侵入が制限されるように前記挿通部の周囲に設けられている。
【0006】
本発明のボール状部材の搭載方法は、開口を有するマスクを用意することと、前記開口を通して配線基板の表面にボール状部材を載置することと、を含んでいる。そして、前記開口は、前記開口を囲む壁面のうちの前記開口を通過する前記ボール状部材と接触可能な部分に囲まれていて、前記ボール状部材を通過させる挿通部と、前記挿通部の周縁から外側に突出するように前記挿通部と一体的に設けられていて前記マスクの遮蔽部を貫通する複数の拡張部と、を有し、前記拡張部は、前記開口を通過する前記ボール状部材による前記拡張部の内部への侵入が制限されるように前記挿通部の周囲に設けられている。
【0007】
本発明の実施形態によれば、配線基板に搭載される例えば半田ボールのようなボール状部材の搭載位置の精度を維持しながら、配線基板へのボール状部材の未搭載を抑制できることがある。
【図面の簡単な説明】
【0008】
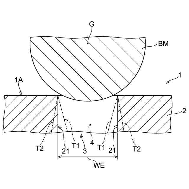
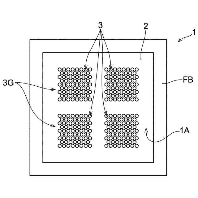
本発明の実施形態のボール状部材搭載マスクの全体構造の一例の平面図。
実施形態のボール状部材搭載マスクが有する開口の一例を示す平面図。
図2のIIIA-IIIA線での断面図。
図2のIIIB-IIIB線での断面図。
実施形態のボール状部材搭載マスクの遮蔽部と開口との境界に位置するボール状部材を示す断面図。
実施形態のボール状部材搭載マスクの開口の拡張部に僅かに入り込んでいるボール状部材を示す平面図。
図5AのVB-VB線での断面図。
図5AのVC-VC線での断面図。
実施形態のボール状部材搭載マスクの開口の第1変形例を示す平面図。
実施形態のボール状部材搭載マスクの開口の第2変形例を示す平面図。
実施形態のボール状部材搭載マスクの開口の第3変形例を示す平面図。
実施形態のボール状部材搭載マスクの開口の第4変形例を示す平面図。
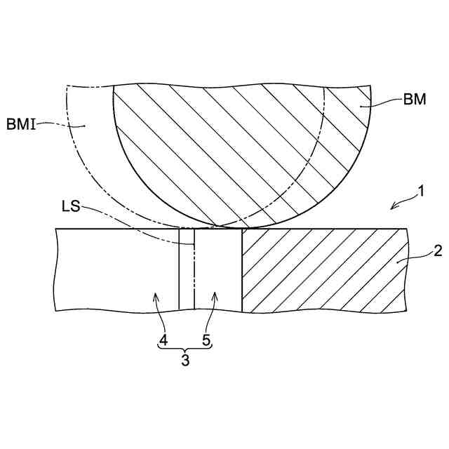
実施形態のボール状部材の搭載方法の一例を示す断面図。
実施形態のボール状部材の搭載方法の一例を示す断面図。
実施形態のボール状部材の搭載方法の一例を示す平面図。
実施形態のボール状部材の搭載方法の一例を示す断面図。
【発明を実施するための形態】
【0009】
本発明の実施形態のボール状部材搭載マスクが、図面を参照しながら説明される。図1には、一実施形態のボール状部材搭載マスクの一例であるボール状部材搭載マスク1の全体構造が示されている。図2には、ボール状部材搭載マスク1が有する開口3の一例が平面図で示されている。図3Aには、図2のIIIA-IIIA線での開口3の断面が、開口3を通るボール状部材BMと共に示されている。図3Bには、図2のIIIB-IIIB線での開口3の断面が、ボール状部材BMと共に示されている。なお、図1のボール状部材搭載マスク1は、実施形態のボール状部材搭載マスクの一例に過ぎない。実施形態のボール状部材搭載マスクは、任意の数の開口を有することができ、複数の開口からなる任意の数の開口群を有することができる。また、図2に示される開口3は、実施形態のボール状部材搭載マスクが有し得る開口の一例に過ぎない。実施形態のボール状部材搭載マスクは、後に参照される図6A~図6Dに示されるように、多様な平面形状を有し得る。すなわち、実施形態のボール状部材搭載マスクの構成は、図1のボール状部材搭載マスク1の構成に限定されず、実施形態のボール状部材搭載マスクが有する開口の平面形状は、図2の開口3の平面形状に限定されない。
【0010】
<実施形態のボール状部材搭載マスクの全体構成>
図1に示されるように、実施形態のボール状部材搭載マスク1は、遮蔽部2と複数の開口3とを含んでいる。なお、実施形態のボール状部材搭載マスクは、以下では、単に「ボール用マスク」とも称される。従ってボール状部材搭載マスク1は単に「ボール用マスク1」とも称される。遮蔽部2は平板状の形体を有している。図1の例では、ボール用マスク1は、周縁部に、例えばアルミニウムなどによって作られた矩形の枠体FBを備えている。遮蔽部2の周縁部が、適切な張力が遮蔽部2に掛かるように枠体FBに固定されている。ボール用マスク1は、平板状の遮蔽部2の厚さ方向と直交する第1面1A及び第1面1Aの反対面である第2面1B(図3A参照)を有している。複数の開口3は、遮蔽部2の厚さ方向に、すなわち第1面1A及び第2面1Bと略直交する方向に、遮蔽部2を貫いている。
(【0011】以降は省略されています)
この特許をJ-PlatPat(特許庁公式サイト)で参照する
関連特許
イビデン株式会社
断熱材
7日前
イビデン株式会社
断熱材
7日前
イビデン株式会社
断熱材
7日前
イビデン株式会社
断熱材
7日前
イビデン株式会社
配線基板
9日前
イビデン株式会社
配線基板
8日前
イビデン株式会社
配線基板
16日前
イビデン株式会社
ハニカムフィルタ
15日前
イビデン株式会社
ハニカムフィルタ
10日前
イビデン株式会社
配線基板の製造方法
9日前
イビデン株式会社
配線基板の製造方法
9日前
イビデン株式会社
配線基板の製造方法
9日前
イビデン株式会社
配線基板の製造方法
9日前
イビデン株式会社
配線基板の製造方法
14日前
イビデン株式会社
配線基板の製造方法
14日前
イビデン株式会社
配線基板の製造方法
14日前
イビデン株式会社
配線基板の製造方法
14日前
イビデン株式会社
配線基板の製造方法
14日前
イビデン株式会社
プリント配線板の製造方法
9日前
イビデン株式会社
配線基板及びその製造方法
18日前
イビデン株式会社
プリント配線板の製造方法
9日前
イビデン株式会社
プリント配線板の製造方法
9日前
イビデン株式会社
マット材及び保持シール材
8日前
イビデン株式会社
熱伝達抑制シート及び組電池
14日前
イビデン株式会社
熱伝達抑制シート及び組電池
7日前
イビデン株式会社
光導波路及び導波路搭載基板
15日前
イビデン株式会社
電池パック用断熱材及び電池パック
7日前
イビデン株式会社
電池パック用断熱材及び電池パック
7日前
イビデン株式会社
配線基板および配線基板の製造方法
3日前
イビデン株式会社
部品内蔵基板及び部品内蔵基板の製造方法
1日前
イビデン株式会社
SiC単結晶製造装置及びSiC単結晶の製造方法
2日前
イビデン株式会社
熱伝達抑制シート及びその製造方法、並びに組電池
7日前
イビデン株式会社
熱伝達抑制シート及びその製造方法、並びに組電池
7日前
イビデン株式会社
ボール状部材搭載マスク及びボール状部材の搭載方法
10日前
イビデン株式会社
植物賦活剤
14日前
個人
電子部品の実装方法
16日前
続きを見る
他の特許を見る