TOP
|
特許
|
意匠
|
商標
特許ウォッチ
Twitter
他の特許を見る
10個以上の画像は省略されています。
公開番号
2025140390
公報種別
公開特許公報(A)
公開日
2025-09-29
出願番号
2024039755
出願日
2024-03-14
発明の名称
配線基板及びその製造方法
出願人
イビデン株式会社
代理人
個人
,
個人
主分類
H05K
3/34 20060101AFI20250919BHJP(他に分類されない電気技術)
要約
【課題】配線基板の反り等による影響を抑え、表面実装される電子部品との接続の信頼性を高めることが可能な技術を提供する。
【解決手段】本実施形態の配線基板は、表面に湾曲を有する絶縁層と、前記絶縁層の上に積層され、グリッド状に並ぶ複数のパッドを有する導電層と、前記導電層の上に積層されて、前記複数のパッドを露出させる複数の接続用開口を有するソルダーレジスト層と、前記複数のパッド上に載置されて複数の半田バンプになる複数の半田ボールと、前記複数の半田バンプのそれぞれに設けられ、共通の架空の平坦面に含まれるバンプ上面と、を有する配線基板であって、前記湾曲により高くなっている領域の前記パッド上に載置される半田ボールが、前記湾曲により低くなっている領域の前記パッド上に載置される半田ボールより直径が小さい。
【選択図】図1
特許請求の範囲
【請求項1】
表面に湾曲を有する絶縁層と、
前記絶縁層の上に積層され、グリッド状に並ぶ複数のパッドを有する導電層と、
前記導電層の上に積層されて、前記複数のパッドを露出させる複数の接続用開口を有するソルダーレジスト層と、
前記複数のパッド上に載置されて複数の半田バンプになる複数の半田ボールと、
前記複数の半田バンプのそれぞれに設けられ、共通の架空の平坦面に含まれるバンプ上面と、を有する配線基板であって、
前記湾曲により高くなっている領域の前記パッド上に載置される半田ボールが、前記湾曲により低くなっている領域の前記パッド上に載置される半田ボールより直径が小さい。
続きを表示(約 1,000 文字)
【請求項2】
請求項1に記載の配線基板において、
前記絶縁層の表面は、最も低くなっている部分を有する下側領域と、最も高くなっている部分を有する上側領域とを含む複数の領域に分けられて、前記半田ボールの直径は、前記領域毎に段階的に相違する。
【請求項3】
請求項2に記載の配線基板において、
前記複数の領域は、前記下側領域と前記上側領域との2つからなり、
前記複数の半田ボールは、前記下側領域用と前記上側領域用との大小の2種類で構成されている。
【請求項4】
請求項1から3の何れか1の請求項に記載の配線基板において、
前記絶縁層の表面は、平面視の中央部に近いほど低くなるように湾曲している。
【請求項5】
表面に湾曲を有する絶縁層の上に、グリッド状に並ぶ複数のパッドを有する導電層が積層されることと、
前記導電層の上に、前記複数のパッドを露出させる複数の接続用開口を有するソルダーレジスト層が積層されることと、
前記複数の接続用開口から露出する前記複数のパッド上に載置される複数の半田ボールによって複数の半田バンプが形成されて、それら複数の半田バンプが加圧プレートにて押圧されて平坦化されることとを含む配線基板の製造方法であって、
前記湾曲により高くなっている領域の前記パッド上に載置される半田ボールは、前記湾曲により低くなっている領域の前記パッド上に載置される半田ボールより直径が小さい半田ボールが使用される。
【請求項6】
請求項5に記載の配線基板の製造方法において、
前記絶縁層の表面が、前記絶縁層のうち最も低くなっている部分を有する下側領域と、最も高くなっている部分を有する上側領域とを含む複数の領域に分けられて、前記領域毎に段階的に相違する直径の複数の半田ボールが使用される。
【請求項7】
請求項6に記載の配線基板の製造方法において、
前記複数の領域は、前記下側領域と前記上側領域との2つからなり、
前記複数の半田ボールは、前記下側領域用と前記上側領域用との大小の2種類で構成されている。
【請求項8】
請求項5から7の何れか1の請求項に記載の配線基板の製造方法において、
前記絶縁層の表面は、平面視の中央部に近いほど低くなるように湾曲している。
発明の詳細な説明
【技術分野】
【0001】
本開示は、グリッド状に並ぶ複数のパッドがソルダーレジスト層に形成される複数の接続用開口を介して露出している配線基板及びその製造方法に関する。
続きを表示(約 1,800 文字)
【背景技術】
【0002】
従来、この種の配線基板として、複数のパッド上に複数の半田バンプを設けられているものが知られている(例えば、特許文献1参照)。
【先行技術文献】
【特許文献】
【0003】
特開2000-100863号公報(段落[0001]、図4)
【発明の概要】
【発明が解決しようとする課題】
【0004】
しかしながら、従来の配線基板の構造では、配線基板が反った場合に、その反りにより低くなっている領域に位置する複数の半田バンプと、高くなっている領域に位置する複数の半田バンプとで、電子部品に対する接続状態が異なることが問題になり得る。これに対し、本願では、配線基板の反り等による影響を抑え、表面実装される電子部品との接続の信頼性を高めることが可能な技術を提供する。
【課題を解決するための手段】
【0005】
本開示の一態様に係る配線基板は、表面に湾曲を有する絶縁層と、前記絶縁層の上に積層され、グリッド状に並ぶ複数のパッドを有する導電層と、前記導電層の上に積層されて、前記複数のパッドを露出させる複数の接続用開口を有するソルダーレジスト層と、前記複数のパッド上に載置されて複数の半田バンプになる複数の半田ボールと、前記複数の半田バンプのそれぞれに設けられ、共通の架空の平坦面に含まれるバンプ上面と、を有する配線基板であって、前記湾曲により高くなっている領域の前記パッド上に載置される半田ボールが、前記湾曲により低くなっている領域の前記パッド上に載置される半田ボールより直径が小さい。
【0006】
本開示の一態様に係る配線基板の製造方法は、表面に湾曲を有する絶縁層の上に、グリッド状に並ぶ複数のパッドを有する導電層が積層されることと、前記導電層の上に、前記複数のパッドを露出させる複数の接続用開口を有するソルダーレジスト層が積層されることと、前記複数の接続用開口から露出する前記複数のパッド上に載置される複数の半田ボールによって複数の半田バンプが形成されて、それら複数の半田バンプが加圧プレートにて押圧されて平坦化されることとを含む配線基板の製造方法であって、前記湾曲により高くなっている領域の前記パッド上に載置される半田ボールは、前記湾曲により低くなっている領域の前記パッド上に載置される半田ボールより直径が小さい半田ボールが使用される。
【図面の簡単な説明】
【0007】
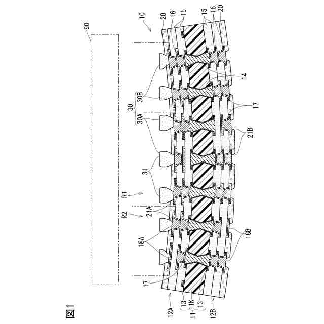
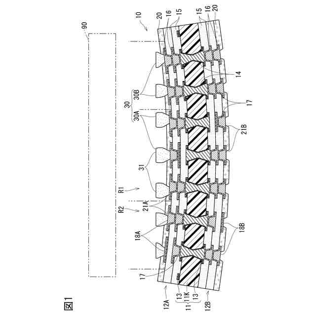
図1は、本開示の一実施形態に係る配線基板の断面図
図2は、複数の半田バンプが形成される前の配線基板の平面図
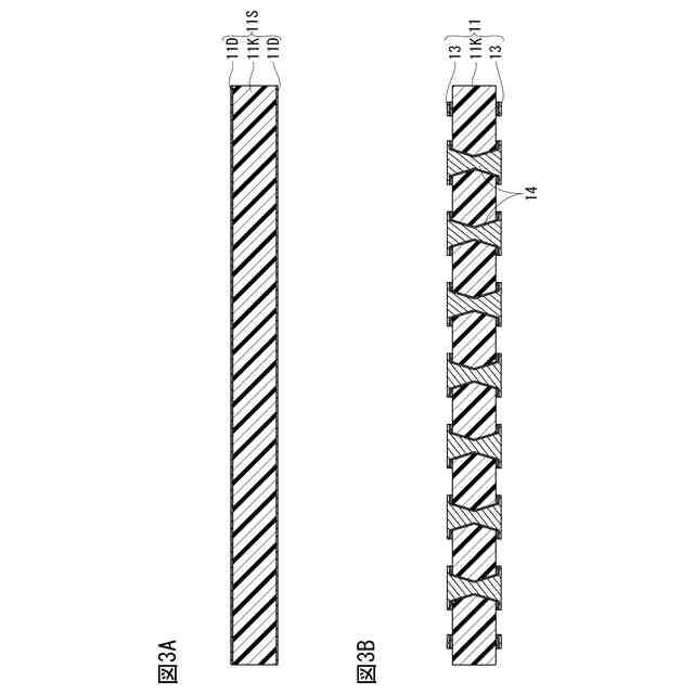
図3A~図3Bは、配線基板の製造方法を示す断面図
図4A~図4Bは、配線基板の製造方法を示す断面図
図5A~図5Bは、配線基板の製造方法を示す断面図
図6は、配線基板の製造方法を示す断面図
図7は、配線基板の製造方法を示す断面図
図8A~図8Bは、第2実施形態に係る配線基板の製造方法を示す断面図
図9A~図9Bは、第3実施形態に係る配線基板の製造方法を示す断面図
図10は、変形例に係る配線基板の断面図
【発明を実施するための形態】
【0008】
[第1実施形態]
図1~図7を参照して本開示の一実施形態について説明する。図1に示されるように、本実施形の配線基板10は、コア基板11と、その表裏の両面に積層される第1と第2のビルドアップ層12A,12Bとを備える。
【0009】
コア基板11は、例えば、絶縁層11Kと、その表裏の両面に積層される導電層13と、それら導電層13同士を接続するための複数のスルーホール導体14とを備える。なお、スルーホール導体14は、途中部分がくびれているが、くびれていない形状であってもよい。
【0010】
第1と第2のビルドアップ層12A,12Bは、交互に積層される複数の絶縁層15及び複数の導電層16と、導電層16同士を接続するための複数のビア導体17とを備える。なお、第1と第2のビルドアップ層12A,12Bには、導電層16が複数層、含まれているが、導電層16が1層のみであってもよい。
(【0011】以降は省略されています)
この特許をJ-PlatPat(特許庁公式サイト)で参照する
関連特許
イビデン株式会社
断熱材
14日前
イビデン株式会社
断熱材
14日前
イビデン株式会社
断熱材
14日前
イビデン株式会社
断熱材
14日前
イビデン株式会社
配線基板
16日前
イビデン株式会社
配線基板
15日前
イビデン株式会社
配線基板
23日前
イビデン株式会社
プリント配線板
1か月前
イビデン株式会社
ハニカムフィルタ
17日前
イビデン株式会社
ハニカムフィルタ
22日前
イビデン株式会社
配線基板の製造方法
21日前
イビデン株式会社
配線基板の製造方法
21日前
イビデン株式会社
配線基板の製造方法
21日前
イビデン株式会社
配線基板の製造方法
21日前
イビデン株式会社
配線基板の製造方法
21日前
イビデン株式会社
配線基板の製造方法
16日前
イビデン株式会社
配線基板の製造方法
16日前
イビデン株式会社
配線基板の製造方法
16日前
イビデン株式会社
配線基板の製造方法
16日前
イビデン株式会社
部品内蔵基板の製造方法
今日
イビデン株式会社
配線基板及びその製造方法
25日前
イビデン株式会社
配線基板及びその製造方法
25日前
イビデン株式会社
プリント配線板の製造方法
1か月前
イビデン株式会社
プリント配線板の製造方法
16日前
イビデン株式会社
プリント配線板の製造方法
16日前
イビデン株式会社
プリント配線板の製造方法
16日前
イビデン株式会社
プリント配線板の製造方法
3日前
イビデン株式会社
マット材及び保持シール材
15日前
イビデン株式会社
光導波路及び導波路搭載基板
22日前
イビデン株式会社
熱伝達抑制シート及び組電池
21日前
イビデン株式会社
熱伝達抑制シート及び組電池
14日前
イビデン株式会社
プリント配線板およびその製造方法
25日前
イビデン株式会社
配線基板および配線基板の製造方法
25日前
イビデン株式会社
配線基板および配線基板の製造方法
10日前
イビデン株式会社
電池パック用断熱材及び電池パック
14日前
イビデン株式会社
電池パック用断熱材及び電池パック
14日前
続きを見る
他の特許を見る