TOP
|
特許
|
意匠
|
商標
特許ウォッチ
Twitter
他の特許を見る
公開番号
2025165500
公報種別
公開特許公報(A)
公開日
2025-11-05
出願番号
2024069568
出願日
2024-04-23
発明の名称
ワークの加工方法
出願人
イビデン株式会社
代理人
弁理士法人銀座マロニエ特許事務所
主分類
H05K
3/28 20060101AFI20251028BHJP(他に分類されない電気技術)
要約
【課題】加工機のテーブルの表面の傷や異物によって、ワークに傷が発生することがないワークの加工方法を提供する。
【解決手段】複数の保護フィルムと複数の接着層とが交互に積層された積層保護フィルムを準備し、加工装置のテーブルの上面と積層保護フィルムの最下層の接着層とが接触するように積層保護フィルムをテーブルに載置することと、積層保護フィルムの最上層の第1保護フィルムの上面に第1ワークを支持することと、第1ワークを加工して加工済第1ワークを形成することと、加工済第1ワークを積層保護フィルムから取り除くことと、加工済第1ワークを形成した後に第1保護フィルムが不具合を有する場合には、積層保護フィルムから当該第1保護フィルムを除去することと、第1保護フィルムを除去した後、積層保護フィルムから露出し第1保護フィルムの下層の第2保護フィルムの上面に第2ワークを支持することと、第2ワークを加工することを含む。
【選択図】図2D
特許請求の範囲
【請求項1】
ワークの加工方法であって、複数の保護フィルムと複数の接着層とが交互に積層された積層保護フィルムを準備することと、
加工装置が備えているテーブルの上面と前記積層保護フィルムの最下層に位置する接着層とが接触するように前記積層保護フィルムを前記テーブルに載置することと、
前記積層保護フィルムの最上層に位置する第1保護フィルムの上面に第1ワークを支持することと、
前記第1ワークを加工して加工済第1ワークを形成することと、
前記加工済第1ワークを前記積層保護フィルムから取り除くことと、
前記加工済第1ワークを形成した後に前記第1保護フィルムが不具合を有する場合には、前記積層保護フィルムから不具合を有する前記第1保護フィルムを除去することと、
前記第1保護フィルムを除去した後、前記積層保護フィルムから露出し前記第1保護フィルムの下層に位置する第2保護フィルムの上面に第2ワークを支持することと、
前記第2ワークを加工することと、を含むワークの加工方法。
続きを表示(約 310 文字)
【請求項2】
前記積層保護フィルムが2~6枚の保護フィルムを備える、請求項1に記載のワークの加工方法。
【請求項3】
前記積層保護フィルムが吸着用の穴を有する、請求項1又は2に記載のワークの加工方法。
【請求項4】
前記ワークがスルーホールを形成するためのコア基板である、請求項1又は2に記載のワークの加工方法。
【請求項5】
前記ワークがドライフィルムをラミネートするためのプリント配線板である、請求項1又は2に記載のワークの加工方法。
【請求項6】
前記ワークがビアホールを形成するためのプリント配線板である、請求項1又は2に記載のワークの加工方法。
発明の詳細な説明
【技術分野】
【0001】
本発明は、ワークの加工方法に関する。さらに詳しくは、加工機が備えているテーブルとワークとの間に複数の保護フィルムを介在させることによりワークの傷を防止してワークを加工することができるワークの加工方法に関する。
続きを表示(約 3,200 文字)
【背景技術】
【0002】
レーザ加工によって樹脂基板に形成する貫通孔の孔径のばらつきを抑えてより小径の貫通孔を加工することを可能とし、また、樹脂基板に形成する貫通孔の加工効率を向上させることができるレーザ加工による樹脂基板の貫通孔の加工方法が提案されている(例えば、特許文献1)。
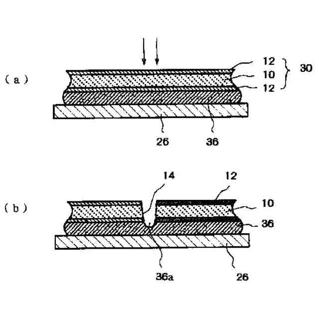
図3は、特許文献1に記載されたレーザ加工による樹脂基板の貫通孔の加工方法の実施の形態の一例を示す説明図である。図3に示されるように、被加工品であるコア基板30の下面にレーザ光によって容易にエッチングされる樹脂層36を形成し、樹脂層36を介してベース板26にコア基板30を支持してレーザ加工をすることを特徴としている。
【0003】
かかる特許文献1に記載されたレーザ加工による樹脂基板の貫通孔の加工方法では、コア基板30にレーザ光を照射して貫通孔14を貫通させた際に、貫通孔14の下面の樹脂層36をレーザ光でエッチングして貫通孔14を加工する。樹脂層36はレーザ光で簡単にエッチングされるから、貫通孔14を貫通させた際に樹脂層36がエッチングされて貫通孔14の下面に凹部36aが形成される。このように、レーザ加工による樹脂基板の貫通孔の加工方法において、樹脂層36がエッチングされるようにして貫通孔14を形成すると貫通孔14の内面が真っ直ぐにエッチングされ、貫通孔14の孔径のばらつきが抑えられる。コア基板30とベース板26との間にレーザ光によって簡単にエッチングされる樹脂層36を介在させたのは、貫通孔14が閉止されずに容易に貫通されるようにするためである。
【先行技術文献】
【特許文献】
【0004】
特開2001-135912号公報
【発明の概要】
【発明が解決しようとする課題】
【0005】
特許文献1に開示された技術では、コア基板30とベース板26との間にレーザ光によって簡単にエッチングされる樹脂層36を一枚のみ介在させているに過ぎない。このため、特許文献1に記載されたレーザ加工による樹脂基板10の貫通孔の加工方法は、複数回にわたってコア基板30を加工すると、樹脂層36が劣化してしまうことにより、加工機のベース板26に傷が発生するという問題点を有する。
さらに、このようなレーザ加工による樹脂基板の貫通孔の加工方法は、樹脂層36が劣化してしまうことにより、加工機のベース板26の表面に樹脂基板10から発生する異物によって、コア基板30に傷が発生するという問題点を有する。
このような技術的観点から、本発明の技術的課題は、ワークを加工しても、加工機のテーブルに傷が発生することなく、当該テーブルの表面に発生する異物や傷等によって、ワークに傷が発生することないワークの加工方法を提供することになる。
【課題を解決するための手段】
【0006】
本発明に係るワークの加工方法は、ワークの加工方法であって、複数の保護フィルムと複数の接着層とが交互に積層された積層保護フィルムを準備することと、加工装置が備えているテーブルの上面と前記積層保護フィルムの最下層に位置する接着層とが接触するように前記積層保護フィルムを前記テーブルに載置することと、前記積層保護フィルムの最上層に位置する第1保護フィルムの上面に第1ワークを支持することと、前記第1ワークを加工して加工済第1ワークを形成することと、前記加工済第1ワークを前記積層保護フィルムから取り除くことと、前記加工済第1ワークを形成した後に前記第1保護フィルムが不具合を有する場合には、前記積層保護フィルムから不具合を有する前記第1保護フィルムを除去することと、前記第1保護フィルムを除去した後、前記積層保護フィルムから露出し前記第1保護フィルムの下層に位置する第2保護フィルムの上面に第2ワークを支持することと、前記第2ワークを加工することと、を含む。
【図面の簡単な説明】
【0007】
本発明に係るワークの加工方法に用いる積層保護フィルムの一実施形態を説明するための断面図である。
本発明に係るワークの加工方法に用いる積層保護フィルムの一実施形態を説明するための平面図である。
本発明に係るワークの加工方法の一実施形態を説明するための断面図である。
本発明に係るワークの加工方法の一実施形態を説明するための断面図である。
本発明に係るワークの加工方法の一実施形態を説明するための断面図である。
本発明に係るワークの加工方法の一実施形態を説明するための断面図である。
本発明に係るワークの加工方法の一実施形態を説明するための断面図である。
従来のレーザ加工による樹脂基板の貫通孔の加工方法を示す説明図である。
【発明を実施するための形態】
【0008】
<本発明に係るワークの加工方法に用いる積層保護フィルムについて>
本発明に係るワークの加工方法に用いる積層保護フィルム、当該積層保護フィルムを用いたワークの加工方法の一実施形態が、図面を参照して説明される。
なお、図1~図2に示す例において、各部材の寸法、特に高さ方向の寸法については、本発明の特徴をより良く理解できるようにするために、実際の寸法とは異なる寸法で記載している。
【0009】
図1は、本発明に係るワークの加工方法に用いる積層保護フィルムの一実施形態を説明するための説明図である。図1Aは、本発明に係るワークの加工方法に用いる積層保護フィルムの一実施形態を説明するための断面図である。
図1Aに示されるように、積層保護フィルム100は、複数の保護フィルム101と複数の接着層102とが交互に積層された積層構造を有する。複数の保護フィルム101は、例えば、第1保護フィルム101A、第2保護フィルム101B、第3保護フィルム101Cを備えていてもよい。
一方、複数の接着層102は、第1接着層102A、第2接着層102B、第3接着層102Cを備えていてもよい。例えば、複数の保護フィルム101は、積層保護フィルム100の基材としての役割を有している。複数の接着層102は、積層方向に隣接する保護フィルム101を接着するために用いられている。
【0010】
積層保護フィルム100は、最下層に位置する第3接着層102Cと当該第3接着層102Cの上層に位置する第3保護フィルム101Cとを備え、当該第3保護フィルム101Cの上層に位置する第2接着層102Bと当該第2接着層102Bの上層に位置する第2保護フィルム101Bとを備え、さらに当該第2保護フィルム101Bの上層に位置する第1接着層102Aと当該第1接着層102Aの上層に位置する第1保護フィルム101Aとから構成されていてもよい。
第1接着層102Aは、第1保護フィルム101Aと第2保護フィルム101Bとの間に介在して設けられており、第1保護フィルム101Aと第2保護フィルム101Bとを接着する。
第1保護フィルム101Aと第1接着層102Aとが接着した後、当該第1保護フィルム101Aと当該第1接着層102Aとは、取扱上の最小単位として取り扱われる。
すなわち、積層保護フィルム100から第1保護フィルム101Aが剥離される場合には、第1接着層102Aは、当該第1保護フィルム101Aと接着した状態を保持しつつ積層保護フィルム100から剥離される。
(【0011】以降は省略されています)
この特許をJ-PlatPat(特許庁公式サイト)で参照する
関連特許
イビデン株式会社
断熱材
1か月前
イビデン株式会社
断熱材
1か月前
イビデン株式会社
断熱材
1か月前
イビデン株式会社
断熱材
1か月前
イビデン株式会社
配線基板
1か月前
イビデン株式会社
配線基板
1か月前
イビデン株式会社
ハニカムフィルタ
1か月前
イビデン株式会社
ハニカムフィルタ
1か月前
イビデン株式会社
ワークの加工方法
24日前
イビデン株式会社
電子部品内蔵基板
22日前
イビデン株式会社
配線基板の製造方法
1か月前
イビデン株式会社
配線基板の製造方法
1か月前
イビデン株式会社
配線基板の製造方法
1か月前
イビデン株式会社
配線基板の製造方法
1か月前
イビデン株式会社
配線基板の製造方法
1か月前
イビデン株式会社
配線基板の製造方法
1か月前
イビデン株式会社
配線基板の製造方法
1か月前
イビデン株式会社
配線基板の製造方法
15日前
イビデン株式会社
配線基板の製造方法
1か月前
イビデン株式会社
配線基板の製造方法
1か月前
イビデン株式会社
部品内蔵基板の製造方法
1か月前
イビデン株式会社
コア基板及びその製造方法
1か月前
イビデン株式会社
プリント配線板の製造方法
1か月前
イビデン株式会社
プリント配線板の製造方法
1か月前
イビデン株式会社
マット材及び保持シール材
1か月前
イビデン株式会社
プリント配線板の製造方法
1か月前
イビデン株式会社
プリント配線板の製造方法
1か月前
イビデン株式会社
熱伝達抑制シート及び組電池
1か月前
イビデン株式会社
光導波路及び導波路搭載基板
1か月前
イビデン株式会社
熱伝達抑制シート及び組電池
1か月前
イビデン株式会社
電池パック用断熱材及び電池パック
1か月前
イビデン株式会社
電池パック用断熱材及び電池パック
1か月前
イビデン株式会社
配線基板および配線基板の製造方法
1か月前
イビデン株式会社
海藻の成長促進剤および海藻の養殖方法
1か月前
イビデン株式会社
部品内蔵基板及び部品内蔵基板の製造方法
1か月前
イビデン株式会社
コイル基板、モータ用コイル基板、及びモータ
1日前
続きを見る
他の特許を見る