TOP
|
特許
|
意匠
|
商標
特許ウォッチ
Twitter
他の特許を見る
10個以上の画像は省略されています。
公開番号
2025148646
公報種別
公開特許公報(A)
公開日
2025-10-08
出願番号
2024048872
出願日
2024-03-26
発明の名称
プリント配線板の製造方法
出願人
イビデン株式会社
代理人
個人
主分類
H05K
3/46 20060101AFI20251001BHJP(他に分類されない電気技術)
要約
【課題】高い品質を有するプリント配線板の提供。
【解決手段】実施形態のプリント配線板の製造方法は、樹脂絶縁層を形成することと、樹脂絶縁層の第1面上に保護膜を形成することと、ビア導体用の開口を形成することと、保護膜を除去することと、第1面をクリーニングすることと、第2導体層を形成することと、ビア導体を形成すること、とを含む。樹脂絶縁層は樹脂と無機粒子を含み、無機粒子は前記樹脂に部分的に埋まっている第1無機粒子と前記樹脂に完全に埋まっている第2無機粒子を含む。クリーニングすることは、第2無機粒子から第1無機粒子を形成することを含む。第2導体層を形成することは、樹脂絶縁層の第1面上にシード層を形成することと、シード層上にDI露光を用いてめっきレジストを形成することと、電解めっき層を形成することと、めっきレジストを除去することと、電解めっき層から露出するシード層を除去すること、とを含む。
【選択図】図1
特許請求の範囲
【請求項1】
第1導体層上に第1面と前記第1面と反対側の第2面とを有する樹脂絶縁層を形成することと、
前記樹脂絶縁層の前記第1面上に保護膜を形成することと、
前記保護膜と前記樹脂絶縁層を同時に貫通し前記第1導体層に至るビア導体用の開口を形成することと、
前記開口を形成することの後に前記樹脂絶縁層から前記保護膜を除去することと、
前記樹脂絶縁層の前記第1面をクリーニングすることと、
前記樹脂絶縁層の前記第1面上に第2導体層を形成することと、
前記開口に前記第1導体層と前記第2導体層を接続するビア導体を形成すること、とを含むプリント配線板の製造方法であって、
前記樹脂絶縁層は樹脂と無機粒子を含み、前記無機粒子は前記樹脂に部分的に埋まっている第1無機粒子と前記樹脂に完全に埋まっている第2無機粒子を含み、前記第1無機粒子の形状はほぼ球であり、前記第2無機粒子の形状はほぼ球であり、
前記クリーニングすることは、前記第2無機粒子の一部が前記樹脂絶縁層の前記第1面から突出するように、前記樹脂を選択的に除去することを含み、
前記樹脂を選択的に除去することにより前記第2無機粒子から前記第1無機粒子が形成され、
前記第1無機粒子は前記樹脂から突出する第1部分と前記樹脂に埋まっている第2部分で形成され、前記第1面は前記樹脂の上面と前記上面から露出する前記第1部分の露出面で形成されており、
前記第2導体層を形成することは、前記樹脂絶縁層の前記第1面上にスパッタリングによってシード層を形成することと、前記シード層上にDI露光を用いてめっきレジストを形成することと、前記めっきレジストから露出する前記シード層上に電解めっき層を形成することと、前記めっきレジストを除去することと、前記電解めっき層から露出する前記シード層を除去すること、とを含む。
続きを表示(約 1,000 文字)
【請求項2】
請求項1のプリント配線板の製造方法であって、前記シード層を形成することの前に前記樹脂絶縁層の前記第1面は荒らされない。
【請求項3】
請求項1のプリント配線板の製造方法であって、前記第2導体層は導体回路を有しており、前記シード層は、前記第1面上に形成されている第1層と前記第1層上に形成される第2層とを有しており、前記導体回路は、前記シード層と前記シード層上の前記電解めっき層で形成されており、前記導体回路の断面において、前記第1層の幅は前記第2層の幅より大きく、前記電解めっき層の幅は前記第1層の幅より大きい。
【請求項4】
請求項1のプリント配線板の製造方法であって、前記シード層は前記第1面上に形成されている第1層と前記第1層上に形成される第2層を有しており、前記第1層は銅とアルミニウムを含有する合金からなり、前記第2層は銅で形成されている。
【請求項5】
請求項1のプリント配線板の製造方法であって、前記無機粒子は前記開口の内壁面を形成する第3無機粒子をさらに含み、前記内壁面を処理することで前記第3無機粒子は前記第2無機粒子から形成され、前記第3無機粒子は平坦部を有し、前記第3無機粒子の形状はほぼ球欠であって、前記平坦部は前記内壁面を形成する。
【請求項6】
請求項5のプリント配線板の製造方法であって、前記開口を形成することは、前記開口の前記内壁面を形成する前記樹脂から突出する突出部分を有する前記無機粒子を形成することを含み、前記第3無機粒子は前記無機粒子の前記突出部分を除去することで形成される。
【請求項7】
請求項1のプリント配線板の製造方法であって、前記開口の内壁面上の前記シード層の断面は略階段状の形状を有する。
【請求項8】
請求項1のプリント配線板の製造方法であって、前記めっきレジストを形成することは、前記シード層上に前記めっきレジストを形成するための樹脂層を形成することと前記樹脂層に気体を介して圧力を加えることを含む。
【請求項9】
請求項8のプリント配線板の製造方法であって、前記圧力を加えることは前記樹脂層を形成することの後に行われる。
【請求項10】
請求項9のプリント配線板の製造方法であって、前記めっきレジストを形成することは、さらに、前記樹脂層に熱を加えることを含み、前記圧力を加えることと前記熱を加えることは同時に行われる。
(【請求項11】以降は省略されています)
発明の詳細な説明
【技術分野】
【0001】
本明細書によって開示される技術はプリント配線板の製造方法に関する。
続きを表示(約 2,900 文字)
【背景技術】
【0002】
特許文献1はプリント配線板の製造方法を開示する。特許文献1の実施例は、絶縁樹脂層に非貫通穴を形成することと絶縁樹脂層の表面に微細な凹凸を形成することと無電解銅めっきを用いて給電層を形成することとフォトマスクを用いてめっきレジストを形成することを含む製造方法を開示している。めっきレジストの除去は酸化剤を用いて行われる。
【先行技術文献】
【特許文献】
【0003】
特開2001-217526号公報
【発明の概要】
【0004】
[特許文献1の課題]
特許文献1の実施例によれば、給電層(シード層)は凹凸を有する絶縁樹脂層の表面上に形成される無電解銅めっき膜である。給電層は絶縁樹脂層の表面の凹凸に追従すると考えられる。給電層の上面は凹凸を有すると考えられる。給電層の凹凸のため特許文献1の実施例は配線の伝送損失を小さくできないと考えられる。給電層の上面の凹凸のためめっきレジスト形成用のフォトレジストと給電層間の接触面積が小さいと考えられる。現像によりめっきレジストが給電層から剥がれると考えられる。特にめっきレジストの幅が小さい場合に剥がれが発生しやすいと考えられる。特許文献1の実施例は微細な配線を形成しがたいと考えられる。
【課題を解決するための手段】
【0005】
本発明のプリント配線板の製造方法は、第1導体層上に第1面と前記第1面と反対側の第2面とを有する樹脂絶縁層を形成することと、前記樹脂絶縁層の前記第1面上に保護膜を形成することと、前記保護膜と前記樹脂絶縁層を同時に貫通し前記第1導体層に至るビア導体用の開口を形成することと、前記開口を形成することの後に前記樹脂絶縁層から前記保護膜を除去することと、前記樹脂絶縁層の前記第1面をクリーニングすることと、前記樹脂絶縁層の前記第1面上に第2導体層を形成することと、前記開口に前記第1導体層と前記第2導体層を接続するビア導体を形成すること、とを含む。前記樹脂絶縁層は樹脂と無機粒子を含み、前記無機粒子は前記樹脂に部分的に埋まっている第1無機粒子と前記樹脂に完全に埋まっている第2無機粒子を含み、前記第1無機粒子の形状はほぼ球であり、前記第2無機粒子の形状はほぼ球である。前記クリーニングすることは、前記第2無機粒子の一部が前記樹脂絶縁層の前記第1面から突出するように、前記樹脂を選択的に除去することを含む。前記樹脂を選択的に除去することにより前記第2無機粒子から前記第1無機粒子が形成される。前記第1無機粒子は前記樹脂から突出する第1部分と前記樹脂に埋まっている第2部分で形成され、前記第1面は前記樹脂の上面と前記上面から露出する前記第1部分の露出面で形成されている。前記第2導体層を形成することは、前記樹脂絶縁層の前記第1面上にスパッタリングによってシード層を形成することと、前記シード層上にDI露光を用いてめっきレジストを形成することと、前記めっきレジストから露出する前記シード層上に電解めっき層を形成することと、前記めっきレジストを除去することと、前記電解めっき層から露出する前記シード層を除去すること、とを含む。
【0006】
本発明の実施形態のプリント配線板の製造方法によると、樹脂絶縁層の第1面に凹部がほぼ形成されない。樹脂絶縁層の第1面は凹部をほぼ有さない。樹脂絶縁層の第1面上にスパッタリングを用いて形成されるシード層の上面も凹部をほぼ有さない。例えば、電気信号が信号配線を伝搬するとき、実施形態は伝送損失を小さくすることができる。実施形態は配線の伝送損失を小さくすることができる。シード層がスパッタリングを用いて形成されるため樹脂絶縁層とシード層間の接着強度が高い。導体回路が樹脂絶縁層から剥がれがたい。スパッタリング製膜の厚みが薄くても実施形態は連続するシード層を形成することができる。シード層が除去される時、実施形態はシード層を除去するためのエッチング量を少なくすることができる。またシード層の上面が凹部をほぼ有さないため実施形態はDI露光を用いることで目標値に近い寸法を有する微細なめっきレジストを形成することができる。実施形態は微細な信号配線を形成することができる。実施形態は高品質なプリント配線板を形成することができる。
【図面の簡単な説明】
【0007】
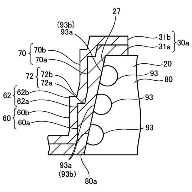
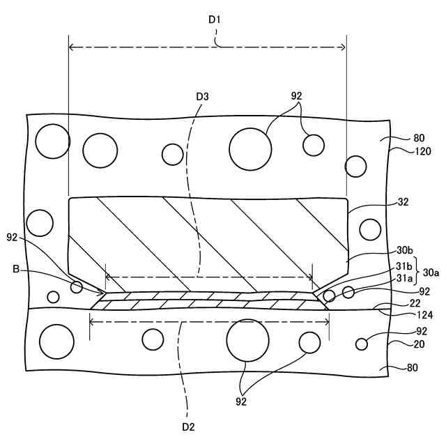
実施形態のプリント配線板を模式的に示す断面図。
実施形態のプリント配線板の一部を模式的に示す拡大断面図。
実施形態のプリント配線板の一部を模式的に示す拡大断面図。
実施形態のプリント配線板の一部を模式的に示す拡大断面図。
実施形態のプリント配線板の一部を模式的に示す拡大断面図。
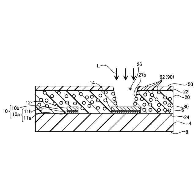
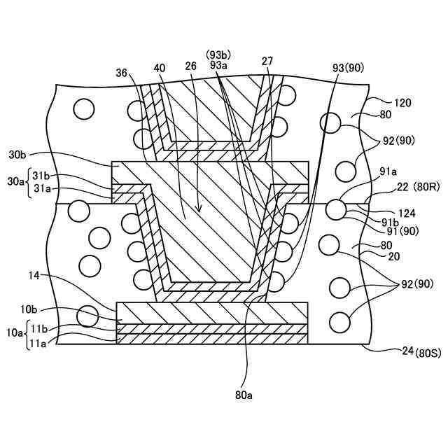
実施形態のプリント配線板の製造方法を模式的に示す断面図。
実施形態のプリント配線板の製造方法を模式的に示す断面図。
実施形態のプリント配線板の製造方法を模式的に示す断面図。
実施形態のプリント配線板の製造方法を模式的に示す拡大断面図。
実施形態のプリント配線板の製造方法を模式的に示す断面図。
実施形態のプリント配線板の製造方法を模式的に示す拡大断面図。
実施形態のプリント配線板の製造方法を模式的に示す断面図。
実施形態のプリント配線板の製造方法を模式的に示す拡大断面図。
【発明を実施するための形態】
【0008】
[実施形態]
図1は実施形態のプリント配線板2を示す断面図である。図2~図5は実施形態のプリント配線板2の一部を示す拡大断面図である。図1に示されるように、プリント配線板2は、絶縁層4と導体層(第1導体層)10と樹脂絶縁層(第1樹脂絶縁層)20と導体層(第2導体層)30とビア導体40と樹脂絶縁層(第2樹脂絶縁層)120と導体層(第3導体層)130とビア導体140を有する。
【0009】
絶縁層4は樹脂を用いて形成される。絶縁層4はシリカ等の無機粒子を含んでもよい。絶縁層4は、ガラスクロス等の補強材を含んでもよい。絶縁層4は、第3面6と第3面6と反対側の第4面8を有する。
【0010】
第1導体層10は絶縁層4の第3面6上に形成されている。第1導体層10は信号配線12とパッド14を含む。図に示されていないが、第1導体層10は信号配線12とパッド14以外の導体回路も含んでいる。第1導体層10は主に銅によって形成される。第1導体層10は、絶縁層4上のシード層10aとシード層10a上の電解めっき層10bで形成されている。シード層10aの厚みは0.5μm未満である。シード層10aは第3面6上の第1層11aと第1層11a上の第2層11bで形成されている。第1層11aは絶縁層4に接している。第1層11aの厚みと第2層11bの厚みとの比(第1層の厚み/第2層の厚み)は0.25以上、0.7以下である。第2層11bの厚みは第1層11aの厚みより厚いことが好ましい。
(【0011】以降は省略されています)
この特許をJ-PlatPat(特許庁公式サイト)で参照する
関連特許
イビデン株式会社
断熱材
26日前
イビデン株式会社
断熱材
26日前
イビデン株式会社
断熱材
26日前
イビデン株式会社
断熱材
26日前
イビデン株式会社
配線基板
1か月前
イビデン株式会社
配線基板
27日前
イビデン株式会社
配線基板
28日前
イビデン株式会社
ハニカムフィルタ
1か月前
イビデン株式会社
ハニカムフィルタ
29日前
イビデン株式会社
配線基板の製造方法
28日前
イビデン株式会社
配線基板の製造方法
28日前
イビデン株式会社
配線基板の製造方法
28日前
イビデン株式会社
配線基板の製造方法
1か月前
イビデン株式会社
配線基板の製造方法
28日前
イビデン株式会社
配線基板の製造方法
1か月前
イビデン株式会社
配線基板の製造方法
1か月前
イビデン株式会社
配線基板の製造方法
1か月前
イビデン株式会社
配線基板の製造方法
1か月前
イビデン株式会社
部品内蔵基板の製造方法
12日前
イビデン株式会社
プリント配線板の製造方法
28日前
イビデン株式会社
配線基板及びその製造方法
1か月前
イビデン株式会社
配線基板及びその製造方法
1か月前
イビデン株式会社
プリント配線板の製造方法
28日前
イビデン株式会社
プリント配線板の製造方法
1か月前
イビデン株式会社
プリント配線板の製造方法
28日前
イビデン株式会社
コア基板及びその製造方法
6日前
イビデン株式会社
マット材及び保持シール材
27日前
イビデン株式会社
プリント配線板の製造方法
15日前
イビデン株式会社
熱伝達抑制シート及び組電池
1か月前
イビデン株式会社
光導波路及び導波路搭載基板
1か月前
イビデン株式会社
熱伝達抑制シート及び組電池
26日前
イビデン株式会社
プリント配線板およびその製造方法
1か月前
イビデン株式会社
配線基板および配線基板の製造方法
1か月前
イビデン株式会社
配線基板および配線基板の製造方法
22日前
イビデン株式会社
電池パック用断熱材及び電池パック
26日前
イビデン株式会社
電池パック用断熱材及び電池パック
26日前
続きを見る
他の特許を見る