TOP
|
特許
|
意匠
|
商標
特許ウォッチ
Twitter
他の特許を見る
10個以上の画像は省略されています。
公開番号
2025149946
公報種別
公開特許公報(A)
公開日
2025-10-08
出願番号
2025049138
出願日
2025-03-25
発明の名称
回路基板
出願人
センスネットシステム株式会社
代理人
個人
主分類
H05K
3/10 20060101AFI20251001BHJP(他に分類されない電気技術)
要約
【課題】電気的特性を示す回路基板の製造において、非導通状態の部分を導通状態である回路パターンに容易に追加可能にさせることに寄与する。
【解決手段】回路基板10は、非導電性の第1平面基板11の上に、所定の物理的変化が印加されることに応じて非導電状態から導電状態に変化する導電性インク12が塗布された回路基板であって、導電性インクが塗布された範囲のうち一部の範囲である所定範囲に物理的変化が印加され、物理的変化が印加された所定範囲の所定パターン13に基づいた電気的特性を示す。
【選択図】図1
特許請求の範囲
【請求項1】
非導電性の第1基板の上に、所定の物理的変化が印加されることに応じて非導電状態から導電状態に変化する導電性インクが塗布された回路基板であって、
前記導電性インクが塗布された範囲のうち一部の範囲である所定範囲に前記物理的変化が印加され、
前記物理的変化が印加された前記所定範囲の所定パターンに基づいた電気的特性を示す、
回路基板。
続きを表示(約 1,600 文字)
【請求項2】
前記物理的変化の印加は、所定温度以上で加熱することによって焼結することである、
請求項1に記載の回路基板。
【請求項3】
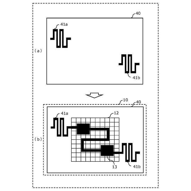
前記第1基板の上に、さらに、一又は複数の導体パターンが形成され、
前記所定パターンは、前記一又は複数の導体パターンの少なくとも一の導体パターンと物理的に接触する、
請求項1に記載の回路基板。
【請求項4】
非導電性の第2基板の上に一又は複数の導体パターンが形成され、
前記所定パターンと、前記一又は複数の導体パターンの少なくとも一の導体パターンとが物理的に接触するように前記第2基板が貼付された、
請求項1に記載の回路基板。
【請求項5】
前記所定パターンは、第1端子パターン及び第2端子パターンに接続された回路素子パターンを少なくとも含む、
請求項1に記載の回路基板。
【請求項6】
前記回路素子パターンは、前記第1端子パターン及び前記第2端子パターンに接続された抵抗素子のパターンであり、
前記抵抗素子のパターンにおける線の幅及び長さのうち少なくとも一方について、前記物理的変化を追加で印加して変化させることによって前記抵抗素子の電気的特性である抵抗値を調整可能である、
請求項5に記載の回路基板。
【請求項7】
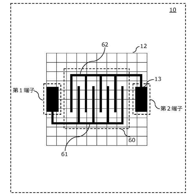
前記回路素子パターンは、前記第1端子パターンに接続された第1櫛状パターンと、前記第2端子パターンに接続された第2櫛状パターンとが非接触で対向するように形成された容量性素子のパターンであり、
前記容量性素子のパターンにおける前記第1櫛状パターンと前記第2櫛状パターンとが対向するそれぞれの線の長さ及び幅の少なくとも一方について、前記物理的変化を追加で印加して変化させることによって前記容量性素子の電気的特性である容量値を調整可能である、
請求項5に記載の回路基板。
【請求項8】
前記回路素子パターンは、前記第1端子パターン及び前記第2端子パターンに接続された誘導性素子のパターンであり、
前記誘導性素子のパターンにおける線の幅、長さ、及び、曲げの回数のうち少なくとも一について、前記物理的変化を追加で印加して変化させることによって前記誘導性素子の電気的特性であるインダクタンス値を調整可能である、
請求項5に記載の回路基板。
【請求項9】
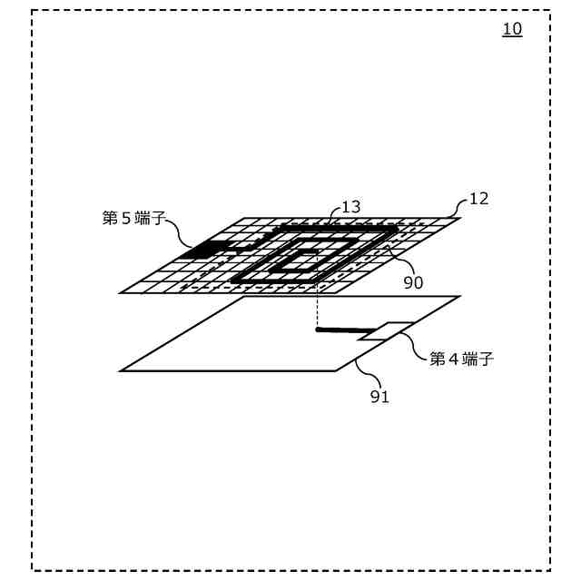
前記回路基板は、さらに、導電性の第3基板及び絶縁基板を備え、前記第1基板と前記第3基板との間に前記絶縁基板が挟まれた積層構造であって、
前記所定パターンは、第3端子パターン、及び、前記第3端子パターンに接続された容量性素子のパターンを少なくとも含み、
前記容量性素子のパターンの面積について、前記物理的変化を追加で印加して変化させることによって前記容量性素子の電気的特性である容量値を調整可能である、
請求項1に記載の回路基板。
【請求項10】
前記回路基板は、前記所定パターンが形成された層と、さらに、第4端子パターン及び前記第4端子パターンに接続された導線パターンを含む層を有する積層構造であり、
前記所定パターンは、第5端子パターン、及び、前記第5端子パターンに接続された巻線形状の誘導性素子のパターンを含み、前記誘導性素子の端部と前記導線パターンとが垂直平面上で重畳するように形成され、
前記誘導性素子のパターンの巻線密度及び巻線回数の少なくとも一方について、前記物理的変化を追加で印加して変化させることによって前記誘導性素子の電気的特性であるインダクタンス値を調整可能である、
請求項1に記載の回路基板。
(【請求項11】以降は省略されています)
発明の詳細な説明
【技術分野】
【0001】
本発明は、回路基板に関する。
続きを表示(約 2,100 文字)
【背景技術】
【0002】
電気回路基板の製造において、導電性インクを用いた方法が開発されている。例えば、平板状に形成され配線形成面を有する基板と、前記基板の配線形成面上に形成され前記基板に対して所定の接着力を有するプライマー樹脂層と、前記プライマー樹脂層上に形成された配線層とを備え、前記配線層は、前記プライマー樹脂層を覆う状態で塗布され前記基板に対する接着力が前記プライマー樹脂層の前記基板に対する接着力より小さくされた導電性インクのうち前記基板の配線形成面に接する部分が除去手段によって除去されて形成された回路基板がある(例えば、特許文献1参照)。
【先行技術文献】
【特許文献】
【0003】
特開2012-104613号公報
【発明の概要】
【発明が解決しようとする課題】
【0004】
しかし、上述した特許文献1の技術(以下、従来技術)は、回路基板に導電性インクを塗布した後、接着の強弱を利用して不要部分を除去して回路パターンを形成するものであるが、回路パターンを事後的に広げることが困難であった。
【0005】
本発明の目的は、電気的特性を示す回路基板の製造において、非導通状態の部分を導通状態である回路パターンに容易に追加可能にさせることに寄与する回路基板を提供することである。
【課題を解決するための手段】
【0006】
本発明の一態様に係る回路基板は、非導電性の第1基板の上に、所定の物理的変化が印加されることに応じて非導電状態から導電状態に変化する導電性インクが塗布された回路基板であって、前記導電性インクが塗布された範囲のうち一部の範囲である所定範囲に前記物理的変化が印加され、前記物理的変化が印加された前記所定範囲の所定パターンに基づいた電気的特性を示す、構成を採る。
【発明の効果】
【0007】
本発明によれば、電気的特性を示す回路基板の製造において、非導通状態の部分を導通状態である回路パターンに容易に追加可能にさせることに寄与することができる。
【図面の簡単な説明】
【0008】
本発明の実施形態1に係る回路基板の構成の一例を示す図
本発明の実施形態1に係る回路基板の製造工程の一例を示す図
導体パターンが形成された基板上において本発明に係る回路基板が製造される工程の一例を示す図
導体パターンが形成された基板上に本発明に係る回路基板を実装する工程の一例を示す図
抵抗素子が形成された本発明に係る回路基板の一例を示す図
容量性素子が形成された本発明に係る回路基板の一例を示す図
誘導性素子が形成された本発明に係る回路基板の一例を示す図
容量性素子が形成された本発明に係る回路基板の他の例を示す図
誘導性素子が形成された本発明に係る回路基板の他の例を示す図
アンテナ素子が形成された本発明に係る回路基板の一例を示す図
本発明に係る回路基板をメモリに適用する一例の説明図
本発明に係る回路基板をメモリに適用する他の例の説明図
本発明に係る回路基板を用いたメモリセルを配列した一例を示す図
本発明に係る回路基板を用いたメモリの一例を示す図
本発明に係る回路基板を用いたメモリに信号発生部を接続した一例を示す図
本発明に係る回路基板を用いたメモリに記録された情報の一例を示す図
変形例1における抵抗素子が形成された回路基板の一例を示す図
変形例2に係る回路基板の製造工程の一例を示す図
変形例2に係る回路基板における抵抗値を制御する方法の一例を示す図
本発明に係る回路基板に塗布された導電性インク上に示された形状の一例を示す図
導電性インク上に回路素子が形成された基板において本発明に係る回路基板が製造される工程の一例を示す図
導電性インク上に回路素子が形成された基板において本発明に係る回路基板が製造される工程の他の一例を示す図
変形例3に係る回路基板の模式図を用いた製造工程の一例を示す図
変形例3に係る回路基板を用いた製造工程の一例を示す図
変形例3に係る回路基板を用いた製造工程の他の第1例を示す図
変形例3に係る回路基板を用いた製造工程の他の第2例を示す図
【発明を実施するための形態】
【0009】
(本発明に係る一態様を発明するに至った経緯)
【0010】
一般に、電気回路の製造において、エッチングなどの化学的処理を施して所定の回路を製造する方法があるが、化学的処理を施す方法は廃液などが発生し環境負荷が大きい。さらに、当該方式では事後的な回路変更を施すことが困難である。具体的には、個体の特性に合わせて電気的特性を調整するため、又は、個体ごとに個別の情報を書き込むためには、電気回路を製造した後に、内容や状態を可変とする必要があるが、化学的処理を施す方法では実現が困難である。
(【0011】以降は省略されています)
この特許をJ-PlatPat(特許庁公式サイト)で参照する
関連特許
日星電気株式会社
面状ヒータ
23日前
株式会社デンソー
電子装置
9日前
日本精機株式会社
車両表示装置用回路基板
2日前
日産自動車株式会社
電子機器
17日前
豊田合成株式会社
制御ユニット
9日前
TDK株式会社
接合構造
9日前
株式会社羽野製作所
プリント配線板
17日前
象印マホービン株式会社
電磁調理器
4日前
象印マホービン株式会社
電磁調理器
4日前
象印マホービン株式会社
電磁調理器
4日前
象印マホービン株式会社
電磁調理器
4日前
株式会社SUBARU
電波吸収体の製造方法
23日前
株式会社指月電機製作所
ケース、コンデンサ
2日前
三菱電機株式会社
電気機器
17日前
株式会社FUJI
テープガイド
23日前
東京エレクトロン株式会社
プラズマ処理装置及び整合器
2日前
日本特殊陶業株式会社
加熱装置
2日前
信越ポリマー株式会社
配線基板及びその製造方法
17日前
矢崎総業株式会社
接続回路及びその製造方法
10日前
株式会社ミクニ
制御回路ユニット
17日前
FICT株式会社
多層基板
9日前
日東電工株式会社
ヒータモジュール、およびロボット
10日前
株式会社ミクニ
制御回路ユニット
17日前
株式会社ミクニ
制御回路ユニット
17日前
メクテック株式会社
電装品及び補強板
2日前
リウ チョー アン
縁石用電子装置
2日前
日東電工株式会社
フレキシブル多層回路基板
17日前
イビデン株式会社
配線基板の製造方法
23日前
ヤマハ発動機株式会社
ノズル収容構造体および部品実装機
17日前
株式会社TISM
回路基板及び電子基板
9日前
スタンレー電気株式会社
制御装置、照明装置及び車両用灯具
2日前
三菱電機株式会社
冷却構造および電子機器
9日前
FICT株式会社
多層基板の製造方法
2日前
イビデン株式会社
プリント配線板
2日前
太陽ホールディングス株式会社
電子回路基板
25日前
川湖科技股分有限公司
支持装置
2日前
続きを見る
他の特許を見る