TOP
|
特許
|
意匠
|
商標
特許ウォッチ
Twitter
他の特許を見る
10個以上の画像は省略されています。
公開番号
2025144303
公報種別
公開特許公報(A)
公開日
2025-10-02
出願番号
2024044021
出願日
2024-03-19
発明の名称
光導波路及び導波路搭載基板
出願人
イビデン株式会社
代理人
弁理士法人朝日奈特許事務所
主分類
G02B
6/122 20060101AFI20250925BHJP(光学)
要約
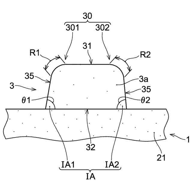
【課題】光導波路のコアの変形の抑制。
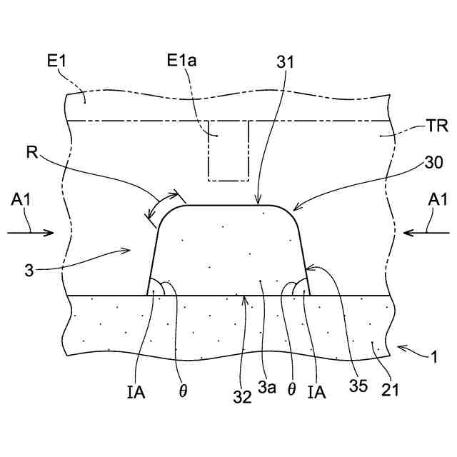
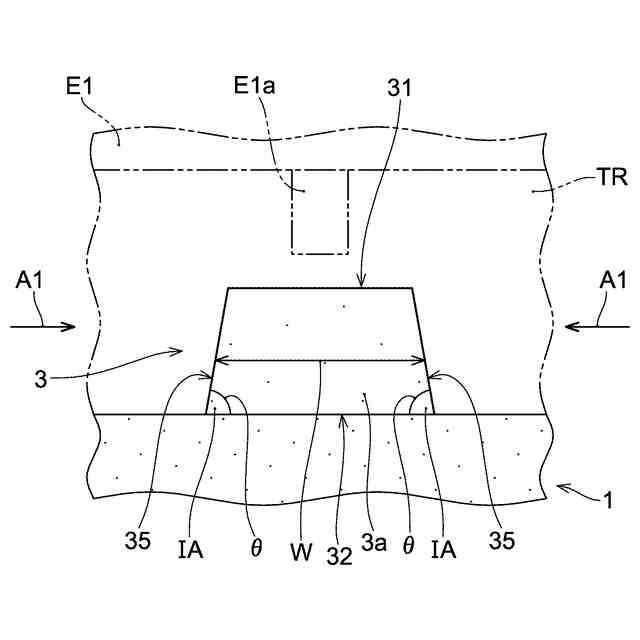
【解決手段】実施形態の光導波路1は、下部クラッド21と、下部クラッド21上に形成されているコア3と、下部クラッド21及びコア3の上に形成されている上部クラッド22と、を含み、光信号の入射側または出射側のコア3の一部が露出している。光導波路1は、上部クラッド非形成領域と上部クラッド形成領域からなり、上部クラッド非形成領域には、コア3の上面31が露出するコア露出部3aがあり、上部クラッド形成領域には、コア3の上面31が露出しないコア非露出部があり、コア露出部3aにおけるコア3の断面形状が台形であり、その台形における下部クラッド21側の内角の角度(θ)は、80°<θ<90°の関係を満たしている。
【選択図】図3
特許請求の範囲
【請求項1】
下部クラッドと、前記下部クラッド上に形成されているコアと、前記下部クラッド及び前記コアの上に形成されている上部クラッドと、を含み、光信号の入射側または出射側の前記コアの一部が露出する光導波路であって、
前記光導波路は、上部クラッド非形成領域と上部クラッド形成領域からなり、
前記上部クラッド非形成領域には、コアの上面が露出するコア露出部があり、
前記上部クラッド形成領域には、コアの上面が露出しないコア非露出部があり、
前記コア露出部における前記コアの断面形状が台形であり、
前記台形における前記下部クラッド側の内角の角度θは、下記式1の関係を満たしている。
80°<θ<90° ・・・(式1)
続きを表示(約 900 文字)
【請求項2】
請求項1記載の光導波路であって、
前記断面形状において、前記下部クラッド側の2つの前記内角の角度は、互いに異なっている。
【請求項3】
請求項1記載の光導波路であって、前記コアの断面形状の角部は、丸まっている。
【請求項4】
請求項3記載の光導波路であって、前記角部は、前記コア露出部において露出している前記コアの前記上面と前記コアの側面とを繋いでいる部分である。
【請求項5】
請求項4記載の光導波路であって、前記断面形状の角部における丸まっている部分の長さ(R)は、下記式2の関係を満たしている。
1.5μm≦R≦4.5μm ・・・(式2)
【請求項6】
請求項5記載の光導波路であって、
前記断面形状の角部は、前記コアの断面の正面視において、一端を第1角部とし、他端を第2角部としており、
前記第1角部の丸まっている部分の長さと前記第2角部の丸まっている部分の長さが異なっている。
【請求項7】
請求項1の光導波路であって、前記コア露出部におけるコアの最大幅は、前記コア非露出部におけるコアの幅よりも広い。
【請求項8】
絶縁層及び前記絶縁層の上に積層されている導体層を含む配線基板と、
前記配線基板の上に配置されている請求項1記載の光導波路と、
を含んでいる導波路搭載基板。
【請求項9】
請求項8記載の導波路搭載基板であって、2以上の前記光導波路を含んでおり、
前記2以上の光導波路は、前記2以上の光導波路それぞれの前記コア露出部同士を、前記2以上の光導波路それぞれの前記コア非露出部同士よりも近付けて、前記配線基板の上に配置されている。
【請求項10】
請求項9記載の導波路搭載基板であって、
前記2以上の光導波路は所定の方向に沿って形成されており、
各光路導波路は、前記コア露出部同士が45°から180°までの間の角度で向かい合う向きで、配置されている。
発明の詳細な説明
【技術分野】
【0001】
本発明は、光導波路及び導波路搭載基板に関する。
続きを表示(約 2,300 文字)
【背景技術】
【0002】
特許文献1には、ポリマーフィルム上に形成されたポリマー導波路アレイ、及びシリコンチップ上に形成されたシリコン導波路アレイが開示されている。矩形の断面形状を有するポリマー導波路のコアと、シリコン導波路のコアとは、光軸方向の所定距離に渡って重なるように配置されてアディアバティック結合によって光学的に結合されている。
【先行技術文献】
【特許文献】
【0003】
特開2014-81587号公報
【発明の概要】
【発明が解決しようとする課題】
【0004】
特許文献1に開示のものでは、シリコン導波路が形成されたシリコンチップが、フェースダウン形式でポリマー導波路とアディアバティック結合されている。ポリマー導波路のコア、及びシリコン導波路のコアは、例えば数μm程度の極めて小さな間隔で配置されることがある。そのため、ポリマー導波路のコアには応力が伝わってしまい、ポリマー導波路のコアが変形してしまうことがある。その一例としては、使用中の発熱による熱応力が発生し、その応力がポリマー導波路のコアに伝わり、ポリマー導波路のコアに変形が生じることが考えられる。また、シリコン導波路を実装させる際に、ポリマー導波路のコアに接触し、その力がポリマー導波路のコアに伝わり、ポリマー導波路のコアに変形が生じることも考えられる。コアの変形は、ポリマー導波路とシリコン導波路との光学的な結合の効率を低下させると推察される。
【課題を解決するための手段】
【0005】
本発明の光導波路は、下部クラッドと、前記下部クラッド上に形成されているコアと、前記下部クラッド及び前記コアの上に形成されている上部クラッドと、を含み、光信号の入射側または出射側の前記コアの一部が露出する光導波路である。そして、前記光導波路は、上部クラッド非形成領域と上部クラッド形成領域からなり、前記上部クラッド非形成領域には、コアの上面が露出するコア露出部があり、前記上部クラッド形成領域には、コアの上面が露出しないコア非露出部があり、前記コア露出部における前記コアの断面形状が台形であり、前記台形における前記下部クラッド側の内角の角度θは、下記式1の関係を満たしている。
80°<θ<90° ・・・(式1)
【0006】
本発明の導波路搭載基板は、絶縁層及び前記絶縁層の上に積層されている導体層を含む配線基板と、前記配線基板の上に配置されている上記光導波路と、を含んでいる。
【0007】
本発明の実施形態によれば、例えば使用中の発熱や外部の光学部品との接触によって発生した応力が光導波路のコアに伝播しても、コアの断面形状が台形であるので、その応力が分散されると考えられる。従って、光導波路のコアの変形が抑制されると考えられる。そのため、実施形態の光導波路と光学部品とを、良好な結合効率で光学的に結合することができると推察される。
【図面の簡単な説明】
【0008】
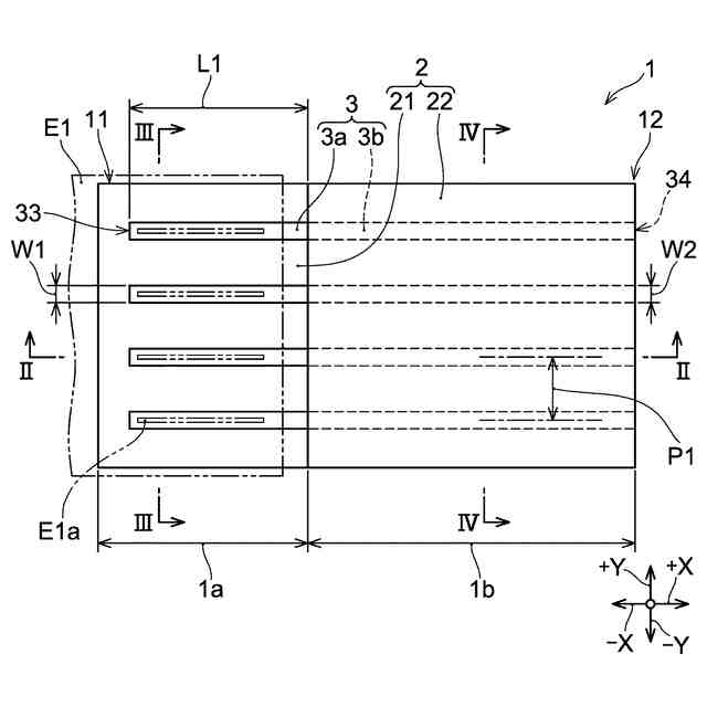
本発明の実施形態の光導波路の一例を示す平面図。
図1の例の光導波路のII-II線での断面図。
図1の例の光導波路のIII-III線での断面図。
図1の例の光導波路のIV-IV線での断面図。
実施形態の光導波路におけるコア露出部のコアの断面の拡大図。
実施形態の光導波路のコアの台形の断面形状の内角の角度の測定方法を示す図。
実施形態の光導波路のコア露出部のコアの形状の第1変形例を示す断面図。
図7の第1変形例のコアの丸まっている部分の長さの測定方法を示す図。
実施形態の光導波路のコア露出部のコアの形状の第2変形例を示す断面図。
実施形態の光導波路のコア露出部のコアの形状の第3変形例を示す平面図。
本発明の第1実施形態の導波路搭載基板の一例を示す断面図。
本発明の第2実施形態の導波路搭載基板の一例を示す断面図。
本発明の第2実施形態の導波路搭載基板の一例を示す平面図。
本発明の実施形態の導波路搭載基板の変形例を示す平面図。
実施形態の光導波路の製造工程の一例を示す平面図。
実施形態の光導波路の製造工程の一例を示す正面図。
実施形態の光導波路の製造工程の一例を示す正面図。
図15Cの例の光導波路のXVD-XVD線での断面図。
実施形態の導波路搭載基板の製造工程の一例を示す断面図。
【発明を実施するための形態】
【0009】
本発明の実施形態の光導波路及び導波路搭載基板が図面を参照しながら説明される。以下の説明で参照される各図面では、開示される実施形態が理解され易いように特定の部分が拡大して描かれていることがある。従って、大きさや長さに関して、各構成要素が正確な比率で描かれていない場合がある。
【0010】
<実施形態の光導波路の構造>
図1には、一実施形態の光導波路の一例である光導波路1の平面図が示されている。図2には、図1の光導波路1のII-II線での断面が示されている。図3には、図1の光導波路1のIII-III線での断面が示されており、図4には、図1の光導波路1のIV-IV線での断面が示されている。なお、図1などに例示の光導波路1は実施形態の光導波路の一例に過ぎない。実施形態の光導波路の構造は、図1などの各図面に示される構造に限定されない。
(【0011】以降は省略されています)
この特許をJ-PlatPat(特許庁公式サイト)で参照する
関連特許
イビデン株式会社
断熱材
1か月前
イビデン株式会社
断熱材
1か月前
イビデン株式会社
断熱材
1か月前
イビデン株式会社
断熱材
1か月前
イビデン株式会社
配線基板
1か月前
イビデン株式会社
配線基板
1か月前
イビデン株式会社
電子部品内蔵基板
17日前
イビデン株式会社
ワークの加工方法
19日前
イビデン株式会社
配線基板の製造方法
1か月前
イビデン株式会社
配線基板の製造方法
1か月前
イビデン株式会社
配線基板の製造方法
1か月前
イビデン株式会社
配線基板の製造方法
1か月前
イビデン株式会社
配線基板の製造方法
10日前
イビデン株式会社
部品内蔵基板の製造方法
1か月前
イビデン株式会社
プリント配線板の製造方法
1か月前
イビデン株式会社
プリント配線板の製造方法
1か月前
イビデン株式会社
プリント配線板の製造方法
1か月前
イビデン株式会社
コア基板及びその製造方法
25日前
イビデン株式会社
マット材及び保持シール材
1か月前
イビデン株式会社
熱伝達抑制シート及び組電池
1か月前
イビデン株式会社
電池パック用断熱材及び電池パック
1か月前
イビデン株式会社
配線基板および配線基板の製造方法
1か月前
イビデン株式会社
電池パック用断熱材及び電池パック
1か月前
イビデン株式会社
海藻の成長促進剤および海藻の養殖方法
1か月前
イビデン株式会社
部品内蔵基板及び部品内蔵基板の製造方法
1か月前
イビデン株式会社
プリント配線板、及びプリント配線板の製造方法
17日前
イビデン株式会社
熱伝達抑制シート及びその製造方法、並びに組電池
1か月前
イビデン株式会社
熱伝達抑制シート及びその製造方法、並びに組電池
1か月前
イビデン株式会社
SiC単結晶製造装置及びSiC単結晶の製造方法
1か月前
イビデン株式会社
多層プリント配線板および多層プリント配線板の製造方法
20日前
個人
立体像表示装置
1か月前
カンタツ株式会社
光学系
1か月前
住友化学株式会社
偏光板
1か月前
株式会社シグマ
結像光学系
17日前
株式会社シグマ
結像光学系
27日前
住友化学株式会社
垂直偏光板
1か月前
続きを見る
他の特許を見る