TOP
|
特許
|
意匠
|
商標
特許ウォッチ
Twitter
他の特許を見る
10個以上の画像は省略されています。
公開番号
2025165110
公報種別
公開特許公報(A)
公開日
2025-11-04
出願番号
2024068991
出願日
2024-04-22
発明の名称
多層プリント配線板および多層プリント配線板の製造方法
出願人
イビデン株式会社
代理人
弁理士法人銀座マロニエ特許事務所
主分類
H05K
3/46 20060101AFI20251027BHJP(他に分類されない電気技術)
要約
【課題】導体回路と樹脂絶縁層との間の接着強度を向上させるとともに、隣接する導体回路間の絶縁抵抗の低下を防止することができる多層プリント配線板を提供する。
【解決手段】第1樹脂絶縁層と、前記第1樹脂絶縁層上に形成された第1導体回路と、前記第1樹脂絶縁層上と前記第1導体回路上に形成され、前記第1導体回路に到達する開口部が形成された第2樹脂絶縁層と、前記第2樹脂絶縁層上に形成された第2導体回路と、前記開口部に形成され前記第1導体回路と前記第2導体回路とを接続するためのビア導体と、を備えた多層プリント配線板であって、前記第1導体回路の上面と前記第2導体回路の上面と前記ビア導体の上面とにAlを含む金属層が形成され、前記第1導体回路の側面と前記第2導体回路の側面と前記ビア導体の側面とに前記金属層が形成されていない、多層プリント配線板。
【選択図】図1A
特許請求の範囲
【請求項1】
第1樹脂絶縁層と、
前記第1樹脂絶縁層上に形成された第1導体回路と、
前記第1樹脂絶縁層上と前記第1導体回路上に形成され、前記第1導体回路に到達する開口部が形成された第2樹脂絶縁層と、
前記第2樹脂絶縁層上に形成された第2導体回路と、
前記開口部に形成され前記第1導体回路と前記第2導体回路とを接続するためのビア導体と、を備えた多層プリント配線板であって、
前記第1導体回路の上面と前記第2導体回路の上面と前記ビア導体の上面とにのみAlを含む金属層が形成され、
前記第1導体回路の側面と前記第2導体回路の側面と前記ビア導体の側面とに前記金属層が形成されていない、多層プリント配線板。
続きを表示(約 660 文字)
【請求項2】
請求項1に記載の多層プリント配線板であって、
前記金属層がAl-Cu合金、Al-Mn合金、Al-Si合金、Al-Mg合金、及びAl-Mg-Si合金から選ばれる少なくとも1種のAl合金を単独で、あるいは、2種以上を組み合わせて含有する、多層プリント配線板。
【請求項3】
導体回路と樹脂絶縁層とを密着するためのAlを含む金属層を備えた多層プリント配線板の製造方法であって、
第1樹脂絶縁層を形成することと、
前記第1樹脂絶縁層上に第1導体回路を形成することと、
前記第1導体回路が形成された後に露出する前記第1樹脂絶縁層上にめっきレジストを形成することによりめっきレジスト凹部を形成することと、
前記めっきレジスト凹部から露出する前記第1導体回路の上面にのみにAlを含む金属層を形成することと、
前記Alを含む金属層を形成した後に前記第1樹脂絶縁層上から前記めっきレジストを除去することと、
前記第1樹脂絶縁層上と前記第1導体回路と前記Alを含む金属層とを覆う第2樹脂絶縁層を形成することと、
前記第2樹脂絶縁層を貫通する開口部を形成することと、
前記開口部から露出する前記Alを含む金属層を除去することと、
前記第2樹脂絶縁層上に第2導体回路を形成することと、
前記開口部に前記第1導体回路と前記第2導体回路とを接続するためのビア導体を形成すること、を含む多層プリント配線板の製造方法。
発明の詳細な説明
【技術分野】
【0001】
本発明は、多層プリント配線板および多層プリント配線板の製造方法に関する。さらに詳しくは、導体回路と樹脂絶縁層を密着するための金属膜を備えており、当該導体層の上面のみに金属膜が形成されている多層プリント配線板および多層プリント配線板の製造方法に関する。
続きを表示(約 3,500 文字)
【背景技術】
【0002】
導体回路と層間樹脂絶縁層とが交互に積層された多層プリント配線板が提案されている。このような多層プリント配線板を構成している銅等から構成される導体回路は、層間樹脂絶縁層との密着性が良好ではない。このような観点から、導体回路の表面に所定の金属膜を形成するとともに、この金属膜上にカップリング剤からなる被膜を形成し、さらに、ビア導体の底部の少なくとも一部と導体回路と直接接続した多層プリント配線板が提案されている。かかる多層プリント配線板は、導体回路と層間樹脂絶縁層との密着性を確保しつつ、導体回路とビア導体との電気特性を維持することができることを特徴としている。
【0003】
図3は、かかる多層プリント配線板の実施の形態の一例を示す概略断面図である。図3に示されるように、多層プリント配線板は、層間樹脂絶縁層112a上に導体回路114及び層間絶縁層112a上の導体回路114と部品搭載用パッド107とを接続するビア導体117とを備えている。さらに、かかる多層プリント配線板のビア導体117の表面には、Snを含む金属層及びシランカップリング剤からなる被膜を有する導体回路被膜層115が形成されている。ここで、導体回路被膜層115は、ビア導体117の表面を被覆するようにビア導体117の側面及びビア導体117の上面に形成されている(特許文献1)。
【先行技術文献】
【特許文献】
【0004】
特許第5033192号明細書
【発明の概要】
【発明が解決しようとする課題】
【0005】
特許文献1に開示された技術では、ビア導体117の表面にSnを含む金属層及びシランカップリング剤からなる被膜を有する導体回路被膜層115を形成する際に層間樹脂絶縁層112aが露出している。このため、導体回路114が露出している層間樹脂絶縁層112a上に導体回路被膜層115を構成する金属層が析出する可能性がある。
その結果、層間樹脂絶縁層112a上に導体回路被膜層115を構成する金属層が析出した多層プリント配線板は、当該金属層の影響により、隣接する導体回路114間の絶縁抵抗が低下するという問題点を有する。
さらに、特許文献1に開示された多層プリント配線板において、層間樹脂絶縁層112aの膨張による変形に導体回路被膜層115が追従することができない。このため、この多層プリント配線板は、導体回路114が層間樹脂絶縁層112aから剥がれやすいという問題点を有する。このような技術的観点から、本発明の技術的課題は、導体回路と樹脂絶縁層との間の接着強度を向上させるとともに、隣接する導体回路間の絶縁抵抗の低下を防止することができる多層プリント配線板を提供することにある。
【課題を解決するための手段】
【0006】
本発明に係る多層プリント配線板は、第1樹脂絶縁層と、前記第1樹脂絶縁層上に形成された第1導体回路と、前記第1樹脂絶縁層上と前記第1導体回路上に形成され、前記第1導体回路に到達する開口部が形成された第2樹脂絶縁層と、前記第2樹脂絶縁層上に形成された第2導体回路と、前記開口部に形成され前記第1導体回路と前記第2導体回路とを接続するためのビア導体と、を備えた多層プリント配線板であって、
前記第1導体回路の上面と前記第2導体回路の上面と前記ビア導体の上面とにのみAlを含む金属層が形成され、前記第1導体回路の側面と前記第2導体回路の側面と前記ビア導体の側面とに前記金属層が形成されていないことを特徴とする。
【0007】
また、本発明に係る多層プリント配線板の製造方法は、導体回路と樹脂絶縁層とを密着するためのAlを含む金属層を備えた多層プリント配線板の製造方法であって、第1樹脂絶縁層を形成することと、前記第1樹脂絶縁層上に第1導体回路を形成することと、前記第1導体回路が形成された後に露出する前記第1樹脂絶縁層上に複数のめっきレジストを形成することによりめっきレジスト凹部を形成することと、前記めっきレジスト凹部から露出する前記第1導体回路の上面にのみにAlを含む金属層を形成することと、前記Alを含む金属層を形成した後に前記第1樹脂絶縁層上から前記めっきレジストを除去することと、前記第1樹脂絶縁層上と前記第1導体回路と前記Alを含む金属層とを覆う第2樹脂絶縁層を形成することと、前記第2樹脂絶縁層を貫通する開口部を形成することと、前記開口部から露出する前記Alを含む金属層を除去することと、前記第2樹脂絶縁層上に第2導体回路を形成することと、前記開口部に前記第1導体回路と前記第2導体回路とを接続するためのビア導体を形成することを特徴とする。
【図面の簡単な説明】
【0008】
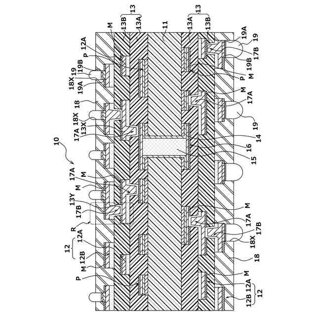
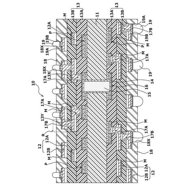
本発明に係る多層プリント配線板の製造方法の対象となる多層プリント配線基板の一実施形態を説明するための断面図である。
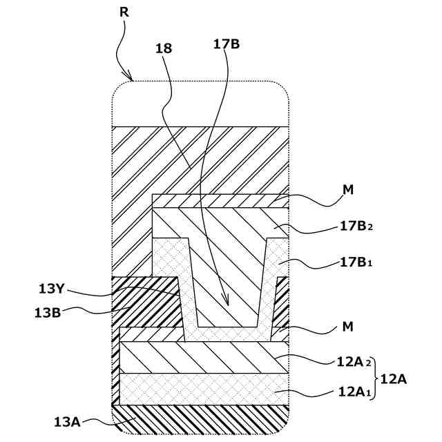
本発明に係る多層プリント配線板の製造方法の対象となる多層プリント配線基板の一実施形態を説明するための部分拡大断面図である。
本発明に係る多層プリント配線板の製造方法の一実施形態を説明するための断面図である。
本発明に係る多層プリント配線板の製造方法の一実施形態を説明するための断面図である。
本発明に係る多層プリント配線板の製造方法の一実施形態を説明するための断面図である。
本発明に係る多層プリント配線板の製造方法の一実施形態を説明するための断面図である。
本発明に係る多層プリント配線板の製造方法の一実施形態を説明するための断面図である。
本発明に係る多層プリント配線板の製造方法の一実施形態を説明するための断面図である。
本発明に係る多層プリント配線板の製造方法の一実施形態を説明するための断面図である。
本発明に係る多層プリント配線板の製造方法の一実施形態を説明するための断面図である。
本発明に係る多層プリント配線板の製造方法の一実施形態を説明するための断面図である。
本発明に係る多層プリント配線板の製造方法の一実施形態を説明するための断面図である。
本発明に係る多層プリント配線板の製造方法の一実施形態を説明するための断面図である。
本発明に係る多層プリント配線板の製造方法の一実施形態を説明するための断面図である。
本発明に係る多層プリント配線板の製造方法の一実施形態を説明するための断面図である。
本発明に係る多層プリント配線板の製造方法の一実施形態を説明するための断面図である。
本発明に係る多層プリント配線板の製造方法の一実施形態を説明するための断面図である。
本発明に係る多層プリント配線板の製造方法の一実施形態を説明するための断面図である。
本発明に係る多層プリント配線板の製造方法の一実施形態を説明するための断面図である。
本発明に係る多層プリント配線板の製造方法の一実施形態を説明するための断面図である。
本発明に係る多層プリント配線板の製造方法の一実施形態を説明するための断面図である。
本発明に係る多層プリント配線板の製造方法の一実施形態を説明するための断面図である。
従来の多層プリント配線板の製造方法によって製造された多層プリント配線板の一例を説明するための概略断面図である。
【発明を実施するための形態】
【0009】
<本発明に係る製造対象となる多層プリント配線板について>
本発明に係る多層プリント配線板の一実施形態が、図面を参照して説明される。なお、図1~図2に示す例において、各部材の寸法、特に高さ方向の寸法については、本発明の特徴をより良く理解できるようにするために、実際の寸法とは異なる寸法で記載している。
【0010】
図1は、本発明に係る多層プリント配線板の製造方法の対象となる多層プリント配線板の一実施形態を説明するための断面図である。図1Aは、多層プリント配線板を模式的に示す断面図である。図1Aにおいて、多層プリント配線板10は、コア基板11の片面または両面に導体回路12と樹脂絶縁層13とを交互に積層してなるコア付き多層プリント配線板10であってもよい。
(【0011】以降は省略されています)
この特許をJ-PlatPat(特許庁公式サイト)で参照する
関連特許
イビデン株式会社
断熱材
1か月前
イビデン株式会社
断熱材
1か月前
イビデン株式会社
断熱材
1か月前
イビデン株式会社
断熱材
1か月前
イビデン株式会社
配線基板
1か月前
イビデン株式会社
配線基板
1か月前
イビデン株式会社
配線基板
2か月前
イビデン株式会社
プリント配線板
今日
イビデン株式会社
プリント配線板
今日
イビデン株式会社
ハニカムフィルタ
1か月前
イビデン株式会社
電子部品内蔵基板
28日前
イビデン株式会社
ハニカムフィルタ
2か月前
イビデン株式会社
ワークの加工方法
1か月前
イビデン株式会社
配線基板の製造方法
1か月前
イビデン株式会社
配線基板の製造方法
2か月前
イビデン株式会社
配線基板の製造方法
2か月前
イビデン株式会社
配線基板の製造方法
2か月前
イビデン株式会社
配線基板の製造方法
2か月前
イビデン株式会社
配線基板の製造方法
21日前
イビデン株式会社
配線基板の製造方法
1か月前
イビデン株式会社
配線基板の製造方法
1か月前
イビデン株式会社
配線基板の製造方法
1か月前
イビデン株式会社
配線基板の製造方法
2か月前
イビデン株式会社
部品内蔵基板の製造方法
1か月前
イビデン株式会社
プリント配線板の製造方法
1か月前
イビデン株式会社
プリント配線板の製造方法
1か月前
イビデン株式会社
プリント配線板の製造方法
1か月前
イビデン株式会社
配線基板及びその製造方法
2か月前
イビデン株式会社
マット材及び保持シール材
1か月前
イビデン株式会社
プリント配線板の製造方法
1か月前
イビデン株式会社
コア基板及びその製造方法
1か月前
イビデン株式会社
光導波路及び導波路搭載基板
2か月前
イビデン株式会社
熱伝達抑制シート及び組電池
2か月前
イビデン株式会社
熱伝達抑制シート及び組電池
1か月前
イビデン株式会社
電池パック用断熱材及び電池パック
1か月前
イビデン株式会社
配線基板および配線基板の製造方法
1か月前
続きを見る
他の特許を見る