TOP
|
特許
|
意匠
|
商標
特許ウォッチ
Twitter
他の特許を見る
10個以上の画像は省略されています。
公開番号
2025154352
公報種別
公開特許公報(A)
公開日
2025-10-10
出願番号
2024057296
出願日
2024-03-29
発明の名称
断熱材
出願人
イビデン株式会社
代理人
弁理士法人WisePlus
主分類
F16L
59/02 20060101AFI20251002BHJP(機械要素または単位;機械または装置の効果的機能を生じ維持するための一般的手段)
要約
【課題】 1400℃以上の温度領域における断熱性能に優れる断熱材を提供する。
【解決手段】 炭素繊維及び樹脂炭化物を含む筒状の断熱材であって、上記断熱材は、一体成形体であり、上記断熱材の内面の表面粗さRaが、50μm以下である、ことを特徴とする断熱材。
【選択図】 図1
特許請求の範囲
【請求項1】
炭素繊維及び樹脂炭化物を含む筒状の断熱材であって、
前記断熱材は、一体成形体であり、
前記断熱材の内面の表面粗さRaが、50μm以下である、ことを特徴とする断熱材。
続きを表示(約 100 文字)
【請求項2】
前記断熱材の前記内面の表面粗さRaが、10μm以上である、請求項1に記載の断熱材。
【請求項3】
前記断熱材は、鱗片状黒鉛を含む、請求項1又は2に記載の断熱材。
発明の詳細な説明
【技術分野】
【0001】
本発明は、断熱材に関する。
続きを表示(約 1,100 文字)
【背景技術】
【0002】
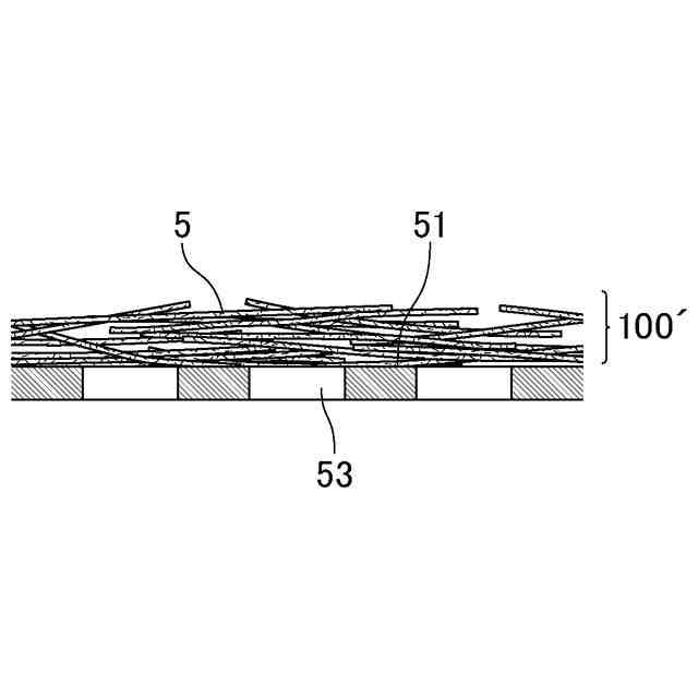
炭素繊維を用いた断熱材は、耐熱温度が高く断熱性能も優れることから、半導体製造用炉、セラミック焼結炉などの高温向けの炉用断熱材として広く利用されている。
【0003】
断熱材の形状は、断熱対象物の形状により適宜設定されるが、例えば、筒状の対象物を断熱するためには、筒状の断熱材が用いられる。
【0004】
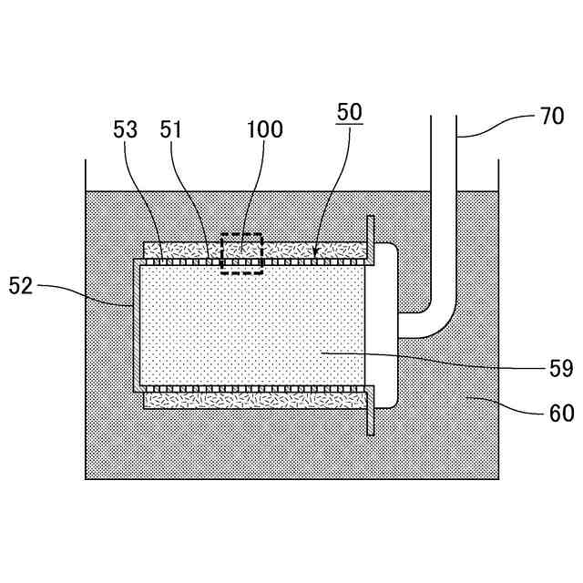
例えば、特許文献1には、吸引成形型を用いて、炭素繊維を含むスラリーから、中空筒状の炭素繊維成形体を直接製造する方法が開示されている。
吸引成形型を用いて製造された中空筒状の断熱材は、大半の炭素繊維が熱源に対して平行となるように配置されているため、高い断熱性能を発揮することができる。
【先行技術文献】
【特許文献】
【0005】
特開平02-208264号公報
【発明の概要】
【発明が解決しようとする課題】
【0006】
しかしながら、特許文献1に記載の方法で製造される断熱材は、1400℃以上の温度領域における断熱性能が不充分であった。
この理由は、特許文献1に記載の方法で製造される断熱材は、内面が粗く、熱源から放射される光を充分に反射することができないことによるものによると考えられる。
【0007】
本発明は、上記課題を解決するためになされた発明であり、1400℃以上の温度領域における断熱性能に優れる断熱材を提供することを目的とする。
【課題を解決するための手段】
【0008】
本発明の断熱材は、炭素繊維及び樹脂炭化物を含む筒状の断熱材であって、上記断熱材は、一体成形体であり、上記断熱材の内面の表面粗さRaが、50μm以下である、ことを特徴とする。
【0009】
本発明の断熱材は、内面の表面粗さRaが50μm以下であるので、熱源から放射される放射光を反射させやすく、断熱性能に優れる。
【0010】
本発明の断熱材においては、上記断熱材の上記内面の表面粗さRaが、10μm以上であってもよい。
断熱材の内面の表面粗さRaを10μm未満とした場合であっても、表面粗さRaが10μm以上、50μm以下である場合と比較して、熱源から放射される光を充分に反射する特性が大きく向上することはない。従って、熱源から放射される光を反射させて断熱性能を向上させる観点から、断熱材の表面粗さRaは、10μm以上、50μm以下で充分といえる。
(【0011】以降は省略されています)
この特許をJ-PlatPat(特許庁公式サイト)で参照する
関連特許
イビデン株式会社
断熱材
1か月前
イビデン株式会社
断熱材
1か月前
イビデン株式会社
断熱材
1か月前
イビデン株式会社
断熱材
1か月前
イビデン株式会社
配線基板
1か月前
イビデン株式会社
配線基板
1か月前
イビデン株式会社
配線基板
1か月前
イビデン株式会社
配線基板
1か月前
イビデン株式会社
部品内蔵配線板
2か月前
イビデン株式会社
プリント配線板
1か月前
イビデン株式会社
プリント配線板
1か月前
イビデン株式会社
ワークの加工方法
4日前
イビデン株式会社
ハニカムフィルタ
1か月前
イビデン株式会社
ハニカムフィルタ
1か月前
イビデン株式会社
電子部品内蔵基板
2日前
イビデン株式会社
配線基板の製造方法
1か月前
イビデン株式会社
配線基板の製造方法
1か月前
イビデン株式会社
配線基板の製造方法
1か月前
イビデン株式会社
配線基板の製造方法
1か月前
イビデン株式会社
配線基板の製造方法
1か月前
イビデン株式会社
配線基板の製造方法
1か月前
イビデン株式会社
配線基板の製造方法
1か月前
イビデン株式会社
配線基板の製造方法
1か月前
イビデン株式会社
配線基板の製造方法
1か月前
イビデン株式会社
部品内蔵基板の製造方法
16日前
イビデン株式会社
マット材及び保持シール材
1か月前
イビデン株式会社
配線基板及びその製造方法
1か月前
イビデン株式会社
配線基板及びその製造方法
1か月前
イビデン株式会社
プリント配線板の製造方法
1か月前
イビデン株式会社
プリント配線板の製造方法
1か月前
イビデン株式会社
プリント配線板の製造方法
1か月前
イビデン株式会社
プリント配線板の製造方法
19日前
イビデン株式会社
コア基板及びその製造方法
10日前
イビデン株式会社
プリント配線板の製造方法
1か月前
イビデン株式会社
光導波路及び導波路搭載基板
1か月前
イビデン株式会社
熱伝達抑制シート及び組電池
2か月前
続きを見る
他の特許を見る