TOP
|
特許
|
意匠
|
商標
特許ウォッチ
Twitter
他の特許を見る
公開番号
2025178898
公報種別
公開特許公報(A)
公開日
2025-12-09
出願番号
2024085767
出願日
2024-05-27
発明の名称
電子基板
出願人
日産自動車株式会社
代理人
個人
,
個人
主分類
H05K
3/34 20060101AFI20251202BHJP(他に分類されない電気技術)
要約
【課題】従来のプリント基板では、基板のアートワーク性が損なわれるので、多層型の電子基板への適用が困難であった。
【解決手段】多層型の電子基板1であって、第1主面F1及び第2主面F2を有し、第2主面F2側に配置した電子部品Pの端子Tを挿入してはんだ付けMするためのスルーホール3を備えると共に、複数の導体層のうちの、第1主面F1に最も近い第1導体層2Aと第2主面F2に最も近い第2導体層2Fとがスルーホール3を通して連続した構造を有し、スルーホール3を中心とする所定範囲Aにおいて、第1導体層2Aの面積が第2導体層2Fの面積よりも小さくすることにより、多層型の電子基板1において、基板のアートワーク性を損なうことなく、はんだ仕上がり性の向上を実現した。
【選択図】図1
特許請求の範囲
【請求項1】
複数の導体層を厚さ方向に配置した構造を有する電子基板であって、
表裏関係にある第1主面及び第2主面を有し、
前記第2主面側に配置した電子部品の端子を挿入してはんだ付けするためのスルーホールを備えると共に、複数の前記導体層のうちの、前記第1主面に最も近い第1導体層と前記第2主面に最も近い第2導体層とが、前記スルーホールを通して連続した構造を有し、
前記スルーホールを中心とする所定範囲において、前記第1導体層の面積が、前記第2導体層の面積よりも小さいことを特徴とする電子基板。
続きを表示(約 230 文字)
【請求項2】
前記第1導体層が、前記スルーホールを中心とする所定範囲に、サーマルランドを有することを特徴とする請求項1に記載の電子基板。
【請求項3】
前記第1導体層が、前記スルーホールを中心とする同心円上に、所定間隔で配置した複数のサーマルランドを有することを特徴とする請求項2に記載の電子基板。
【請求項4】
前記サーマルランドが、前記スルーホールを中心とする円弧形状を成していることを特徴とする請求項2に記載の電子基板。
発明の詳細な説明
【技術分野】
【0001】
本発明は、複数の導体層を厚さ方向に配置した構造を有する電子基板の改良に関するものである。
続きを表示(約 1,800 文字)
【背景技術】
【0002】
従来における電子基板としては、例えば、特許文献1に記載されたものがある。特許文献1には、ベタパターン上にスルーホールを形成し、スルーホールの内壁部を含む周縁にランドを設けたプリント基板が記載されている。このプリント基板は、ランドの外周の一部にサーマルランドを設け、サーマルランドの外周領域に少なくとも一個の貫通孔を形成し、貫通孔の周縁が位置する外周領域にレジストが形成してある。これにより、プリント基板は、ベタパターンへの放熱を抑制して、はんだ仕上がり性を向上させる。
【先行技術文献】
【特許文献】
【0003】
特許第4919932号公報
【発明の概要】
【発明が解決しようとする課題】
【0004】
しかしながら、上記した従来のプリント基板では、サーマルランドの周囲に貫通孔を形成した構成であるため、多層型の電子基板への適用が難しい。つまり、多層型の電子基板は、複数の導体層を厚さ方向に配置した構造を有するので、とくに、内部の導体層とサーマルランドの周囲に形成した貫通孔とが干渉するので、基板のアートワーク性が損なわれるという問題点がある。
【0005】
本発明は、上記従来の状況に鑑みて成されたもので、多層型の電子基板において、基板のアートワーク性を損なうことなく、はんだ仕上がり性の向上を実現することができる電子基板を提供することを目的としている。
【課題を解決するための手段】
【0006】
本発明に係わる電子基板は、複数の導体層を厚さ方向に所定間隔で配置した構造を有する多層型の電子基板である。この電子基板は、表裏関係にある第1主面及び第2主面を有し、第2主面側に配置した電子部品の端子を挿入してはんだ付けするためのスルーホールを備えると共に、複数の導体層のうちの、第1主面に最も近い第1導体層と第2主面に最も近い第2導体層とが、スルーホールを通して連続した構造を有している。そして、電子基板は、スルーホールを中心とする所定範囲において、第1導体層の面積が、第2導体層の面積よりも小さいことを特徴としている。
【0007】
上記の電子基板は、第2主面側に配置した電子部品の端子をスルーホールに挿入すると共に、はんだ材料を充填し、スルーホールの内壁に端子をはんだ付けする。このはんだ付けは、電子部品の無い第1主面側から行うので、第1主面側から熱が印加されることとなる。この際、電子基板は、スルーホールを中心とする所定範囲において、第1導体層の面積を、第2導体層の面積よりも小さくしている。これにより、電子基板は、面積が小さい第1導体層では熱拡散が抑制され、これに対して、面積が大きい第2導体層側に熱が伝わり易くなり、スルーホールの軸線方向にわたってはんだが安定して形成される。
【発明の効果】
【0008】
本発明に係わる電子基板は、上記のようにスルーホールの軸線方向にわたってはんだが安定して形成されると共に、第1導体層と第2導体層の間に配置された導体層に貫通孔等を設ける必要がないので、多層型の電子基板において、基板のアートワーク性を損なうことなく、はんだ仕上がり性の向上を実現することができる。
【図面の簡単な説明】
【0009】
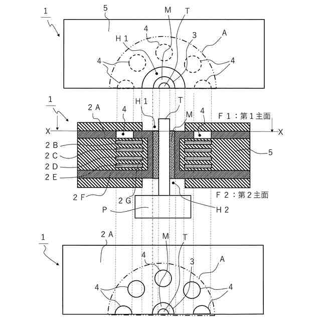
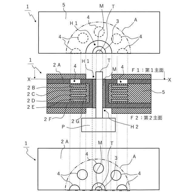
電子基板の第1実施形態を説明する図であって、上段は要部の平面図、中段は要部の断面図、及び下段は中段に示すX-X線矢視に基づく水平断面図である。
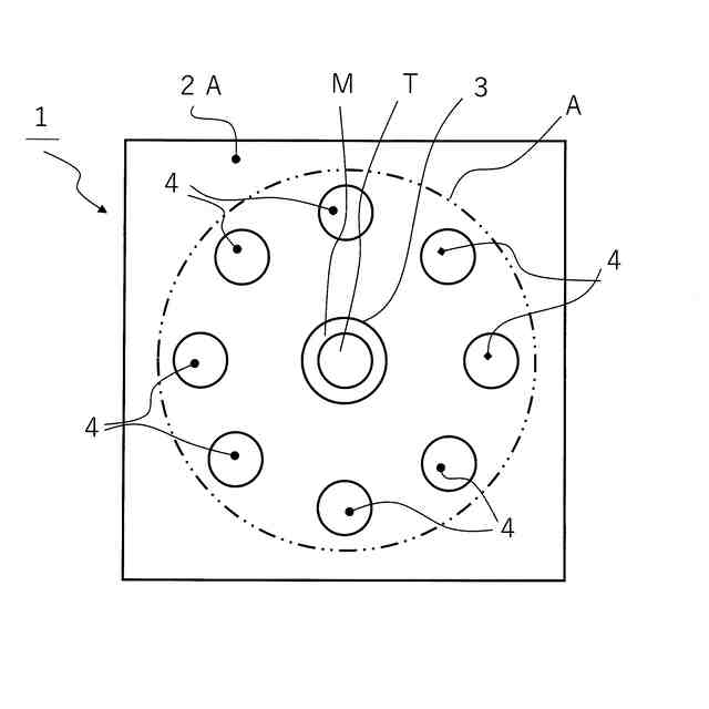
図1中の電子基板におけるサーマルランドの配置を示す平面図である。
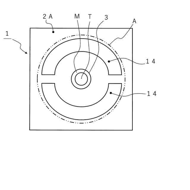
電子基板の第2実施形態におけるサーマルランドの配置を示す平面図である。
【発明を実施するための形態】
【0010】
<第1実施形態>
図1に示す電子基板1は、複数の導体層2A~2Fを厚さ方向(中段で上下方向)に配置した構造を有する多層型の基板であり、図1の中段に示すように、表裏関係にある第1主面(上面)F1及び第2主面(下面)F2を有する。導体層2A~2Fは、代表的には銅製であり、特に、銅の仕上がり厚さが140μm以上の基板は厚銅導体層と呼ばれる。
(【0011】以降は省略されています)
この特許をJ-PlatPat(特許庁公式サイト)で参照する
関連特許
日産自動車株式会社
電子基板
今日
日産自動車株式会社
冷却装置
6日前
日産自動車株式会社
電子機器
19日前
日産自動車株式会社
吸気装置
13日前
日産自動車株式会社
電池モジュール
11日前
日産自動車株式会社
ロータシャフト
27日前
日産自動車株式会社
全固体電池システム
11日前
日産自動車株式会社
蓄熱体及び加熱装置
4日前
日産自動車株式会社
エアレスタイヤ構造
19日前
日産自動車株式会社
制御装置及び制御方法
4日前
日産自動車株式会社
支援方法及び支援装置
13日前
日産自動車株式会社
ピックアップトラック
13日前
日産自動車株式会社
パワー半導体モジュール
11日前
日産自動車株式会社
車両乗り合わせ方法及び装置
12日前
日産自動車株式会社
情報処理方法及び情報処理端末
6日前
日産自動車株式会社
車両制御方法及び車両制御装置
4日前
日産自動車株式会社
情報処理装置及び情報処理方法
11日前
日産自動車株式会社
情報提供方法及び情報提供装置
19日前
日産自動車株式会社
車両制御装置及び車両制御方法
12日前
日産自動車株式会社
車両制御装置及び車両制御方法
12日前
日産自動車株式会社
緊急車両の通知方法及び通知装置
6日前
日産自動車株式会社
内燃機関の制御方法および制御装置
11日前
日産自動車株式会社
車両制御システム及び車両制御方法
12日前
日産自動車株式会社
内燃機関の制御方法および制御装置
11日前
日産自動車株式会社
自己位置推定方法及び自己位置推定装置
4日前
日産自動車株式会社
自動運転支援方法、及び自動運転支援装置
11日前
日産自動車株式会社
自動運転支援方法、及び自動運転支援装置
11日前
日産自動車株式会社
道路基準線生成方法及び道路基準線生成装置
11日前
日産自動車株式会社
内燃機関の制御方法及び内燃機関の制御装置
12日前
日産自動車株式会社
交差点進路案内方法及び交差点進路案内装置
6日前
日産自動車株式会社
電子キー照合装置、方法、及び、プログラム
4日前
日産自動車株式会社
駐車支援方法、駐車支援装置及びプログラム
12日前
日産自動車株式会社
ソフトウェア更新装置、ソフトウェア更新方法及びソフトウェア更新処理プログラム
13日前
個人
電子部品の実装方法
2か月前
個人
電気式バーナー
1か月前
日本精機株式会社
回路基板
今日
続きを見る
他の特許を見る