TOP
|
特許
|
意匠
|
商標
特許ウォッチ
Twitter
他の特許を見る
公開番号
2025171664
公報種別
公開特許公報(A)
公開日
2025-11-20
出願番号
2024077241
出願日
2024-05-10
発明の名称
プリント配線板
出願人
株式会社羽野製作所
代理人
個人
,
個人
主分類
H05K
1/02 20060101AFI20251113BHJP(他に分類されない電気技術)
要約
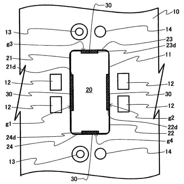
【課題】発熱部品が実装される実装位置を貫通孔として、この貫通孔に伝熱用金属板を配設したプリント配線板において、貫通孔及び伝熱用金属板は平面視矩形状としながら、破損を生じる可能性を解消したプリント配線板を提供する。
【解決手段】プリント配線板に設けた貫通孔11は、平面視矩形状とし、この貫通孔11に挿入する伝熱用金属板20は、貫通孔11に挿入可能とした平面視矩形状の金属板とし、少なくとも1組の対向する第1辺21と第2辺22に、貫通孔11の内周面との間に間隙を生じさせる第1凹み21dと第2凹み22dを少なくとも1つそれぞれ形成する。
【選択図】図3
特許請求の範囲
【請求項1】
発熱部品が実装される実装位置に設けた貫通孔に伝熱用金属板を装着したプリント配線板において、
前記貫通孔は、平面視矩形状とし、
前記伝熱用金属板は、前記貫通孔に挿入可能とした平面視矩形状の金属板とするとともに、少なくとも1組の対向する辺に、前記貫通孔の内周面との間に間隙を生じさせる凹みを少なくとも1つそれぞれ形成しているプリント配線板。
続きを表示(約 270 文字)
【請求項2】
前記伝熱用金属板は、大判状の金属板からレーザ加工により切り出したことで、前記凹みの端部の前記辺上に、外方に張り出して前記貫通孔の内周面と接する接点を有している請求項1に記載のプリント配線板。
【請求項3】
前記間隙に永久穴埋めインクを充填している請求項1または請求項2に記載のプリント配線板。
【請求項4】
請求項1または請求項2に記載のプリント配線板の裏面には、前記伝熱用金属板とともに被覆することで、前記伝熱用金属板と前記裏面とを同電位とするめっき被膜を有しているプリント配線板。
発明の詳細な説明
【技術分野】
【0001】
本発明は、発熱部品が実装されるプリント配線板に関する。
続きを表示(約 1,300 文字)
【背景技術】
【0002】
従来、プリント配線板において、発熱部品を実装する場合に、プリント配線板における実装位置に伝熱用金属板を配設して、この伝熱用金属板によりプリント配線板の裏面側に熱を伝えるとともに、プリント配線板の裏面側に設けた放熱フィン等に熱を伝えて、放熱する方法が用いられることがある。
【0003】
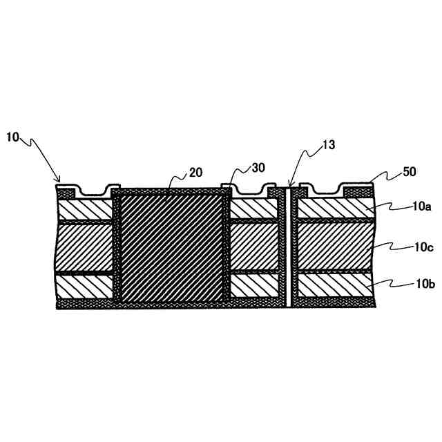
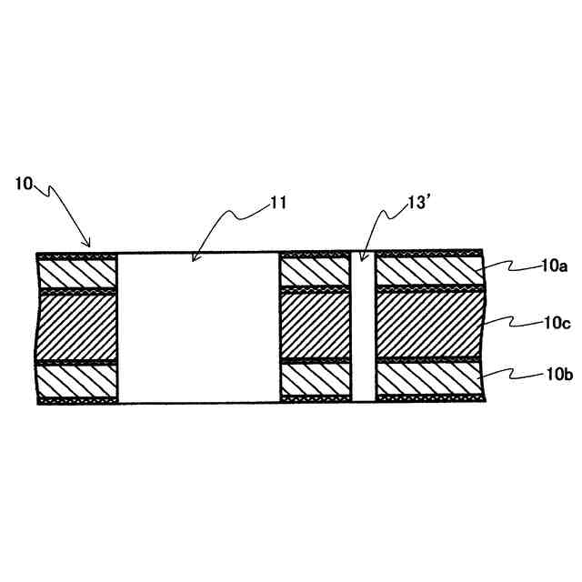
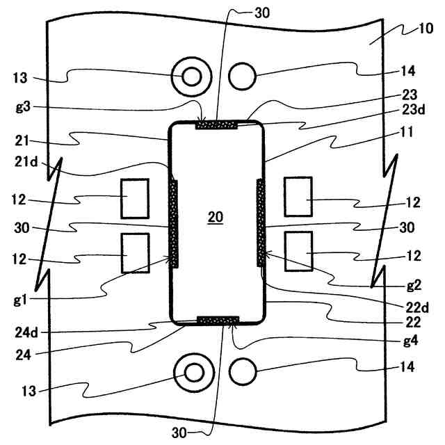
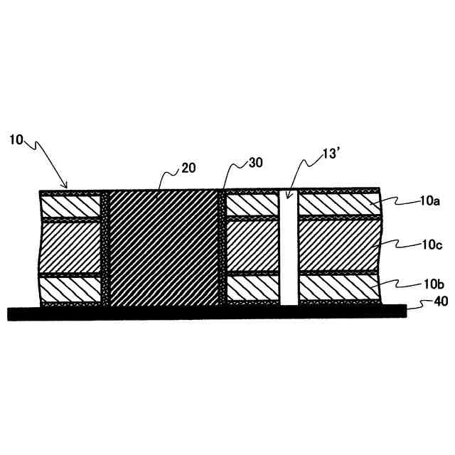
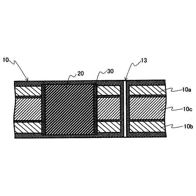
この伝熱用金属板は、多くの場合で銅製であることから、「銅インレイ」とか「銅コイン」と呼ばれており、通常、プリント配線板の厚さと同等の厚みを有する円盤であることが多い。プリント配線板には、この伝熱用金属板を挿入可能な貫通孔を形成し、この貫通孔に伝熱用金属板を挿入し、接着剤等でプリント配線板に固定装着している(例えば、特許文献1参照。)。
【0004】
また、接着剤を用いて伝熱用金属板をプリント配線板に固定装するのではなく、プリント配線板に設けた貫通孔に伝熱用金属板を圧入することで、伝熱用金属板を貫通孔に圧接させて固定する方法も提案されている(例えば、特許文献2参照。)。
【0005】
この場合、伝熱用金属板には、伝熱用金属板を弾性変形しやすくするための切り込み溝を設け、伝熱用金属板を弾性変形させて貫通孔に圧入させている。
【0006】
伝熱用金属板が挿入される貫通孔は、基本的に平面視円形である。これは、伝熱用金属板が挿入された貫通孔に不均一な応力が生じることを避けるためである。特に、プリント配線板に実装された発熱部品が発熱することで高熱となった伝熱用金属板には熱膨張が生じるため、貫通孔には、製造時よりも大きな応力が生じることが想定されている。
【0007】
昨今、SiC半導体やGaN半導体を用いたいわゆるパワーデバイス等が実用化されたことで、このような半導体デバイスでの発熱が問題となっている。すなわち、SiC半導体やGaN半導体を用いたパワーデバイスでは、従来よりも高電圧・大電流での使用が可能となっていることから、膨大な熱が生じることになっている。
【0008】
そのため、パワーデバイス等の発熱部品が実装されるプリント配線板においても、この発熱部品が実装される実装位置に伝熱用金属板を設けて、発熱部品が発生させた熱をプリント配線板の裏面側に設けた放熱フィン等の放熱手段へ伝えて、放熱している。
【0009】
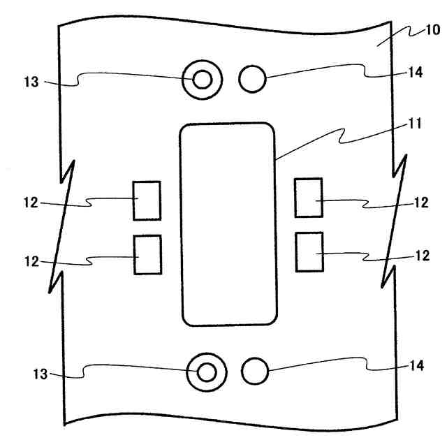
このような発熱部品は、一般的に、平面視で矩形形状となっていることが多い。そのため、発熱部品が実装されるプリント配線板には、実装位置に矩形形状の実装エリアを設定している。
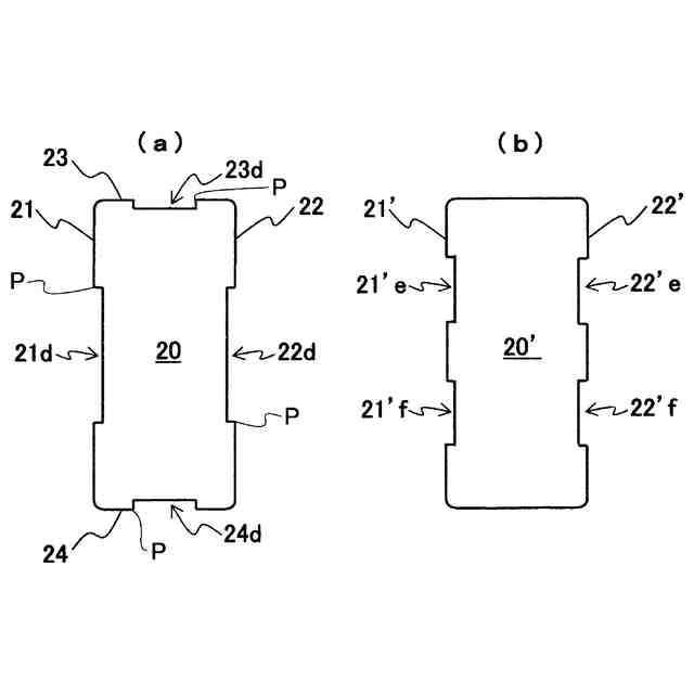
【0010】
一方、伝熱用金属板は、平面視で円形形状となっているため、矩形形状の発熱部品に当接させる伝熱用金属板は、最大でも矩形形状となった実装エリアに内接する大きさの円形とならざるを得ない。したがって、発熱部品の底面の全面を伝熱用金属板に当接させることができず、その分だけ伝熱効率が低下することになっている。
(【0011】以降は省略されています)
この特許をJ-PlatPat(特許庁公式サイト)で参照する
関連特許
株式会社羽野製作所
プリント配線板
7日前
個人
電子部品の実装方法
1か月前
愛知電機株式会社
装柱金具
1か月前
個人
電気式バーナー
1か月前
個人
非衝突型ガウス加速器
3か月前
日本精機株式会社
回路基板
2か月前
日星電気株式会社
面状ヒータ
13日前
アイホン株式会社
電気機器
2か月前
キヤノン株式会社
電子機器
2か月前
日本放送協会
基板固定装置
2か月前
個人
節電材料
3か月前
イビデン株式会社
配線基板
1か月前
アイホン株式会社
電気機器
3か月前
メクテック株式会社
配線基板
3か月前
個人
静電気中和除去装置
28日前
東レ株式会社
霧化状活性液体供給装置
3か月前
サクサ株式会社
筐体の壁掛け構造
2か月前
イビデン株式会社
配線基板
2か月前
イビデン株式会社
プリント配線板
4か月前
FDK株式会社
基板
1か月前
サクサ株式会社
開き角度規制構造
1か月前
イビデン株式会社
プリント配線板
2か月前
株式会社デンソー
電子装置
21日前
イビデン株式会社
配線基板
3か月前
シャープ株式会社
加熱機器
1か月前
株式会社デンソー
電子装置
1か月前
株式会社レクザム
剥離装置
1か月前
カシン工業株式会社
PTC発熱装置
3か月前
新電元工業株式会社
電子装置
2か月前
富士フイルム株式会社
積層体
1か月前
オムロン株式会社
端子折り曲げ治具
1か月前
株式会社レゾナック
冷却装置
1か月前
日産自動車株式会社
電子部品
2か月前
日産自動車株式会社
電子機器
7日前
日産自動車株式会社
電子機器
4か月前
タイガー魔法瓶株式会社
加熱器
2か月前
続きを見る
他の特許を見る