TOP
|
特許
|
意匠
|
商標
特許ウォッチ
Twitter
他の特許を見る
10個以上の画像は省略されています。
公開番号
2025175375
公報種別
公開特許公報(A)
公開日
2025-12-03
出願番号
2024081436
出願日
2024-05-20
発明の名称
電磁調理器
出願人
象印マホービン株式会社
代理人
個人
,
個人
主分類
H05B
6/12 20060101AFI20251126BHJP(他に分類されない電気技術)
要約
【課題】電磁調理器の冷却効率を向上させる。
【解決手段】電磁調理器1が、ケーシング2と、ケーシング2の内部に配置された前ファン26と、前ファン26の出口26aと対向して配置されるヒートシンク27と、を備える。ヒートシンク27の上面に、出口26aにおける気流方向に沿って延在する複数本のリブ38が設けられている。リブ38の上縁が、出口26aに近いほど低背となるように傾斜している。
【選択図】図2
特許請求の範囲
【請求項1】
ケーシングと、
前記ケーシングの内部に配置されたファンと、
前記ファンの出口と対向して配置されるヒートシンクと、
を備え、
前記ヒートシンクの上面に、前記出口における気流方向に沿って延在する複数本のリブが設けられており、
前記リブの上縁が、前記出口に近いほど低背となるように傾斜している、
電磁調理器。
続きを表示(約 950 文字)
【請求項2】
前記ケーシングの内部に配置された加熱コイルと、
前記加熱コイルを駆動する加熱回路を構成する電子部品であって、動作中に発熱する第1発熱部品を更に備え、
前記第1発熱部品が、前記ヒートシンクの前記上面側であって、前記リブの気流方向下流側に配置される、
請求項1に記載の電磁調理器。
【請求項3】
前記ヒートシンクに、前記ヒートシンクの前記上面側のエアを前記ヒートシンクの下面側に導く通風口が設けられ、
前記通風口は、前記第1発熱部品よりも気流方向下流側に配置されている、
請求項2に記載の電磁調理器。
【請求項4】
前記ヒートシンクが、基板の上面に支持される下面と、前記基板の切り欠き又は貫通口を介して前記基板の下面側に突出する下突出部を有する、
請求項1から3のいずれか1項に記載の電磁調理器。
【請求項5】
前記下突出部の底面が平滑である、
請求項4に記載の電磁調理器。
【請求項6】
前記下突出部の突出量が前記出口に近いほど小さくなるように、前記下突出部の前記底面が傾斜している、
請求項5に記載の電磁調理器。
【請求項7】
前記加熱コイルを駆動する加熱回路を構成する電子部品であって、動作中に発熱する第2発熱部品を更に備え、
前記第2発熱部品が、前記ヒートシンクの下面側に配置され、前記出口と対向する、
請求項2に記載の電磁調理器。
【請求項8】
前記出口の延在方向に関して、前記出口からの風量が均一ではなく、前記出口の前記延在方向の一方側において風量が相対的に強く、前記出口の前記延在方向の他方側において風量が相対的に弱く、
前記リブが、前記出口の前記延在方向の前記一方側と対向し、前記第2発熱部品が、前記出口の前記延在方向の前記他方側と対向する、
請求項7に記載の電磁調理器。
【請求項9】
前記ケーシングの内部に配置される加熱コイルを更に備え、
前記ヒートシンクは、前記加熱コイル側の辺縁から上方に突出する遮風壁を有する、
請求項1に記載の電磁調理器。
発明の詳細な説明
【技術分野】
【0001】
本発明は、電磁調理器に関する。
続きを表示(約 1,300 文字)
【背景技術】
【0002】
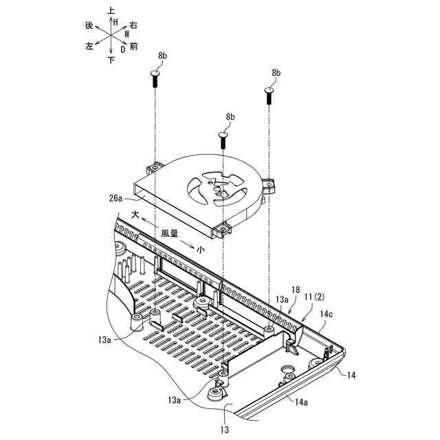
特許文献1は、薄型箱状の本体部と、本体部の上開口を塞ぐように本体部上に配置されたトッププレートと、本体部内に配置された同心円状の加熱コイルとを備えた、卓上型の電磁調理器を開示している。加熱コイルが通電されると、トッププレートに載置された調理容器の鍋底に渦電流が誘起され、調理容器に誘導加熱が生じる。
【0003】
本体部の内部には、加熱コイルのほか、放熱部、第1送風機、及び第2送風機が設けられている。本体部の内部には、第1送風機からの空気を誘導する第1の流通部と、第2送風機からの空気を誘導するための第2の流通部とが形成されている。加熱コイルは、第1の流通部に配置され、放熱部は、第2の流通部に配置される。放熱部は、第2送風機から吐出された空気が流通する方向に延伸する複数のフィンを備えたヒートシンクを有している。
【先行技術文献】
【特許文献】
【0004】
特開2015-159038号公報
【発明の概要】
【発明が解決しようとする課題】
【0005】
複数のフィンの一端は、第2送風機の出口と近接対向している。第2送風機の出口が、複数のフィンによって部分的に閉塞されるため、風量の低下ひいては冷却効率の低下を招くおそれがある。
【0006】
本発明は、電磁調理器の冷却効率を向上させることを課題とする。
【課題を解決するための手段】
【0007】
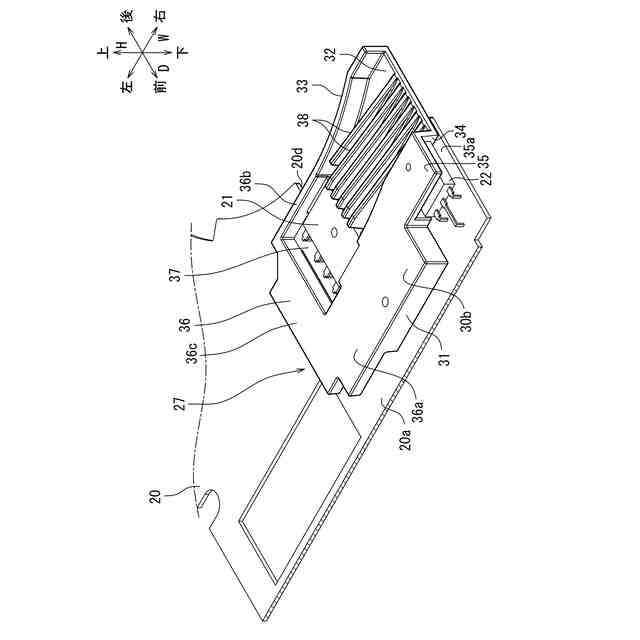
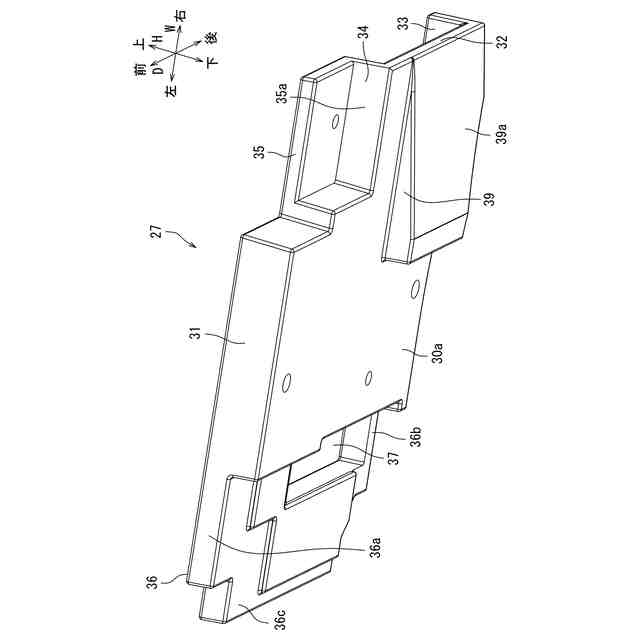
本発明の一態様は、ケーシングと、前記ケーシングの内部に配置されたファンと、前記ファンの出口と対向して配置されるヒートシンクと、を備え、前記ヒートシンクの上面に、前記出口における気流方向に沿って延在する複数本のリブが設けられており、前記リブの上縁が、前記出口に近いほど低背となるように傾斜している、電磁調理器を提供する。
【0008】
上記構成によれば、ヒートシンクがファンの出口と対向している。ファンから吐出されたエアは、ヒートシンクに直接的に吹き付けられるので、ヒートシンクひいてはヒートシンクに熱を伝達する発熱部品を放熱しやすい。ヒートシンクの上面には、ファンの出口における気流方向に沿って延在する複数本のリブが設けられている。リブを設けることでヒートシンクの表面積が増加し、放熱効果が高くなる。また、ヒートシンクに吹き付けられたエアは、リブに案内され、ヒートシンクの上面側を円滑に通過できる。リブの上縁は、ファンの出口に近いほど低背である。出口がリブで閉塞されないため、風量を大きくして冷却効率を高めることができる。
【0009】
当該電磁調理器が、前記ケーシングの内部に配置された加熱コイルと、前記加熱コイルを駆動する加熱回路を構成する電子部品であって、動作中に発熱する第1発熱部品を更に備え、前記第1発熱部品が、前記ヒートシンクの前記上面側であって、前記リブの気流方向下流側に配置されていてもよい。
【0010】
上記構成によれば、リブで案内されたエアを第1発熱部品に直接的に吹き付けることができ、第1発熱部品の冷却効率が向上する。
(【0011】以降は省略されています)
この特許をJ-PlatPat(特許庁公式サイト)で参照する
関連特許
象印マホービン株式会社
電磁調理器
5日前
象印マホービン株式会社
電磁調理器
5日前
象印マホービン株式会社
電磁調理器
5日前
象印マホービン株式会社
電磁調理器
5日前
象印マホービン株式会社
電気ケトル
10日前
個人
電子部品の実装方法
2か月前
個人
非衝突型ガウス加速器
3か月前
愛知電機株式会社
装柱金具
2か月前
個人
電気式バーナー
1か月前
日本精機株式会社
回路基板
3か月前
日星電気株式会社
面状ヒータ
24日前
アイホン株式会社
電気機器
3か月前
日本放送協会
基板固定装置
2か月前
イビデン株式会社
配線基板
2か月前
キヤノン株式会社
電子機器
2か月前
アイホン株式会社
電気機器
2か月前
個人
節電材料
4か月前
メクテック株式会社
配線基板
3か月前
東レ株式会社
霧化状活性液体供給装置
3か月前
個人
静電気中和除去装置
1か月前
イビデン株式会社
配線基板
3か月前
イビデン株式会社
配線基板
3か月前
サクサ株式会社
筐体の壁掛け構造
3か月前
株式会社デンソー
電子装置
10日前
サクサ株式会社
開き角度規制構造
1か月前
株式会社デンソー
電子装置
2か月前
株式会社デンソー
電子装置
1か月前
株式会社レクザム
剥離装置
2か月前
イビデン株式会社
プリント配線板
2か月前
FDK株式会社
基板
2か月前
イビデン株式会社
プリント配線板
4か月前
シャープ株式会社
加熱機器
1か月前
日産自動車株式会社
電子機器
4か月前
富士フイルム株式会社
積層体
2か月前
株式会社レゾナック
冷却装置
2か月前
日産自動車株式会社
電子部品
2か月前
続きを見る
他の特許を見る