TOP
|
特許
|
意匠
|
商標
特許ウォッチ
Twitter
他の特許を見る
10個以上の画像は省略されています。
公開番号
2025171491
公報種別
公開特許公報(A)
公開日
2025-11-20
出願番号
2024076898
出願日
2024-05-10
発明の名称
配線基板及びその製造方法
出願人
信越ポリマー株式会社
代理人
個人
,
個人
主分類
H05K
1/02 20060101AFI20251113BHJP(他に分類されない電気技術)
要約
【課題】本発明は保護層を有していても柔軟性が低下することがない配線基板及びその製造方法を提供することを目的とする。
【解決手段】ゴム系材料からなるシート状の基材2と、基材2の第一面に形成された導電材料からなる配線部3と、配線部3上に重ねて形成され、基材2と同一のゴム系材料からなる保護層4と、を備えている。
【選択図】図1
特許請求の範囲
【請求項1】
ゴム系材料からなるシート状の基材と、
前記基材の第一面に形成された導電材料からなる配線部と、
前記配線部上に重ねて形成され、前記基材と同一のゴム系材料からなる保護層と、を備えている、配線基板。
続きを表示(約 430 文字)
【請求項2】
前記保護層は、前記配線部ととともに前記基材の前記第一面の全面を覆う、請求項1に記載の配線基板。
【請求項3】
前記保護層は、前記配線部のある箇所のみを覆う、請求項1に記載の配線基板。
【請求項4】
前記基材と前記保護層とは、同一のゴムシートからなり、前記基材の幅方向外側で折り返し部を介して互いに連なる、請求項2又は3に記載の配線基板。
【請求項5】
前記保護層は、第一接着層を介して前記基材に接着される、請求項2又は3に記載の配線基板。
【請求項6】
前記基材及び前記保護層は、第二接着層を介して被着体に接着される、請求項2又は3に記載の配線基板。
【請求項7】
ゴム系材料からなるシート状の基材の第一面に、導電材料からなる配線部をスクリーン印刷により設けた後、前記配線部上に重ねて前記基材と同一のゴム系材料からなる保護層を設ける、配線基板の製造方法。
発明の詳細な説明
【技術分野】
【0001】
本発明は、タッチセンサ、基板間接続のコネクタ、フィルムヒータなどに適用可能な配線基板及びその製造方法に関する。
続きを表示(約 2,600 文字)
【背景技術】
【0002】
近年、ウェアラブルデバイス、メディカルデバイス等の測定デバイスとして、センサ等の電子部品が実装された配線基板が使用されている。
このような配線基板においては、被着体の触り心地、着心地を阻害しないよう、柔軟性のある被着体に追従して変形可能であることが求められる。このため、当該配線基板は、基材に、シリコーンゴム等からなるフィルムが用いられている。
【0003】
例えば、特許文献1に示された配線基板は、シート状の伸縮性基材と、伸縮性基材の一方の面に回路として形成された伸縮性導電パターンとを備えることで、全体として伸縮可能な構成となっている。
また、この配線基板では、折り畳んだ際に、伸縮性導電パターンに設定された第一部分と第二部分とが、伸縮性基材を間に挟んで相互に絶縁される構成となっている。
【先行技術文献】
【特許文献】
【0004】
特開2017-22173号公報
【発明の概要】
【発明が解決しようとする課題】
【0005】
特許文献1に記載された配線基板は、折り畳みを考慮して、事前に伸縮性導電パターンに設定された第一部分と第二部分とを、伸縮性基材を介して相互に絶縁される配置にする必要があり、汎用性に欠けるという問題がある。
さらに、上記配線基板では、断線や短絡から回路となる伸縮性導電パターンを保護するための保護層としてエポキシ系の樹脂層を設けることがあるが、一般的に硬い層となってしまい、伸縮性基材の柔軟性を阻害する恐れがある。
【0006】
本発明は上記実情に鑑みてなされたものであり、保護層を有していても柔軟性が低下することがない配線基板及びその製造方法を提供する。
【課題を解決するための手段】
【0007】
本発明は、以下の態様を有する。
[1]ゴム系材料からなるシート状の基材と、
前記基材の第一面に形成された導電材料からなる配線部と、
前記配線部上に重ねて形成され、前記基材と同一のゴム系材料からなる保護層と、を備えている、配線基板。
[2]前記保護層は、前記配線部ととともに前記基材の前記第一面の全面を覆う、[1]に記載の配線基板。
[3]前記保護層は、前記配線部のある箇所のみを覆う、[1]に記載の配線基板。
[4]前記基材と前記保護層とは、同一のゴムシートからなり、前記基材の幅方向外側で折り返し部を介して互いに連なる、[2]又は[3]に記載の配線基板。
[5]前記保護層は、第一接着層を介して前記基材に接着される、[2]又は[3]に記載の配線基板。
[6]前記基材及び前記保護層は、第二接着層を介して被着体に接着される、[2]又は[3]に記載の配線基板。
[7]ゴム系材料からなるシート状の基材の第一面に、導電材料からなる配線部をスクリーン印刷により設けた後、前記配線部上に重ねて前記基材と同一のゴム系材料からなる保護層を設ける、配線基板の製造方法。
【発明の効果】
【0008】
本発明によれば、ゴム系材料からなる基材の配線部に保護層を重ねて形成することで、配線部の強度が増し、基板製造時及び基板完成後の配線部の破損を防ぐことができる。
また、本発明によれば、基材と保護層とが同一のゴム系材料で構成されているので、全体の柔軟性を損なうことが防止される。
また、本発明によれば、他の異なる保護層材料を用意する必要がないため、材料の管理が容易になり、コスト面と環境負荷面とで有利になる。
【図面の簡単な説明】
【0009】
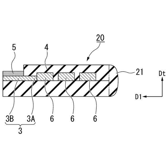
本発明の第一実施形態における配線基板を示す断面図である。
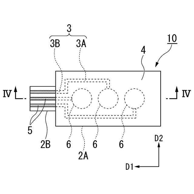
本発明の第二実施形態における配線基板を示す下面図である。
図2に示した配線基板の上面図である。
図3に示した配線基板のIV-IVに沿う断面図である。
本発明の第三実施形態における配線基板を示す下面図である。
図5に示した配線基板の上面図である。
図6に示した配線基板のVII-VIIに沿う断面図である。
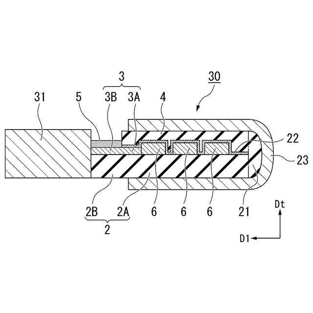
配線基板の外側に接着層が設けられたことを示す上面図である。
図8に示した配線基板のIX-IXに沿う断面図である。
配線基板の製造工程(工程1)を示す上面図である。
図10に示した配線基板のXI-XIに沿う断面図である。
配線基板の製造工程(工程2)を示す上面図である。
図12に示した配線基板のXIII-XIIIに沿う断面図である。
配線基板の製造工程(工程3)を示す上面図である。
図14に示した配線基板のXV-XVに沿う断面図である。
配線基板の製造工程(工程4)を示す上面図である。
図16に示した配線基板のXVII-XVIIに沿う断面図である。
配線基板の製造工程(工程5)を示す上面図である。
図18に示した配線基板のXIX-XIXに沿う断面図である。
図18及び図19の配線基板を被着体に装着した状態を示す断面図である。
配線基板の製造工程(工程2)の変形例を示す断面図である。
図21の製造工程(工程2)に続く工程3を示す断面図である。
【発明を実施するための形態】
【0010】
〔第一実施形態〕
以下、本発明に係る配線基板の第一実施形態について図1を参照して説明する。
なお、以下の説明で用いる各図面は、その特徴を分かり易くするために、便宜上、特徴となる部分を拡大して示している場合があり、寸法比率等は実際とは異なる。
また、以下の説明において例示される材料、寸法等は一例であって、本発明はそれらに限定されるものではなく、その要旨の範囲で適宜変更することが可能である。
また、以下の説明において、配線基板の板厚方向を厚さ方向Dt、厚さ方向Dtに直交する一方向を第一方向D1、厚さ方向Dt及び第一方向D1に直交する方向を第二方向D2と称する。
(【0011】以降は省略されています)
この特許をJ-PlatPat(特許庁公式サイト)で参照する
関連特許
信越ポリマー株式会社
配線基板及びその製造方法
7日前
信越ポリマー株式会社
延焼防止シートおよびその製造方法ならびにバッテリー
8日前
個人
電子部品の実装方法
1か月前
愛知電機株式会社
装柱金具
1か月前
個人
電気式バーナー
1か月前
個人
非衝突型ガウス加速器
3か月前
日本精機株式会社
回路基板
2か月前
日星電気株式会社
面状ヒータ
13日前
キヤノン株式会社
電子機器
2か月前
アイホン株式会社
電気機器
3か月前
イビデン株式会社
配線基板
1か月前
個人
節電材料
3か月前
アイホン株式会社
電気機器
2か月前
日本放送協会
基板固定装置
2か月前
メクテック株式会社
配線基板
3か月前
個人
静電気中和除去装置
28日前
東レ株式会社
霧化状活性液体供給装置
3か月前
サクサ株式会社
開き角度規制構造
1か月前
サクサ株式会社
筐体の壁掛け構造
2か月前
株式会社デンソー
電子装置
1か月前
株式会社デンソー
電子装置
21日前
株式会社レクザム
剥離装置
1か月前
イビデン株式会社
配線基板
2か月前
イビデン株式会社
プリント配線板
2か月前
イビデン株式会社
プリント配線板
4か月前
FDK株式会社
基板
1か月前
シャープ株式会社
加熱機器
1か月前
イビデン株式会社
配線基板
3か月前
日産自動車株式会社
電子部品
2か月前
日産自動車株式会社
電子機器
7日前
富士フイルム株式会社
積層体
1か月前
オムロン株式会社
端子折り曲げ治具
1か月前
新電元工業株式会社
電子装置
2か月前
カシン工業株式会社
PTC発熱装置
3か月前
株式会社レゾナック
冷却装置
1か月前
日本無線株式会社
電子機器用密閉構造
2か月前
続きを見る
他の特許を見る