TOP
|
特許
|
意匠
|
商標
特許ウォッチ
Twitter
他の特許を見る
公開番号
2025161258
公報種別
公開特許公報(A)
公開日
2025-10-24
出願番号
2024064296
出願日
2024-04-11
発明の名称
配線基板
出願人
京セラ株式会社
代理人
弁理士法人酒井国際特許事務所
主分類
H05K
3/46 20060101AFI20251017BHJP(他に分類されない電気技術)
要約
【課題】加工性の低いコア材を用いた場合であっても歩留まりの低下を低減することができる。
【解決手段】配線基板は、無機基材と、有機基材と、導体と、介在層とを備える。無機基材は、ガラス成分を含むセラミック複合材料を用いた無機基材であって、当該無機基材を貫通する貫通孔を有する。有機基材は、第1有機成分を主成分とし、無機基材に接合される。導体は、有機基材の内部から貫通孔の側面に沿って延びる。介在層は、貫通孔の側面と導体との間に位置し、第2有機成分を含む。
【選択図】図3
特許請求の範囲
【請求項1】
ガラス成分を含むセラミック複合材料を用いた無機基材であって、当該無機基材を貫通する貫通孔を有する無機基材と、
第1有機成分を主成分とし、前記無機基材に接合される有機基材と、
前記有機基材の内部から前記貫通孔の側面に沿って延びる導体と、
前記貫通孔の側面と前記導体との間に位置し、第2有機成分を含む介在層と
を備える
配線基板。
続きを表示(約 730 文字)
【請求項2】
前記介在層は、前記貫通孔の一端から他端まで連続して位置している
請求項1に記載の配線基板。
【請求項3】
前記介在層において、前記導体との界面は、前記無機基材との界面よりも平坦である
請求項1または2に記載の配線基板。
【請求項4】
前記貫通孔の側面に改質層が位置する
請求項1に記載の配線基板。
【請求項5】
前記改質層に含まれるSiO
2
は、結晶状態である
請求項4に記載の配線基板。
【請求項6】
前記介在層は、エポキシ樹脂を含む
請求項1に記載の配線基板。
【請求項7】
結晶状態の無機物が位置する前記貫通孔の側面において、当該貫通孔の側面の表面粗さは、0.1μm以上6μm以下である
請求項3に記載の配線基板。
【請求項8】
前記無機基材と前記有機基材との間に位置して前記無機基材と前記有機基材とにそれぞれ接合し、第3有機成分を含む接合層を備える
請求項1に記載の配線基板。
【請求項9】
前記無機基材は、前記有機基材よりも熱膨張率が小さく
前記接合層は、当該接合層を貫通する貫通孔を有し、
前記接合層の貫通孔は、前記無機基材の貫通孔と連通し、
前記接合層の貫通孔の径は、前記無機基材の貫通孔の径よりも大きい、
請求項8に記載の配線基板。
【請求項10】
前記無機基材の開口部は、前記無機基材の表面から内部に向かって幅狭となるテーパー形状を有する
請求項8または9に記載の配線基板。
発明の詳細な説明
【技術分野】
【0001】
本開示は、配線基板に関する。
続きを表示(約 1,100 文字)
【背景技術】
【0002】
配線が形成された有機層を、コア材としてのガラスクロス基板上に積層した配線基板が知られている。
【0003】
ガラスクロス基板にはスルーホール部が形成される。スルーホール部は、ガラスクロス基板を貫通する貫通孔と、貫通孔の内部に位置する導体とを有する(特許文献1参照)。
【先行技術文献】
【特許文献】
【0004】
特開2023-111608号公報
【発明の概要】
【発明が解決しようとする課題】
【0005】
配線基板の強度向上のためコア材をガラスクロスから無機基材に変更する場合において、ガラスクロスを用いたコア材と比べて、コア材の加工性を容易にする事が求められている。
【0006】
本開示は、加工性の低いコア材を用いた場合であっても歩留まりの低下を低減することができる技術を提供する。
【課題を解決するための手段】
【0007】
本開示の配線基板は、無機基材と、有機基材と、導体と、介在層とを備える。無機基材は、ガラス成分を含むセラミック複合材料を用いた無機基材であって、当該無機基材を貫通する貫通孔を有する。有機基材は、第1有機成分を主成分とし、無機基材に接合される。導体は、有機基材の内部から貫通孔の側面に沿って延びる。介在層は、貫通孔の側面と導体との間に位置し、第2有機成分を含む。
【発明の効果】
【0008】
本開示によれば、加工性の低いコア材を用いた場合であっても歩留まりの低下を低減することができる。
【図面の簡単な説明】
【0009】
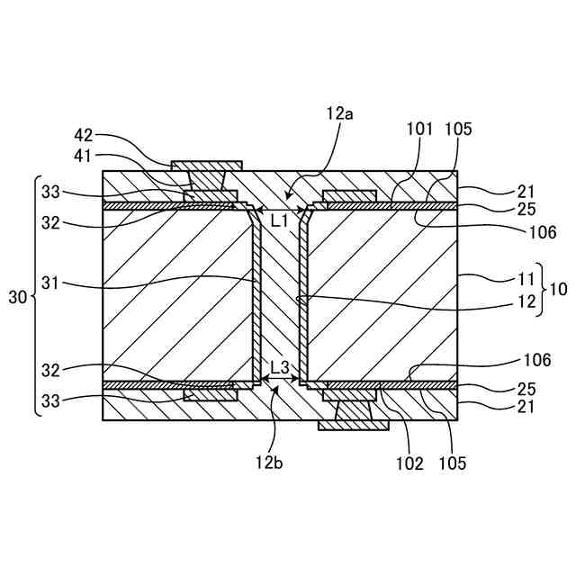
図1は、実施形態に係る半導体デバイスの構成を示す模式断面図である。
図2は、実施形態に係るベース基板の構成を示す模式断面図である。
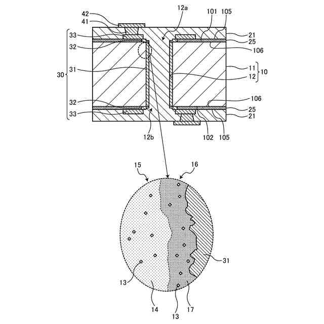
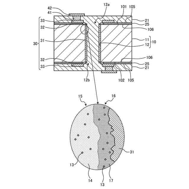
図3は、図2に示す領域IIIの模式拡大図である。
図4は、図2に示す領域IIIの模式拡大図である。
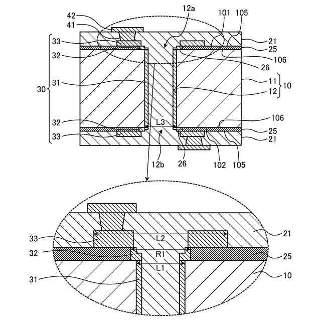
図5は、第1導体がテーパー形状を有する構成の模式拡大図である。
図6は、実施形態に係る中継基板とその周辺の構成を示す模式断面図である。
【発明を実施するための形態】
【0010】
以下に、本開示による複合配線基板および半導体デバイスを実施するための形態(以下、「実施形態」と記載する)について図面を参照しつつ詳細に説明する。なお、この実施形態により本開示が限定されるものではない。また、各実施形態は、処理内容を矛盾させない範囲で適宜組み合わせることが可能である。また、以下の各実施形態において同一の部位には同一の符号を付し、重複する説明は省略される。
(【0011】以降は省略されています)
この特許をJ-PlatPat(特許庁公式サイト)で参照する
関連特許
京セラ株式会社
光学系
17日前
京セラ株式会社
蓄電装置
1か月前
京セラ株式会社
配線基板
23日前
京セラ株式会社
配線基板
23日前
京セラ株式会社
弾性波装置
1か月前
京セラ株式会社
粒子分離装置
1か月前
京セラ株式会社
センサシステム
1か月前
京セラ株式会社
静圧気体軸受装置
1か月前
京セラ株式会社
光センサモジュール
4日前
京セラ株式会社
光センサモジュール
4日前
京セラ株式会社
太陽電池モジュール
2か月前
京セラ株式会社
配線基板及び電子装置
1か月前
京セラ株式会社
走査装置及び制御装置
1か月前
京セラ株式会社
走査装置及び制御装置
1か月前
京セラ株式会社
印刷装置及び印刷方法
9日前
京セラ株式会社
コネクタ及び取付方法
1か月前
京セラ株式会社
配線基板及び電子装置
1か月前
京セラ株式会社
予測装置及び予測方法
12日前
京セラ株式会社
太陽電池付きカーポート
1か月前
京セラ株式会社
太陽電池付きカーポート
1か月前
京セラ株式会社
積層セラミック電子部品
10日前
京セラ株式会社
発光装置および照明装置
1か月前
京セラ株式会社
流路デバイスの準備方法
1か月前
京セラ株式会社
取付部材及びヘッド取付方法
1か月前
京セラ株式会社
受電装置及び光給電システム
1か月前
京セラ株式会社
電磁波検出装置及び制御装置
23日前
京セラ株式会社
端子、端子部材および電気機器
2日前
京セラ株式会社
端子、端子部材および電気機器
4日前
京セラ株式会社
光集積回路及び光トランシーバ
23日前
京セラ株式会社
配線基板及びLEDモジュール
9日前
京セラ株式会社
フィルタデバイスおよび通信装置
1か月前
京セラ株式会社
電子デバイス及び電子モジュール
9日前
京セラ株式会社
光センサおよび光センサの製造方法
1か月前
京セラ株式会社
分析システム、分析装置、及び分析方法
9日前
京セラ株式会社
光センサおよびこれを備えた画像形成装置
4日前
京セラ株式会社
揺動装置、電磁波照射装置、及び制御装置
1か月前
続きを見る
他の特許を見る