TOP
|
特許
|
意匠
|
商標
特許ウォッチ
Twitter
他の特許を見る
公開番号
2025161625
公報種別
公開特許公報(A)
公開日
2025-10-24
出願番号
2024064973
出願日
2024-04-12
発明の名称
電磁波検出装置及び制御装置
出願人
京セラ株式会社
代理人
個人
,
個人
,
個人
,
個人
主分類
G01S
17/86 20200101AFI20251017BHJP(測定;試験)
要約
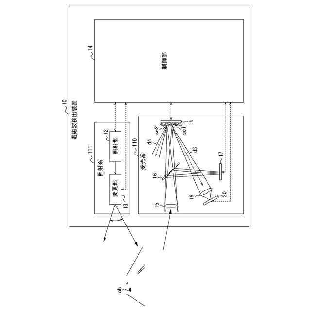
【課題】物体認識、自己位置推定等の精度を高めることが可能な電磁波検出装置及び制御装置が提供される。
【解決手段】電磁波検出装置(10)は、電磁波を出力する照射部(12)と、電磁波の照射方向を異なる複数の方向に変化させて電磁波を照射領域に出力する変更部(13)と、電磁波が照射領域に存在する物体で反射した反射波を検出する検出部(20)と、照射領域を含む画像を取得する撮像部(17)と、照射部と変更部を制御して、所定の周期において、電磁波の照射方向を変化させて複数回照射させる制御部(14)と、を備え、制御部は、所定の周期における検出部の検出結果に基づく距離情報を、撮像部が取得した画像を用いて補間する。
【選択図】図1
特許請求の範囲
【請求項1】
電磁波を出力する照射部と、
前記電磁波の照射方向を異なる複数の方向に変化させて前記電磁波を照射領域に出力する変更部と、
前記電磁波が前記照射領域に存在する物体で反射した反射波を検出する検出部と、
前記照射領域を含む画像を取得する撮像部と、
前記照射部と前記変更部を制御して、所定の周期において、前記電磁波の照射方向を変化させて複数回照射させる制御部と、を備え、
前記制御部は、前記所定の周期における前記検出部の検出結果に基づく距離情報を、前記撮像部が取得した前記画像を用いて補間する、
電磁波検出装置。
続きを表示(約 940 文字)
【請求項2】
前記制御部は、前記距離情報に基づく3次元情報を前記画像に投影し、該画像において、該3次元情報が投影されない部分の距離情報を補間する、
請求項1に記載の電磁波検出装置。
【請求項3】
前記制御部は、前記距離情報に含まれる第1領域までの距離を示す第1距離情報と、前記第1領域に対応する前記画像の画像領域が有する特徴とに基づいて、前記距離情報を補間する、
請求項1又は2に記載の電磁波検出装置。
【請求項4】
前記制御部は、前記第1領域に対応する前記画像の画像領域の周辺に同じ特徴を有する前記画像の周辺領域が存在する場合に、前記周辺領域までの距離を示す第2距離情報を、前記第1距離情報を用いて補間する、請求項3に記載の電磁波検出装置。
【請求項5】
前記特徴は、輝度又は色である、
請求項3に記載の電磁波検出装置。
【請求項6】
移動体に搭載される、請求項1に記載の電磁波検出装置であって、
前記制御部は、前記移動体の走行状態に応じて前記距離情報を補正し、補正した距離情報を、前記撮像部が取得した前記画像を用いて補間する、
電磁波検出装置。
【請求項7】
前記制御部は、前記所定の周期で取得した複数の前記距離情報に基づく物体の形状と、前記画像に含まれる当該物体の形状との差分に基づいて前記走行状態を特定する、
請求項6に記載の電磁波検出装置。
【請求項8】
電磁波を出力する照射部と、前記電磁波の照射方向を異なる複数の方向に変化させて前記電磁波を照射領域に出力する変更部と、前記電磁波が前記照射領域に存在する物体で反射した反射波を検出する検出部と、前記照射領域を含む画像を取得する撮像部と、を備える電磁波検出ユニットを制御する制御装置であって、
前記照射部と前記変更部を制御して、所定の周期において、前記電磁波の照射方向を変化させて複数回照射させる制御部、を備え、
前記制御部は、前記所定の周期における前記検出部の検出結果に基づく距離情報を、前記撮像部が取得した前記画像を用いて補間する、
制御装置。
発明の詳細な説明
【技術分野】
【0001】
本開示は、電磁波検出装置及び制御装置に関する。
続きを表示(約 1,100 文字)
【背景技術】
【0002】
近年、電磁波を検出して検出結果から周囲に関する情報を得る装置が開発されている。例えば特許文献1は、LiDAR(Light Detection And Ranging)を用いて道路上にある落下物等の障害となる物体を対象物として検出する技術を開示する。
【先行技術文献】
【特許文献】
【0003】
特開2008-56163号公報
【発明の概要】
【発明が解決しようとする課題】
【0004】
ここで、走行中の車両は、物体認識、自己位置推定等の精度をより高めることが望まれている。
【0005】
かかる事情に鑑みてなされた本開示の目的は、物体認識、自己位置推定等の精度を高めることが可能な電磁波検出装置及び制御装置を提供することにある。
【課題を解決するための手段】
【0006】
(1)本開示の一実施形態に係る電磁波検出装置は、
電磁波を出力する照射部と、
前記電磁波の照射方向を異なる複数の方向に変化させて前記電磁波を照射領域に出力する変更部と、
前記電磁波が前記照射領域に存在する物体で反射した反射波を検出する検出部と、
前記照射領域を含む画像を取得する撮像部と、
前記照射部と前記変更部を制御して、所定の周期において、前記電磁波の照射方向を変化させて複数回照射させる制御部と、を備え、
前記制御部は、前記所定の周期における前記検出部の検出結果に基づく距離情報を、前記撮像部が取得した前記画像を用いて補間する。
【0007】
(2)本開示の一実施形態として、(1)において、
前記制御部は、前記距離情報に基づく3次元情報を前記画像に投影し、該画像において、該3次元情報が投影されない部分の距離情報を補間する。
【0008】
(3)本開示の一実施形態として、(1)又は(2)において、
前記制御部は、前記距離情報に含まれる第1領域までの距離を示す第1距離情報と、前記第1領域に対応する前記画像の画像領域が有する特徴とに基づいて、前記距離情報を補間する。
【0009】
(4)本開示の一実施形態として、(3)において、
前記制御部は、前記第1領域に対応する前記画像の画像領域の周辺に同じ特徴を有する前記画像の周辺領域が存在する場合に、前記周辺領域までの距離を示す第2距離情報を、前記第1距離情報を用いて補間する。
【0010】
(5)本開示の一実施形態として、(3)又は(4)において、
前記特徴は、輝度又は色である。
(【0011】以降は省略されています)
この特許をJ-PlatPat(特許庁公式サイト)で参照する
関連特許
京セラ株式会社
光学系
1か月前
京セラ株式会社
配線基板
1か月前
京セラ株式会社
配線基板
1か月前
京セラ株式会社
振動検出方法
14日前
京セラ株式会社
アイソレータ
13日前
京セラ株式会社
セラミック焼結体
1日前
京セラ株式会社
光センサモジュール
29日前
京セラ株式会社
光センサモジュール
29日前
京セラ株式会社
予測装置及び予測方法
1か月前
京セラ株式会社
印刷装置及び印刷方法
1か月前
京セラ株式会社
太陽電池付きカーポート
2か月前
京セラ株式会社
積層セラミック電子部品
1か月前
京セラ株式会社
太陽電池付きカーポート
2か月前
京セラ株式会社
差動信号フィルタデバイス
21日前
京セラ株式会社
差動信号フィルタデバイス
21日前
京セラ株式会社
弾性波装置および通信装置
6日前
京セラ株式会社
弾性波装置、および通信装置
2日前
京セラ株式会社
弾性波共振子および通信装置
1日前
京セラ株式会社
電磁波検出装置及び制御装置
1か月前
京セラ株式会社
配線基板及びLEDモジュール
1か月前
京セラ株式会社
端子、端子部材および電気機器
27日前
京セラ株式会社
端子、端子部材および電気機器
29日前
京セラ株式会社
光集積回路及び光トランシーバ
1か月前
京セラ株式会社
電子デバイス及び電子モジュール
1か月前
京セラ株式会社
積層セラミック電子部品の製造方法
13日前
京セラ株式会社
光センサおよび光センサの製造方法
1か月前
京セラ株式会社
電子機器、制御方法、及びプログラム
14日前
京セラ株式会社
分析システム、分析装置、及び分析方法
1か月前
京セラ株式会社
光センサおよびこれを備えた画像形成装置
29日前
京セラ株式会社
揺動装置、電磁波照射装置、及び制御装置
2か月前
京セラ株式会社
観察装置本体、細胞培養容器及び細胞観察装置
今日
京セラ株式会社
電子機器、制御方法、プログラム、及びシステム
1か月前
京セラ株式会社
電子機器、制御方法、プログラム、及びシステム
1か月前
京セラ株式会社
VMD支援システム、サーバ装置、及び通信方法
1か月前
京セラ株式会社
太陽光発電システム及び太陽電池付きカーポート
1か月前
京セラ株式会社
行動検出システム、サーバ装置、及び行動検出方法
1か月前
続きを見る
他の特許を見る