TOP
|
特許
|
意匠
|
商標
特許ウォッチ
Twitter
他の特許を見る
公開番号
2025161188
公報種別
公開特許公報(A)
公開日
2025-10-24
出願番号
2024064170
出願日
2024-04-11
発明の名称
光集積回路及び光トランシーバ
出願人
京セラ株式会社
代理人
個人
,
個人
,
個人
,
個人
主分類
H04B
10/079 20130101AFI20251017BHJP(電気通信技術)
要約
【課題】分離後の信号レベルの差を低減できる光集積回路及び光トランシーバを提供する。
【解決手段】光集積回路1又は2は、入力光信号を複数の光信号に分割して出力する複数の出力端子141及び142を有する分波器10と、複数の出力端子141及び142のそれぞれに接続される複数の第1光減衰器151及び152と、複数の第1光減衰器151及び152の少なくとも1つに直列に接続される第2光減衰器161とを備える。複数の第1光減衰器151及び152は、複数の出力端子141及び142から入力される光信号の強度に応じて動的に減衰率を制御できるように構成される。第2光減衰器161は、所定の減衰率で光信号を減衰させるように構成される。
【選択図】図1
特許請求の範囲
【請求項1】
入力光信号を複数の光信号に分割して出力する複数の出力端子を有する分波器と、
前記複数の出力端子のそれぞれに接続される複数の第1光減衰器と、
前記複数の第1光減衰器の少なくとも1つに直列に接続される第2光減衰器と
を備え、
前記複数の第1光減衰器は、前記複数の出力端子から入力される光信号の強度に応じて動的に減衰率を制御できるように構成され、
前記第2光減衰器は、所定の減衰率で光信号を減衰させるように構成される、
光集積回路。
続きを表示(約 440 文字)
【請求項2】
前記分波器は、偏光分離回転素子である、請求項1に記載の光集積回路。
【請求項3】
前記複数の出力端子のうち2つの出力端子のそれぞれに接続する2つの入力端子を有する2入力検出素子を更に備え、
前記第2光減衰器は、前記2つの入力端子の少なくとも1つに直列に接続される、
請求項1に記載の光集積回路。
【請求項4】
前記複数の第1光減衰器は、共通の電圧を印加されるように前記共通の電源に電気的に並列に接続される、請求項1に記載の光集積回路。
【請求項5】
前記複数の第1光減衰器は、共通の電流を印加されるように前記共通の電源に電気的に直列に接続される、請求項1に記載の光集積回路。
【請求項6】
シリコンフォトニクスの技術によって形成されている、請求項1に記載の光集積回路。
【請求項7】
請求項1から6までのいずれか一項に記載の光集積回路を備える、光トランシーバ。
発明の詳細な説明
【技術分野】
【0001】
本開示は、光集積回路及び光トランシーバに関する。
続きを表示(約 1,100 文字)
【背景技術】
【0002】
特許文献1に記載されるように、波長多重信号を分波器で波長分離し、可変光減衰器で光強度を調整し、偏光分離回転素子で偏波を分離するトランシーバモジュールが知られている。
【先行技術文献】
【特許文献】
【0003】
米国特許出願公開第2018/0351684号明細書
【発明の概要】
【発明が解決しようとする課題】
【0004】
分離後の信号レベルの差を低減することが求められる。
【0005】
本開示は、分離後の信号レベルの差を低減できる光集積回路及び光トランシーバを提供することを目的とする。
【課題を解決するための手段】
【0006】
本開示の一実施形態に係る光集積回路は、入力光信号を複数の光信号に分割して出力する複数の出力端子を有する分波器と、前記複数の出力端子のそれぞれに接続される複数の第1光減衰器と、前記複数の第1光減衰器の少なくとも1つに直列に接続される第2光減衰器とを備える。前記複数の第1光減衰器は、前記複数の出力端子から入力される光信号の強度に応じて動的に減衰率を制御できるように構成される。前記第2光減衰器は、所定の減衰率で光信号を減衰させるように構成される。
【0007】
本開示の一実施形態に係る光トランシーバは、前記光集積回路を備える。
【発明の効果】
【0008】
本開示の一実施形態に係る光集積回路及び光トランシーバによれば、分離後の信号レベルの差が低減される。
【図面の簡単な説明】
【0009】
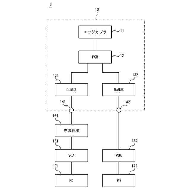
2入力検出素子を備える光集積回路の構成例を示すブロック図である。
1入力検出素子を備える光集積回路の構成例を示すブロック図である。
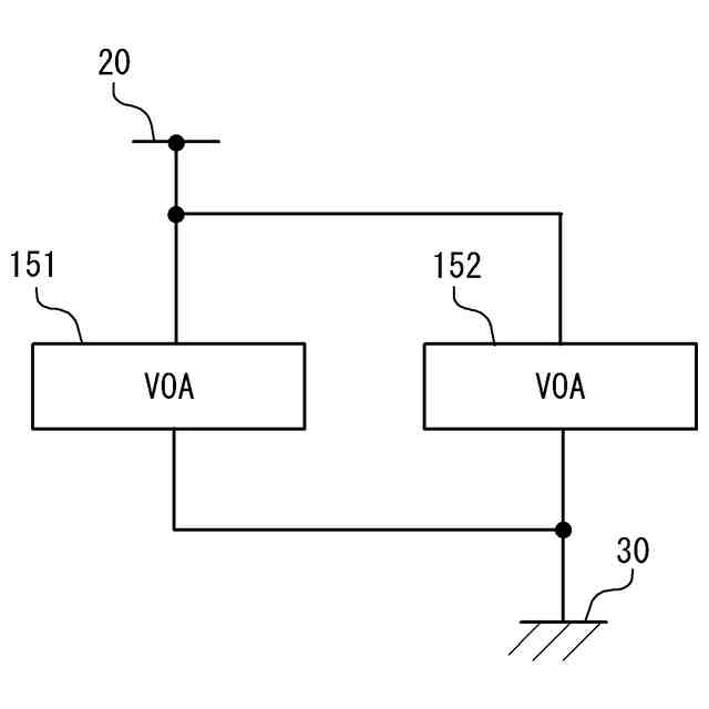
複数の可変光減衰器に並列に電圧を印加する構成例を示す回路図である。
複数の可変光減衰器に直列に電流を流す構成例を示す回路図である。
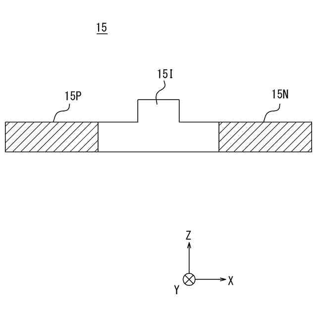
PIN接合を用いた可変光減衰器の構成例を示す断面図である。
【発明を実施するための形態】
【0010】
小型の光トランシーバを実現するためにシリコンフォトニクスが注目されている。シリコンフォトニクスは、光導波路等の光信号に関する素子をシリコン基板上に集積する技術である。光トランシーバにおいて、受信機における光強度が強すぎる場合又は弱すぎる場合のいずれの場合でも信号品質が低下することが知られている。信号強度を適切な範囲に調整するために可変光減衰器(VOA:Variable Optical Attenuator)が使われることがある。
(【0011】以降は省略されています)
この特許をJ-PlatPat(特許庁公式サイト)で参照する
関連特許
京セラ株式会社
光学系
1か月前
京セラ株式会社
蓄電装置
2か月前
京セラ株式会社
配線基板
1か月前
京セラ株式会社
配線基板
1か月前
京セラ株式会社
振動検出方法
11日前
京セラ株式会社
粒子分離装置
2か月前
京セラ株式会社
アイソレータ
10日前
京セラ株式会社
静圧気体軸受装置
1か月前
京セラ株式会社
光センサモジュール
26日前
京セラ株式会社
光センサモジュール
26日前
京セラ株式会社
予測装置及び予測方法
1か月前
京セラ株式会社
コネクタ及び取付方法
2か月前
京セラ株式会社
走査装置及び制御装置
1か月前
京セラ株式会社
走査装置及び制御装置
1か月前
京セラ株式会社
印刷装置及び印刷方法
1か月前
京セラ株式会社
太陽電池付きカーポート
1か月前
京セラ株式会社
積層セラミック電子部品
1か月前
京セラ株式会社
太陽電池付きカーポート
1か月前
京セラ株式会社
弾性波装置および通信装置
3日前
京セラ株式会社
差動信号フィルタデバイス
18日前
京セラ株式会社
差動信号フィルタデバイス
18日前
京セラ株式会社
電磁波検出装置及び制御装置
1か月前
京セラ株式会社
端子、端子部材および電気機器
24日前
京セラ株式会社
光集積回路及び光トランシーバ
1か月前
京セラ株式会社
配線基板及びLEDモジュール
1か月前
京セラ株式会社
端子、端子部材および電気機器
26日前
京セラ株式会社
電子デバイス及び電子モジュール
1か月前
京セラ株式会社
積層セラミック電子部品の製造方法
10日前
京セラ株式会社
光センサおよび光センサの製造方法
1か月前
京セラ株式会社
電子機器、制御方法、及びプログラム
11日前
京セラ株式会社
分析システム、分析装置、及び分析方法
1か月前
京セラ株式会社
光センサおよびこれを備えた画像形成装置
26日前
京セラ株式会社
揺動装置、電磁波照射装置、及び制御装置
1か月前
京セラ株式会社
ホルダ、切削工具、及び切削加工物の製造方法
2か月前
京セラ株式会社
太陽光発電システム及び太陽電池付きカーポート
1か月前
京セラ株式会社
ノード、方法、プログラム及び分散台帳システム
2か月前
続きを見る
他の特許を見る