TOP
|
特許
|
意匠
|
商標
特許ウォッチ
Twitter
他の特許を見る
公開番号
2025154623
公報種別
公開特許公報(A)
公開日
2025-10-10
出願番号
2024057733
出願日
2024-03-29
発明の名称
走査装置及び制御装置
出願人
京セラ株式会社
代理人
個人
,
個人
,
個人
主分類
G02B
26/10 20060101AFI20251002BHJP(光学)
要約
【課題】位相のずれ及び最大駆動角度の低下が低減する。
【解決手段】走査装置10は走査部15と駆動部と制御部16とを有する。走査部は第1軸回り及び第2軸回りに揺動するミラー部を有する。走査部15は入射される電磁波をミラー部の反射面で反射する。駆動部は第1軸回りにミラー部を共振駆動させる。駆動部は第2軸回りにミラー部を非共振駆動させる。制御部16は第2軸回りのミラー部の揺動に基づいて第1軸回りにミラー部を揺動させる駆動周波数を制御する。
【選択図】図2
特許請求の範囲
【請求項1】
第1軸回り、及び、該第1軸と異なる第2軸回りに揺動するミラー部を有し、入射される電磁波を該ミラー部の反射面で反射する走査部と、
前記第1軸回りに前記ミラー部を共振駆動させ、前記第2軸回りに前記ミラー部を非共振駆動させる駆動部と、
前記第2軸回りの前記ミラー部の揺動に基づいて、前記第1軸回りに前記ミラー部を揺動させる駆動周波数を制御する制御部と、を備える、
走査装置。
続きを表示(約 990 文字)
【請求項2】
請求項1に記載の走査装置において、
前記走査部は、
前記ミラー部を前記第2軸回りに揺動可能に保持する第2の保持部と、
前記第2の保持部を介して前記ミラー部を前記第1軸回りに揺動可能に保持する第1の保持部と、を更に有する、
走査装置。
【請求項3】
請求項2に記載の走査装置において、
前記駆動部は、
前記第1の保持部に設置され、前記第1軸回りに前記ミラー部を揺動させる第1の駆動部と、
前記第2の保持部に設置され、前記第2軸回りに前記ミラー部を揺動させる第2の駆動部と、を含む、
走査装置。
【請求項4】
請求項1に記載の走査装置において、
前記制御部は、前記第2軸回りに前記反射面が揺動する角度に応じて、前記駆動周波数を制御する、
走査装置。
【請求項5】
請求項4に記載の走査装置において、
前記制御部は、前記第1軸回りの揺動による前記反射面の角速度が第1閾値以下となる第1の時点において、前記駆動周波数を制御する、
走査装置。
【請求項6】
請求項5に記載の走査装置において、
前記第1の時点は、前記角速度が極小となる時点である、
走査装置。
【請求項7】
請求項5に記載の走査装置において、
前記制御部は、前記第1軸回りの揺動による前記反射面の角度の偏差が第2閾値以下となる第2の時点において、前記駆動周波数を制御する、
走査装置。
【請求項8】
請求項7に記載の走査装置において、
前記第2の時点は、前記偏差が最小となる時点である
走査装置。
【請求項9】
請求項1に記載の走査装置であって、
電磁波を放射する放射部を、更に備え、
前記走査部は、前記放射部から入射される前記電磁波を前記ミラー部の反射面で反射する、
走査装置。
【請求項10】
請求項9に記載の走査装置であって、
前記走査部の前記反射面で反射した前記電磁波が物体で反射した反射波を検出する検出部を、更に備える、
走査装置。
(【請求項11】以降は省略されています)
発明の詳細な説明
【技術分野】
【0001】
本発明は、走査装置及び制御装置に関するものである。
続きを表示(約 1,200 文字)
【背景技術】
【0002】
Lidar等の測距装置では、MEMSミラーを用いてビーム状の光の放射方向を変化させることにより、対象物が走査される。MEMSミラーには、2軸回転式のミラーにおける一方の軸周りを共振周波数で揺動させることにより、走査速度及び駆動角度の拡大が図られている(特許文献1参照)。
【先行技術文献】
【特許文献】
【0003】
特開2022-048529号公報
【発明の概要】
【発明が解決しようとする課題】
【0004】
しかし、共振周波数で揺動させるように当該共振周波数と周期の同じ駆動周波数を印加していると、位相のずれ、最大駆動角度が低下することが生じていた。
【0005】
従って、上記のような従来技術の問題点に鑑みてなされた本開示の目的は、位相のずれ及び最大駆動角度の低下を低減することである。
【課題を解決するための手段】
【0006】
上述した諸課題を解決すべく、第1の観点による走査装置は、
第1軸回り、及び、該第1軸と異なる第2軸回りに揺動するミラー部を有し、入射される電磁波を該ミラー部の反射面で反射する走査部と、
前記第1軸回りに前記ミラー部を共振駆動させ、前記第2軸回りに前記ミラー部を非共振駆動させる駆動部と、
前記第2軸回りの前記ミラー部の揺動に基づいて、前記第1軸回りに前記ミラー部を揺動させる駆動周波数を制御する制御部と、を備える。
【発明の効果】
【0007】
上記のように構成された本開示係る走査装置によれば、位相のずれ及び最大駆動角度の低下が低減する。
【図面の簡単な説明】
【0008】
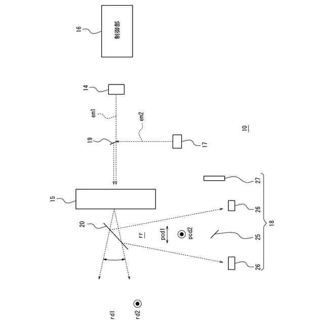
一実施形態に係る走査装置を含む電磁波検出装置の概略構成を示す機能ブロック図である。
図1の走査装置の構成図である。
図2の走査部の構成図である。
図2の第2の鏡から第2の検出素子に電磁波を進行させる経路上の構成要素の配置を示す配置図である。
図4のスリット板及び抽出鏡を第2の検出素子側から見た図である。
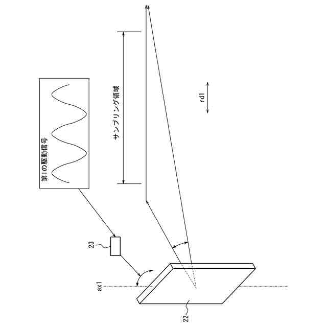
第1の駆動信号による反射面の第1の回動方向に沿った揺動を説明する図である。
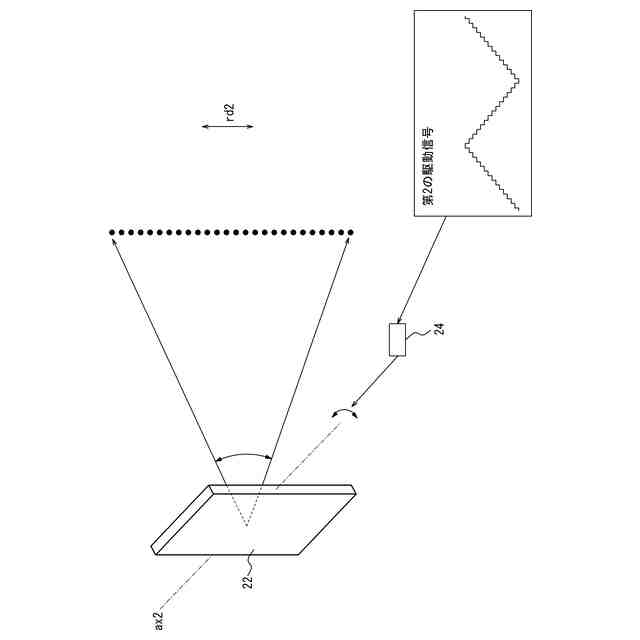
第2の駆動信号による反射面の第2の回動方向に沿った角度変化を説明するための図である。
図2の制御部が行う周波数調整処理を説明するためのフローチャートである。
【発明を実施するための形態】
【0009】
以下、本開示を適用した走査装置の実施形態について、図面を参照して説明する。
【0010】
図1に示すように、本開示の第1の実施形態に係る走査装置10は、例えば、電磁波検出装置11に用いられてよい。電磁波検出装置11は、走査装置10、第1の検出部12、及び制御装置13を含んで構成されてよい。
(【0011】以降は省略されています)
この特許をJ-PlatPat(特許庁公式サイト)で参照する
関連特許
京セラ株式会社
蓄電装置
2日前
京セラ株式会社
弾性波装置
15日前
京セラ株式会社
粒子分離装置
2日前
京セラ株式会社
センサシステム
8日前
京セラ株式会社
静圧気体軸受装置
1日前
京セラ株式会社
配線基板及び電子装置
8日前
京セラ株式会社
走査装置及び制御装置
1日前
京セラ株式会社
走査装置及び制御装置
1日前
京セラ株式会社
配線基板及び電子装置
8日前
京セラ株式会社
コネクタ及び取付方法
3日前
京セラ株式会社
太陽電池付きカーポート
1日前
京セラ株式会社
発光装置および照明装置
12日前
京セラ株式会社
流路デバイスの準備方法
3日前
京セラ株式会社
太陽電池付きカーポート
1日前
京セラ株式会社
取付部材及びヘッド取付方法
9日前
京セラ株式会社
受電装置及び光給電システム
3日前
京セラ株式会社
フィルタデバイスおよび通信装置
8日前
京セラ株式会社
揺動装置、電磁波照射装置、及び制御装置
1日前
京セラ株式会社
光通信装置、光通信システム及び光照射素子
4日前
京セラ株式会社
ホルダ、切削工具、及び切削加工物の製造方法
2日前
京セラ株式会社
多層基板、フィルタモジュール、および通信装置
12日前
京セラ株式会社
ノード、方法、プログラム及び分散台帳システム
3日前
京セラ株式会社
情報処理装置、情報処理システム、及び情報処理方法
3日前
京セラ株式会社
プログラム、給電方法、給電装置及び光給電システム
2日前
京セラ株式会社
情報処理装置、情報処理システム、及び情報処理方法
3日前
京セラ株式会社
受発光センサ及び該受発光センサを備えた画像形成装置
1日前
京セラ株式会社
受発光センサ及び該受発光センサを備えた画像形成装置
1日前
京セラ株式会社
受発光センサ及び該受発光センサを備えた画像形成装置
1日前
京セラ株式会社
受発光センサ及び該受発光センサを備えた画像形成装置
1日前
京セラ株式会社
受発光センサ及び該受発光センサを備えた画像形成装置
1日前
京セラ株式会社
ダンパ部材、液体吐出ヘッド、液体吐出装置及び記録装置
2日前
京セラ株式会社
通信装置、暗号通信方法、プログラム及び暗号通信システム
2日前
京セラ株式会社
積層型電子部品
4日前
京セラ株式会社
導電部材、電気化学セル装置、モジュールおよびモジュール収容装置
1日前
京セラ株式会社
電気化学セル、電気化学セル装置、モジュールおよびモジュール収容装置
1日前
京セラ株式会社
提示システム、血中成分指標推定システム、提示方法、および制御プログラム
23日前
続きを見る
他の特許を見る