TOP
|
特許
|
意匠
|
商標
特許ウォッチ
Twitter
他の特許を見る
10個以上の画像は省略されています。
公開番号
2025139437
公報種別
公開特許公報(A)
公開日
2025-09-26
出願番号
2024038368
出願日
2024-03-12
発明の名称
弾性波装置
出願人
京セラ株式会社
代理人
弁理士法人 HARAKENZO WORLD PATENT & TRADEMARK
主分類
H03H
9/25 20060101AFI20250918BHJP(基本電子回路)
要約
【課題】弾性波装置の周波数特性を改善する。
【解決手段】弾性波装置は、圧電体と、前記圧電体の近傍に位置しているIDT電極と、前記圧電体の下方に位置している音響反射膜と、を有している。前記音響反射膜は、低音響インピーダンス層と高音響インピーダンス層との積層構造を有している。前記音響反射膜は、全ての前記低音響インピーダンス層および前記高音響インピーダンス層のうち、前記圧電体の最も近くに位置している前記低音響インピーダンス層である第1層と、前記第1層の下面と接している前記高音響インピーダンス層である第2層と、前記第2層の下面と接している前記低音響インピーダンス層である第3層と、を有している。前記第1層の厚みをT1と表記し、前記第3層の厚みをT3と表記した場合に、T1<T3である。
【選択図】図1
特許請求の範囲
【請求項1】
圧電体と、
前記圧電体の近傍に位置しているIDT電極と、
前記圧電体の下方に位置している音響反射膜と、を有しており、
前記音響反射膜は、低音響インピーダンス層と高音響インピーダンス層との積層構造を有しており、
前記音響反射膜は、
全ての前記低音響インピーダンス層および前記高音響インピーダンス層のうち、前記圧電体の最も近くに位置している前記低音響インピーダンス層である第1層と、
前記第1層の下面と接している前記高音響インピーダンス層である第2層と、
前記第2層の下面と接している前記低音響インピーダンス層である第3層と、を有しており、
前記第1層の厚みをT1と表記し、
前記第3層の厚みをT3と表記した場合に、
T1<T3
である、弾性波装置。
続きを表示(約 1,800 文字)
【請求項2】
T1<T3≦2.950×T1
である、請求項1に記載の弾性波装置。
【請求項3】
圧電体と、
前記圧電体の近傍に位置しているIDT電極と、
前記圧電体の下方に位置している音響反射膜と、を有しており、
前記音響反射膜は、低音響インピーダンス層と高音響インピーダンス層との積層構造を有しており、
前記音響反射膜は、
全ての前記低音響インピーダンス層および前記高音響インピーダンス層のうち、前記圧電体の最も近くに位置している前記低音響インピーダンス層である第1層と、
前記第1層の下面と接している前記高音響インピーダンス層である第2層と、
前記第2層の下面と接している前記低音響インピーダンス層である第3層と、
前記第3層の下面と接している前記高音響インピーダンス層である第4層と、
前記第4層の下面と接している前記低音響インピーダンス層である第5層と、
前記第5層の下面と接している前記高音響インピーダンス層である第6層と、を有しており、
前記第2層の厚みをT2と表記し、
前記第4層の厚みをT4と表記し、
前記第6層の厚みをT6と表記した場合に、
T6<T2
および、
T6<T4
のうちの少なくとも一方が満たされている、弾性波装置。
【請求項4】
T6<T2≦2.764×T6
および、
T6<T4≦1.485×T4
のうちの少なくとも一方が満たされている、請求項3に記載の弾性波装置。
【請求項5】
圧電体と、
前記圧電体の近傍に位置しているIDT電極と、
前記圧電体の下方に位置している音響反射膜と、を有しており、
前記音響反射膜は、低音響インピーダンス層と高音響インピーダンス層との積層構造を有しており、
前記音響反射膜における前記低音響インピーダンス層の数と前記高音響インピーダンス層の数との和は、4以上かつ5以下であり、
前記音響反射膜は、
全ての前記低音響インピーダンス層および前記高音響インピーダンス層のうち、前記圧電体の最も近くに位置している前記低音響インピーダンス層である第1層と、
前記第1層の下面と接している前記高音響インピーダンス層である第2層と、
前記第2層の下面と接している前記低音響インピーダンス層である第3層と、
前記第3層の下面と接している前記高音響インピーダンス層である第4層と、を有しており、
前記第1層の厚みをT1と表記し、
前記第2層の厚みをT2と表記し、
前記第4層の厚みをT4と表記した場合に、
0.825×T1<T2
および、
0.825×T1<T4
のうちの少なくとも一方が満たされている、弾性波装置。
【請求項6】
0.825×T1<T2≦2.28×T1
および、
0.825×T1<T4≦1.225×T1
のうちの少なくとも一方が満たされている、請求項5に記載の弾性波装置。
【請求項7】
前記低音響インピーダンス層の主成分は、SiO
2
であり、
前記高音響インピーダンス層の主成分は、HfO
2
、Ta
2
O
5
、ZrO
2
、SiN、AlN、Al
2
O
3
、W、Pt、Ta、およびHfのうちの少なくとも1つである、請求項1に記載の弾性波装置。
【請求項8】
前記低音響インピーダンス層の主成分は、SiO
2
であり、
前記高音響インピーダンス層の主成分は、HfO
2
である、請求項1に記載の弾性波装置。
【請求項9】
前記IDT電極は、板波を励振するように構成されている、請求項1に記載の弾性波装置。
【請求項10】
前記板波は、A1Lamb波である、請求項9に記載の弾性波装置。
(【請求項11】以降は省略されています)
発明の詳細な説明
【技術分野】
【0001】
本開示の一態様は、弾性波装置に関する。
続きを表示(約 2,600 文字)
【背景技術】
【0002】
下記の特許文献1には、弾性波装置の一構成例が開示されている。
【先行技術文献】
【特許文献】
【0003】
国際公開WO2023/033032
【発明の概要】
【発明が解決しようとする課題】
【0004】
弾性波装置の周波数特性を改善することが望まれている。
【課題を解決するための手段】
【0005】
本開示の一態様に係る弾性波装置は、圧電体と、前記圧電体の近傍に位置しているIDT電極と、前記圧電体の下方に位置している音響反射膜と、を有しており、前記音響反射膜は、低音響インピーダンス層と高音響インピーダンス層との積層構造を有しており、前記音響反射膜は、全ての前記低音響インピーダンス層および前記高音響インピーダンス層のうち、前記圧電体の最も近くに位置している前記低音響インピーダンス層である第1層と、前記第1層の下面と接している前記高音響インピーダンス層である第2層と、前記第2層の下面と接している前記低音響インピーダンス層である第3層と、を有しており、前記第1層の厚みをT1と表記し、前記第3層の厚みをT3と表記した場合に、T1<T3である。
【0006】
本開示の一態様に係る弾性波装置は、圧電体と、前記圧電体の近傍に位置しているIDT電極と、前記圧電体の下方に位置している音響反射膜と、を有しており、前記音響反射膜は、低音響インピーダンス層と高音響インピーダンス層との積層構造を有しており、前記音響反射膜は、全ての前記低音響インピーダンス層および前記高音響インピーダンス層のうち、前記圧電体の最も近くに位置している前記低音響インピーダンス層である第1層と、前記第1層の下面と接している前記高音響インピーダンス層である第2層と、前記第2層の下面と接している前記低音響インピーダンス層である第3層と、前記第3層の下面と接している前記高音響インピーダンス層である第4層と、前記第4層の下面と接している前記低音響インピーダンス層である第5層と、前記第5層の下面と接している前記高音響インピーダンス層である第6層と、を有しており、前記第2層の厚みをT2と表記し、
前記第4層の厚みをT4と表記し、前記第6層の厚みをT6と表記した場合に、
T6<T2
および、
T6<T4
のうちの少なくとも一方が満たされている。
【0007】
本開示の一態様に係る弾性波装置は、圧電体と、前記圧電体の近傍に位置しているIDT電極と、前記圧電体の下方に位置している音響反射膜と、を有しており、前記音響反射膜は、低音響インピーダンス層と高音響インピーダンス層との積層構造を有しており、前記音響反射膜における前記低音響インピーダンス層の数と前記高音響インピーダンス層の数との和は、4以上かつ5以下であり、前記音響反射膜は、全ての前記低音響インピーダンス層および前記高音響インピーダンス層のうち、前記圧電体の最も近くに位置している前記低音響インピーダンス層である第1層と、前記第1層の下面と接している前記高音響インピーダンス層である第2層と、前記第2層の下面と接している前記低音響インピーダンス層である第3層と、前記第3層の下面と接している前記高音響インピーダンス層である第4層と、を有しており、前記第1層の厚みをT1と表記し、前記第2層の厚みをT2と表記し、前記第4層の厚みをT4と表記した場合に、
0.825×T1<T2
および、
0.825×T1<T4
のうちの少なくとも一方が満たされている。
【発明の効果】
【0008】
本開示の一態様によれば、弾性波装置の周波数特性を改善できる。
【図面の簡単な説明】
【0009】
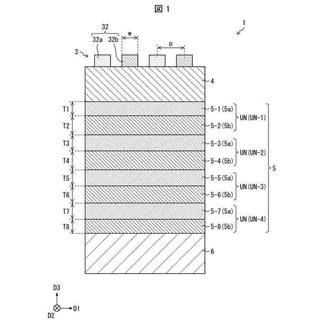
実施形態1の弾性波装置の一構成例を示す。
第1の検討において得られた、弾性波装置におけるピッチと周波数特性との関係の例を示す。
第1の検討において得られた、弾性波装置におけるDutyと周波数特性との関係の例を示す。
第1の検討において得られた、弾性波装置における圧電体の厚みと周波数特性との関係の例を示す。
第1の検討において得られた、弾性波装置におけるIDT電極の厚みと周波数特性との関係の例を示す。
第2の検討において得られた、弾性波装置におけるT1と周波数特性との関係の例を示す。
第2の検討において得られた、弾性波装置におけるT2と周波数特性との関係の例を示す。
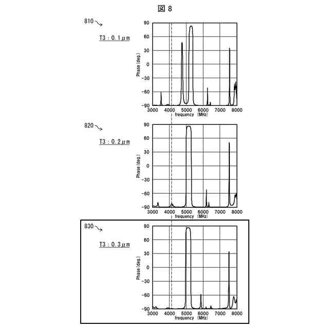
第2の検討において得られた、弾性波装置におけるT3と周波数特性との関係の例を示す。
第2の検討において得られた、弾性波装置におけるT4と周波数特性との関係の例を示す。
第2の検討において得られた、弾性波装置におけるT5と周波数特性との関係の例を示す。
第2の検討において得られた、弾性波装置におけるT6と周波数特性との関係の例を示す。
第2の検討において得られた、弾性波装置におけるT7と周波数特性との関係の例を示す。
第2の検討において得られた、弾性波装置におけるT8と周波数特性との関係の例を示す。
第3の検討において得られた、弾性波装置における周波数特性の例を示す。
第4の検討において得られた、弾性波装置における周波数特性の例を示す。
第5の検討において得られた結果を概略的に示す。
第6の検討において得られた結果を概略的に示す。
【発明を実施するための形態】
【0010】
〔実施形態1〕
実施形態1について以下に説明する。説明の便宜上、実施形態1にて説明したコンポーネント(構成要素)と同じ機能を有するコンポーネントについては、以降の各実施形態では同じ符号を付し、その説明を繰り返さない。簡潔化のため、公知の技術事項についても説明を適宜省略する。本明細書において述べる各コンポーネント、各材料、および各数値はいずれも、内容上矛盾のない限り、単なる例示である。それゆえ、内容上矛盾のない限り、例えば各コンポーネントの位置関係および接続関係は各図の例に限定されない。また、各図は必ずしもスケール通りに図示されていない。
(【0011】以降は省略されています)
この特許をJ-PlatPat(特許庁公式サイト)で参照する
関連特許
京セラ株式会社
光学系
2日前
京セラ株式会社
蓄電装置
23日前
京セラ株式会社
配線基板
8日前
京セラ株式会社
配線基板
8日前
京セラ株式会社
粒子分離装置
23日前
京セラ株式会社
センサシステム
29日前
京セラ株式会社
静圧気体軸受装置
22日前
京セラ株式会社
走査装置及び制御装置
22日前
京セラ株式会社
コネクタ及び取付方法
24日前
京セラ株式会社
走査装置及び制御装置
22日前
京セラ株式会社
配線基板及び電子装置
29日前
京セラ株式会社
配線基板及び電子装置
29日前
京セラ株式会社
太陽電池付きカーポート
22日前
京セラ株式会社
太陽電池付きカーポート
22日前
京セラ株式会社
発光装置および照明装置
1か月前
京セラ株式会社
流路デバイスの準備方法
24日前
京セラ株式会社
受電装置及び光給電システム
24日前
京セラ株式会社
電磁波検出装置及び制御装置
8日前
京セラ株式会社
取付部材及びヘッド取付方法
1か月前
京セラ株式会社
光集積回路及び光トランシーバ
8日前
京セラ株式会社
フィルタデバイスおよび通信装置
29日前
京セラ株式会社
光センサおよび光センサの製造方法
18日前
京セラ株式会社
揺動装置、電磁波照射装置、及び制御装置
22日前
京セラ株式会社
光通信装置、光通信システム及び光照射素子
25日前
京セラ株式会社
ホルダ、切削工具、及び切削加工物の製造方法
23日前
京セラ株式会社
ノード、方法、プログラム及び分散台帳システム
24日前
京セラ株式会社
多層基板、フィルタモジュール、および通信装置
1か月前
京セラ株式会社
太陽光発電システム及び太陽電池付きカーポート
4日前
京セラ株式会社
情報処理装置、情報処理システム、及び情報処理方法
24日前
京セラ株式会社
プログラム、給電方法、給電装置及び光給電システム
23日前
京セラ株式会社
情報処理装置、情報処理システム、及び情報処理方法
24日前
京セラ株式会社
受発光センサ及び該受発光センサを備えた画像形成装置
22日前
京セラ株式会社
受発光センサ及び該受発光センサを備えた画像形成装置
22日前
京セラ株式会社
受発光センサ及び該受発光センサを備えた画像形成装置
22日前
京セラ株式会社
受発光センサ及び該受発光センサを備えた画像形成装置
22日前
京セラ株式会社
受発光センサ及び該受発光センサを備えた画像形成装置
22日前
続きを見る
他の特許を見る