TOP
|
特許
|
意匠
|
商標
特許ウォッチ
Twitter
他の特許を見る
公開番号
2025147519
公報種別
公開特許公報(A)
公開日
2025-10-07
出願番号
2024047799
出願日
2024-03-25
発明の名称
光通信装置、光通信システム及び光照射素子
出願人
京セラ株式会社
代理人
個人
,
個人
主分類
H04B
10/112 20130101AFI20250930BHJP(電気通信技術)
要約
【課題】双方向通信する信号光の軸合わせを容易にすること。
【解決手段】第1の光通信装置10は、通信対象の第2の光通信装置20に向けて送信信号光(第1通信光L1)を照射する光照射素子11と、通信対象の第2の光通信装置20からの受信信号光(第2通信光L2)が入射されるレンズ12と、レンズ12によって集光された受信信号光を受光する受光素子13と、を備え、レンズ12には貫通孔12aが設けられており、光照射素子11は貫通孔12aに沿った仮想線L0上にあって、送信信号光をレンズ12に当てないように、送信信号光の軸をレンズ12の光軸Opと平行に照射可能に配設されており、受光素子13は、光照射素子11から照射された送信信号光の中心の軸と、レンズ12に入射する受信信号光の中心の軸とが重なった際に、レンズ12によって集光された受信信号光を受光可能な位置に配設されている。
【選択図】図1
特許請求の範囲
【請求項1】
通信対象の装置に向けて送信信号光を照射する光照射素子と、
前記通信対象の装置からの受信信号光が入射されるレンズと、
前記レンズによって集光された前記受信信号光を受光する受光素子と、
を備え、
前記光照射素子は、前記送信信号光を前記レンズに当てないように、前記送信信号光の軸を前記レンズの光軸と平行に照射可能な位置に配設されており、
前記受光素子は、前記光照射素子から照射された前記送信信号光の中心の軸と、前記レンズに入射する前記受信信号光の中心の軸とが重なった際に、前記レンズによって集光された前記受信信号光を受光可能な位置に配設されていることを特徴とする光通信装置。
続きを表示(約 1,100 文字)
【請求項2】
前記レンズには貫通孔が設けられており、
前記光照射素子は、前記貫通孔に沿った仮想線上に配設されていることを特徴とする請求項1に記載の光通信装置。
【請求項3】
前記貫通孔は、前記レンズの中央部に設けられており、
前記受光素子は、前記レンズの光軸寄りの位置に配設されていることを特徴とする請求項2に記載の光通信装置。
【請求項4】
前記貫通孔は、前記レンズの光軸からずれた位置に設けられており、
前記受光素子は、前記レンズの光軸寄りの位置に配設されていることを特徴とする請求項2に記載の光通信装置。
【請求項5】
前記受光素子は、前記レンズの焦点に相当する位置に配設されていることを特徴とする請求項1~4のいずれか一項に記載の光通信装置。
【請求項6】
前記光照射素子は、前記貫通孔内に配設されており、前記レンズと一体に設けられていることを特徴とする請求項2~4のいずれか一項に記載の光通信装置。
【請求項7】
請求項1に記載の光通信装置を一対備えている光通信システムであって、
一方の光通信装置から他方の光通信装置に向けて照射された前記送信信号光の中心の軸と、前記他方の光通信装置から前記一方の光通信装置に向けて照射された前記送信信号光であるとともに前記一方の光通信装置の前記レンズに前記受信信号光として入射する光の中心の軸とが重なるように構成されていることを特徴とする光通信システム。
【請求項8】
前記レンズには貫通孔が設けられており、
前記光照射素子は、前記貫通孔に沿った仮想線上に配設されていることを特徴とする請求項7に記載の光通信システム。
【請求項9】
前記一方の光通信装置と前記他方の光通信装置とが備えている前記レンズの貫通孔は、前記レンズの中央部に設けられており、
前記一方の光通信装置と前記他方の光通信装置とが備えている前記受光素子は、前記レンズの光軸寄りの位置に配設されていることを特徴とする請求項8に記載の光通信システム。
【請求項10】
前記一方の光通信装置と前記他方の光通信装置とが備えている前記レンズの貫通孔は、前記レンズの光軸からずれた位置に設けられており、
前記一方の光通信装置と前記他方の光通信装置とが備えている前記受光素子は、前記レンズの光軸寄りの位置に配設されていることを特徴とする請求項8に記載の光通信システム。
(【請求項11】以降は省略されています)
発明の詳細な説明
【技術分野】
【0001】
本開示は、光通信装置、光通信システム及び光照射素子に関する。
続きを表示(約 1,400 文字)
【背景技術】
【0002】
従来、通信対象に向けて信号光を照射する光送信器と、通信対象からの信号光を受光する光受信器とを備えた光通信装置を用いる通信システムが開発されている。
特許文献1には、一対の光通信装置間で双方向通信を行う技術が記載されている。
【先行技術文献】
【特許文献】
【0003】
特開2024-6338号公報
【発明の概要】
【発明が解決しようとする課題】
【0004】
上記特許文献1のような双方向通信を行う場合、一対の光通信装置の間には、一方の光通信装置から他方の光通信装置に向かう第1方向の信号光の経路と、他方の光通信装置から一方の光通信装置に向かう第2方向の信号光の経路との2本の通信経路があるため、両方向の信号光の軸を合わせる必要がある。
その光通信装置において光送信器と光受信器が同一の台座に固定されている場合、一方の信号光の軸を合わせた後、他方の信号光の軸を合わせようとすると、先に合わせた信号光の軸がずれてしまうため、両方の信号光の軸を合わせる作業は煩雑であった。
【0005】
本開示は、双方向通信する信号光の軸合わせを容易にすることを目的とする。
【課題を解決するための手段】
【0006】
本開示に係る光通信装置は、
通信対象の装置に向けて送信信号光を照射する光照射素子と、
前記通信対象の装置からの受信信号光が入射されるレンズと、
前記レンズによって集光された前記受信信号光を受光する受光素子と、
を備え、
前記光照射素子は、前記送信信号光を前記レンズに当てないように、前記送信信号光の軸を前記レンズの光軸と平行に照射可能な位置に配設されており、
前記受光素子は、前記光照射素子から照射された前記送信信号光の中心の軸と、前記レンズに入射する前記受信信号光の中心の軸とが重なった際に、前記レンズによって集光された前記受信信号光を受光可能な位置に配設されている。
【0007】
本開示に係る光通信システムは、上記の光通信装置を一対備えており、
一方の光通信装置から他方の光通信装置に向けて照射された前記送信信号光の中心の軸と、前記他方の光通信装置から前記一方の光通信装置に向けて照射された前記送信信号光であるとともに前記一方の光通信装置の前記レンズに前記受信信号光として入射する光の中心の軸とが重なるように構成されている。
【0008】
本開示に係る光照射素子は、上記の光通信装置に備えられており、
前記光照射素子は前記貫通孔内に配設されており、前記レンズと一体に設けられている。
【発明の効果】
【0009】
本開示によれば、双方向通信する信号光の軸合わせが容易になる。
【図面の簡単な説明】
【0010】
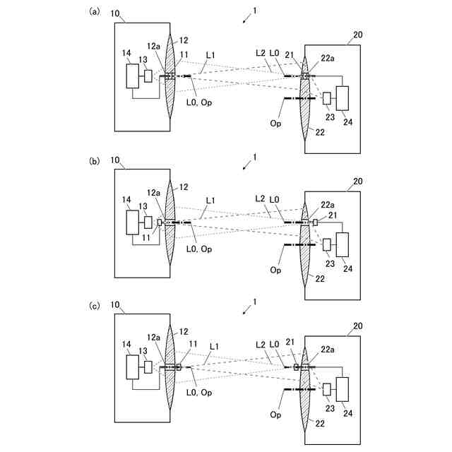
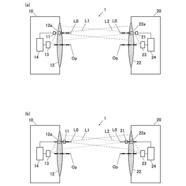
本開示の第1実施形態に係る光通信システムを示す概略図である。
第1実施形態の光通信システムの変形例を示す概略図(a)(b)である。
本開示の第2実施形態に係る光通信システムを示す概略図である。
第2実施形態の光通信システムの変形例を示す概略図(a)(b)である。
本開示の第3実施形態に係る光通信システムを示す概略図(a)(b)(c)である。
【発明を実施するための形態】
(【0011】以降は省略されています)
この特許をJ-PlatPat(特許庁公式サイト)で参照する
関連特許
京セラ株式会社
光学系
4日前
京セラ株式会社
配線基板
10日前
京セラ株式会社
二次電池
1か月前
京セラ株式会社
蓄電装置
25日前
京セラ株式会社
配線基板
10日前
京セラ株式会社
弾性波装置
1か月前
京セラ株式会社
粒子分離装置
25日前
京セラ株式会社
センサシステム
1か月前
京セラ株式会社
静圧気体軸受装置
24日前
京セラ株式会社
太陽電池モジュール
1か月前
京セラ株式会社
走査装置及び制御装置
24日前
京セラ株式会社
走査装置及び制御装置
24日前
京セラ株式会社
配線基板及び電子装置
1か月前
京セラ株式会社
配線基板及び電子装置
1か月前
京セラ株式会社
コネクタ及び取付方法
26日前
京セラ株式会社
流路デバイスの準備方法
26日前
京セラ株式会社
太陽電池付きカーポート
24日前
京セラ株式会社
発光装置および照明装置
1か月前
京セラ株式会社
太陽電池付きカーポート
24日前
京セラ株式会社
骨モデルおよび表示システム
2か月前
京セラ株式会社
受電装置及び光給電システム
26日前
京セラ株式会社
半導体装置及びその製造方法
1か月前
京セラ株式会社
取付部材及びヘッド取付方法
1か月前
京セラ株式会社
電磁波検出装置及び制御装置
10日前
京セラ株式会社
光集積回路及び光トランシーバ
10日前
京セラ株式会社
電源制御装置及び電源制御方法
1か月前
京セラ株式会社
液体吐出ヘッドおよび記録装置
1か月前
京セラ株式会社
電源制御装置及び電源制御方法
1か月前
京セラ株式会社
電源制御装置及び電源制御方法
1か月前
京セラ株式会社
フィルタデバイスおよび通信装置
1か月前
京セラ株式会社
液滴吐出ヘッドおよび液滴吐出装置
1か月前
京セラ株式会社
光センサおよび光センサの製造方法
20日前
京セラ株式会社
揺動装置、電磁波照射装置、及び制御装置
24日前
京セラ株式会社
光通信装置、光通信システム及び光照射素子
27日前
京セラ株式会社
ホルダ、切削工具、及び切削加工物の製造方法
25日前
京セラ株式会社
情報処理装置及び学習モデル用データ生成方法
1か月前
続きを見る
他の特許を見る