TOP
|
特許
|
意匠
|
商標
特許ウォッチ
Twitter
他の特許を見る
10個以上の画像は省略されています。
公開番号
2025154188
公報種別
公開特許公報(A)
公開日
2025-10-10
出願番号
2024057056
出願日
2024-03-29
発明の名称
受発光センサ及び該受発光センサを備えた画像形成装置
出願人
京セラ株式会社
代理人
弁理士法人三協国際特許事務所
主分類
G01N
21/47 20060101AFI20251002BHJP(測定;試験)
要約
【課題】乱反射光を検出する乱反射光検出方式と、正反射光を検出する正反射光検出方式とを1つの受発光センサにより実現しつつ、乱反射光と正反射光とが混在して検出されることによる測定精度の低下を防止する。
【解決手段】受発光センサ10は、基板11の一方の面に所定方向に沿って配置された第1発光素子14、第2発光素子16、第1受光素子15及び第2受光素子17を備えている。第1受光素子15は、第1発光素子14から出射された光の正反射光を受光する。第2受光素子17は、第2発光素子16から出射された光の乱反射光を受光する。基板垂直方向から見て、第1発光領域14aの面積重心位置C1と第1受光領域15aの面積重心位置C2とを通る第1基準線L12と、第2発光領域16aの面積重心位置C3と第2受光領域17aの面積重心位置C4とを通る第2基準線L34とが交差する。
【選択図】図7A
特許請求の範囲
【請求項1】
測定対象物に向けて光を照射し、該測定対象物からの反射光を検出する受発光センサであって、
主基板と、
前記主基板の一方の面に所定方向に沿って配置された第1発光素子、第2発光素子、第1受光素子及び第2受光素子とを備え、
前記第1発光素子は第1発光領域を含み、前記第2発光素子は第2発光領域を含み、
前記第1受光素子は第1受光領域を含み、前記第2受光素子は第2受光領域を含み、
前記第1受光素子は、前記第1発光素子から出射された光の正反射光を受光可能な位置に配置され、
前記第2受光素子は、前記第2発光素子から出射された光の乱反射光を受光可能な位置に配置され、
前記主基板に垂直な基板垂直方向から見て、前記第1発光領域の面積重心位置と前記第1受光領域の面積重心位置とを通る直線を第1基準線と定義し、前記第2発光領域の面積重心位置と前記第2受光領域の面積重心位置とを通る直線を第2基準線と定義したとき、前記第1基準線と前記第2基準線とが交差するように前記各受光素子及び前記各発光素子が配置されている、受発光センサ。
続きを表示(約 1,700 文字)
【請求項2】
請求項1記載の受発光センサにおいて、
前記主基板に積層され、前記所定方向において互いに隣接して並ぶ第1素子基板及び第2素子基板をさらに備え、
前記第1受光素子及び前記第1発光素子は、前記第1素子基板に配置され、
前記第2受光素子及び前記第2発光素子は、前記第2素子基板に配置され、受発光センサ。
【請求項3】
請求項2記載の受発光センサにおいて、
前記基板垂直方向から見て、前記第1素子基板は、その延設方向が前記第1基準線と平行で且つ前記主基板の延設方向と一致するように配置され、且つ、前記第2素子基板は、その延設方向が前記第2基準線と平行で且つ前記主基板の延設方向に対して傾くように配置されている、受発光センサ。
【請求項4】
請求項2記載の受発光センサにおいて、
前記基板垂直方向から見て、前記第1素子基板は、その延設方向が前記第1基準線と平行で且つ前記主基板の延設方向と一致するように配置され、
前記第2素子基板は、その延設方向が前記主基板の延設方向と一致するように配置されており、
前記基板垂直方向から見て、前記第2素子基板の延設方向に直交する方向における前記第2受光領域の面積重心位置及び前記第2発光領域の面積重心位置が互いに異なっている、受発光センサ。
【請求項5】
請求項3記載の受発光センサにおいて、
前記基板垂直方向から見て、前記第2素子基板の延設方向に直交する方向における前記第2受光領域の面積重心位置及び前記第2発光領域の面積重心位置が互いに異なっている、受発光センサ。
【請求項6】
測定対象物に向けて光を照射し、該測定対象物からの反射光を検出する受発光センサであって、
主基板と、
前記主基板の一方の面に所定方向に沿って配置された第1発光素子、第2発光素子、第1受光素子及び第2受光素子とを備え、
前記第1発光素子は第1発光領域を含み、前記第2発光素子は第2発光領域を含み、
前記第1受光素子は第1受光領域を含み、前記第2受光素子は第2受光領域を含み、
前記第1受光素子は、前記第1発光素子から出射された光の正反射光を受光可能な位置に配置され、
前記第2受光素子は、前記第2発光素子から出射された光の乱反射光を受光可能な位置に配置され、
前記主基板に垂直な基板垂直方向から見て、前記第2発光領域の面積重心位置と前記第2受光領域の面積重心位置とを通る直線を第2基準線と定義し、前記第1受光領域の面積重心位置と前記第2受光領域の面積重心位置とを通る直線を第3基準線と定義したとき、前記第2基準線と前記第3基準線とが交差するように前記各受光素子及び前記各発光素子が配置されている、受発光センサ。
【請求項7】
請求項6記載の受発光センサおいて、
前記主基板の前記一方の面に積層された1つの素子基板をさらに備え、
前記第1受光素子と、前記第1発光素子と、前記第2受光素子と、前記第2発光素子とは、前記素子基板に配置されている、受発光センサ。
【請求項8】
請求項7記載の受発光センサおいて、
前記基板垂直方向から見て、前記第1発光領域の面積重心位置と前記第1受光領域の面積重心位置とを通る直線を第1基準線と定義したとき、前記第3基準線が前記第1基準線に対して交差するように前記各受光素子及び前記各発光素子が配置されている、受発光センサ。
【請求項9】
請求項7記載の受発光センサおいて、
前記基板垂直方向から見て、前記第1発光領域の面積重心位置と前記第1受光領域の面積重心位置とを通る直線を第1基準線と定義したとき、前記第3基準線が前記第1基準線に対して平行になるように前記各受光素子及び前記各発光素子が配置されている、受発光センサ。
【請求項10】
請求項1から9のいずれか1つに記載の受発光センサを備えた画像形成装置。
発明の詳細な説明
【技術分野】
【0001】
本開示は、受発光センサ及び該受発光センサを備えた画像形成装置に関する。
続きを表示(約 1,800 文字)
【背景技術】
【0002】
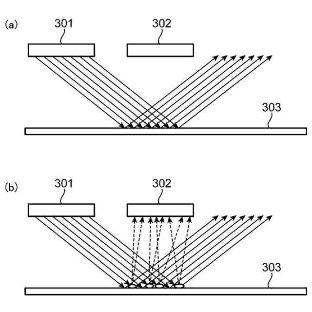
従来、測定対象物に向けて光を照射する発光部と、該測定対象物からの反射光を検出する受光部と、該発光部及び受光部が実装される基板とを備えた受発光センサが知られている。この種の受発光センサは、測定対象物の特性値(例えば表面濃度や位置等であって、以下、測定対象値という)の測定に使用される。
【0003】
下記特許文献1には、この種の受発光センサの一例が開示されている。この例では、受発光センサは、電子写真方式の画像形成装置等において中間転写ベルト上に形成されたパッチ画像の濃度や位置ずれを測定する用途に使用されている。
【0004】
この受発光センサは、発光部として第1発光素子と第2発光素子とを備えるとともに、受光部として第1受光素子と第2受光素子とを備えている。
【0005】
前記第1受光素子は、第1発光素子から出射された光の正反射光を受光可能な位置に配置されている。また第1受光素子は、第2発光素子から出射された光の乱反射光を受光可能な位置に配置されている。前記第2受光素子は、第2発光素子から出射された光の乱反射光を受光可能な位置に配置されている。
【先行技術文献】
【特許文献】
【0006】
特許第7195808号公報
【発明の概要】
【発明が解決しようとする課題】
【0007】
しかしながら、特許文献1に示す受発光センサでは、諸要因(例えば測定対象物を支持する部材の位置ずれ等)によって、乱反射光の検出用に設けられた第2受光素子に、第1発光素子から出射される光の正反射光が入射したり、第2発光素子から出射される光の正反射光が入射したりして、測定対象値の測定精度が低下する虞がある。
【0008】
本開示の目的は、乱反射光を検出する乱反射光検出方式と、正反射光を検出する正反射光検出方式とを1つの受発光センサにより実現しつつ、乱反射光と正反射光とが混在して検出されることによる測定対象値の測定精度の低下を防止することにある。
【課題を解決するための手段】
【0009】
本開示の一局面に係る受発光センサは、測定対象物に向けて光を照射し、該測定対象物からの反射光を検出する受発光センサであって、主基板と、前記主基板の一方の面に所定方向に沿って配置された第1発光素子、第2発光素子、第1受光素子及び第2受光素子とを備え、前記第1発光素子は第1発光領域を含み、前記第2発光素子は第2発光領域を含み、前記第1受光素子は第1受光領域を含み、前記第2受光素子は第2受光領域を含み、前記第1受光素子は、前記第1発光素子から出射された光の正反射光を受光可能な位置に配置され、前記第2受光素子は、前記第2発光素子から出射された光の乱反射光を受光可能な位置に配置され、前記主基板に垂直な基板垂直方向から見て、前記第1発光領域の面積重心位置と前記第1受光領域の面積重心位置とを通る直線を第1基準線と定義し、前記第2発光領域の面積重心位置と前記第2受光領域の面積重心位置とを通る直線を第2基準線と定義したとき、前記第1基準線と前記第2基準線とが交差するように前記各受光素子及び前記各発光素子が配置されている。
【0010】
本開示の他の局面に係る受発光センサは、測定対象物に向けて光を照射し、該測定対象物からの反射光を検出する受発光センサであって、主基板と、前記主基板の一方の面に所定方向に沿って配置された第1発光素子、第2発光素子、第1受光素子及び第2受光素子とを備え、前記第1発光素子は第1発光領域を含み、前記第2発光素子は第2発光領域を含み、前記第1受光素子は第1受光領域を含み、前記第2受光素子は第2受光領域を含み、前記第1受光素子は、前記第1発光素子から出射された光の正反射光を受光可能な位置に配置され、前記第2受光素子は、前記第2発光素子から出射された光の乱反射光を受光可能な位置に配置され、前記主基板に垂直な基板垂直方向から見て、前記第2発光領域の面積重心位置と前記第2受光領域の面積重心位置とを通る直線を第2基準線と定義し、前記第1受光領域の面積重心位置と前記第2受光領域の面積重心位置とを通る直線を第3基準線と定義したとき、前記第2基準線と前記第3基準線とが交差するように前記各受光素子及び前記各発光素子が配置されている。
(【0011】以降は省略されています)
この特許をJ-PlatPat(特許庁公式サイト)で参照する
関連特許
京セラ株式会社
蓄電装置
9日前
京セラ株式会社
弾性波装置
22日前
京セラ株式会社
粒子分離装置
9日前
京セラ株式会社
センサシステム
15日前
京セラ株式会社
静圧気体軸受装置
8日前
京セラ株式会社
太陽電池モジュール
1か月前
京セラ株式会社
走査装置及び制御装置
8日前
京セラ株式会社
配線基板及び電子装置
15日前
京セラ株式会社
配線基板及び電子装置
15日前
京セラ株式会社
コネクタ及び取付方法
10日前
京セラ株式会社
走査装置及び制御装置
8日前
京セラ株式会社
太陽電池付きカーポート
8日前
京セラ株式会社
流路デバイスの準備方法
10日前
京セラ株式会社
発光装置および照明装置
19日前
京セラ株式会社
太陽電池付きカーポート
8日前
京セラ株式会社
受電装置及び光給電システム
10日前
京セラ株式会社
取付部材及びヘッド取付方法
16日前
京セラ株式会社
液体吐出ヘッドおよび記録装置
1か月前
京セラ株式会社
フィルタデバイスおよび通信装置
15日前
京セラ株式会社
光センサおよび光センサの製造方法
4日前
京セラ株式会社
揺動装置、電磁波照射装置、及び制御装置
8日前
京セラ株式会社
光通信装置、光通信システム及び光照射素子
11日前
京セラ株式会社
ホルダ、切削工具、及び切削加工物の製造方法
9日前
京セラ株式会社
ノード、方法、プログラム及び分散台帳システム
10日前
京セラ株式会社
多層基板、フィルタモジュール、および通信装置
19日前
京セラ株式会社
情報処理装置、情報処理システム、及び情報処理方法
10日前
京セラ株式会社
切削インサート、切削工具及び切削加工物の製造方法
1か月前
京セラ株式会社
情報処理装置、情報処理システム、及び情報処理方法
10日前
京セラ株式会社
プログラム、給電方法、給電装置及び光給電システム
9日前
京セラ株式会社
受発光センサ及び該受発光センサを備えた画像形成装置
8日前
京セラ株式会社
受発光センサ及び該受発光センサを備えた画像形成装置
8日前
京セラ株式会社
受発光センサ及び該受発光センサを備えた画像形成装置
8日前
京セラ株式会社
受発光センサ及び該受発光センサを備えた画像形成装置
8日前
京セラ株式会社
受発光センサ及び該受発光センサを備えた画像形成装置
8日前
京セラ株式会社
ダンパ部材、液体吐出ヘッド、液体吐出装置及び記録装置
9日前
京セラ株式会社
通信装置、暗号通信方法、プログラム及び暗号通信システム
9日前
続きを見る
他の特許を見る