TOP
|
特許
|
意匠
|
商標
特許ウォッチ
Twitter
他の特許を見る
10個以上の画像は省略されています。
公開番号
2025151057
公報種別
公開特許公報(A)
公開日
2025-10-09
出願番号
2024052288
出願日
2024-03-27
発明の名称
ダンパ部材、液体吐出ヘッド、液体吐出装置及び記録装置
出願人
京セラ株式会社
代理人
弁理士法人三協国際特許事務所
主分類
B41J
2/14 20060101AFI20251002BHJP(印刷;線画機;タイプライター;スタンプ)
要約
【課題】弾性フィルムの接合不良を抑制することが可能なダンパ部材、それを備えた液体吐出ヘッド、液体吐出装置及び記録装置を提供する。
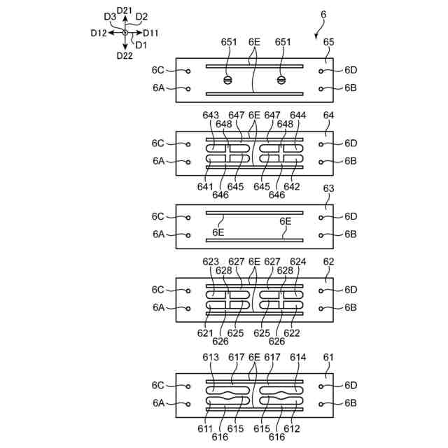
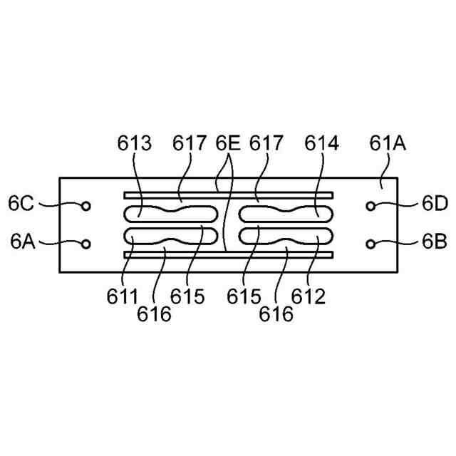
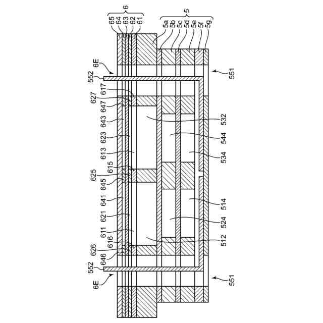
【解決手段】ダンパ部材6は、液体吐出ヘッド2において第2流路部材5の上に配置される部材である。ダンパ部材6では、第1ダンパプレート61と弾性フィルム63とが第1接合シート62により接合されている。第1接合シート62は、第1ダンパプレート61の隔壁部615と弾性フィルム63とを接合する隔壁接合部625と、第1ダンパプレート61の第1周壁部616と弾性フィルム63とを接合する第1周壁接合部626と、第1ダンパプレート61の第2周壁部617と弾性フィルム63とを接合する第2周壁接合部627と、第1周壁接合部626、隔壁接合部625及び第2周壁接合部627を互いに接続する接続部628と、を有している。
【選択図】図8
特許請求の範囲
【請求項1】
平面視したとき、幅方向と、前記幅方向と直交する長手方向とに延び、前記長手方向が前記幅方向よりも長い液体吐出ヘッドにおいて、前記幅方向に互いに離れて配置されて液体を収容可能な第1収容室及び第2収容室が形成された流路部材の上に配置されるダンパ部材であって、
前記第1収容室に連通する第1ダンパ開口と、前記第2収容室に連通し前記第1ダンパ開口に対して前記幅方向に離れて配置される第2ダンパ開口とを有する第1ダンパプレートと、
前記第1ダンパプレートを上方から覆う、弾性変形可能な弾性フィルムと、
前記第1ダンパプレートと前記弾性フィルムとの間に配置され、前記第1ダンパプレートと前記弾性フィルムとを接合するシートであって、前記第1ダンパ開口に重なる領域に形成された第1シート開口と、前記第2ダンパ開口に重なる領域に形成された第2シート開口と、を有する第1接合シートと、を備え、
前記第1ダンパプレートは、前記幅方向において、前記第1ダンパ開口と前記第2ダンパ開口との間で前記長手方向に延びる隔壁部と、前記第1ダンパ開口の前記隔壁部とは反対側で前記長手方向に延びる第1周壁部と、前記第2ダンパ開口の前記隔壁部とは反対側で前記長手方向に延びる第2周壁部と、を有しており、
前記第1接合シートは、
前記隔壁部に沿って前記長手方向に延び、前記隔壁部と前記弾性フィルムとを接合する隔壁接合部と、
前記第1周壁部に沿って前記長手方向に延び、前記第1周壁部と前記弾性フィルムとを接合する第1周壁接合部と、
前記第2周壁部に沿って前記長手方向に延び、前記第2周壁部と前記弾性フィルムとを接合する第2周壁接合部と、
前記第1シート開口及び前記第2シート開口に亘って前記幅方向に延び、前記第1周壁接合部、前記隔壁接合部及び前記第2周壁接合部を互いに接続する接続部と、を有している、ダンパ部材。
続きを表示(約 1,500 文字)
【請求項2】
前記隔壁部は、前記長手方向において、中央領域が端部領域よりも幅広の形状となっている幅広部を有している、請求項1に記載のダンパ部材。
【請求項3】
前記第1周壁部は、前記隔壁部の前記幅広部と対向するように、前記第1ダンパ開口の側に突出している形状を有しており、
前記第2周壁部は、前記隔壁部の前記幅広部と対向するように、前記第2ダンパ開口の側に突出している形状を有している、請求項2に記載のダンパ部材。
【請求項4】
前記第1周壁部は、前記長手方向において、中央領域が前記第1ダンパ開口の側に突出している形状を有しており、
前記第2周壁部は、前記長手方向において、中央領域が前記第2ダンパ開口の側に突出している形状を有している、請求項1に記載のダンパ部材。
【請求項5】
前記弾性フィルムを上方から覆う第2ダンパプレートと、
前記第2ダンパプレートと前記弾性フィルムとの間に配置され、前記第2ダンパプレートと前記弾性フィルムとを接合する第2接合シートと、を更に備え、
前記弾性フィルムは、前記第1接合シート及び前記第2接合シートを介して前記第1ダンパプレートと前記第2ダンパプレートとの間に挟持されている、請求項1に記載のダンパ部材。
【請求項6】
前記第2接合シートは、
前記第1ダンパ開口に重なる領域に形成された第2接合シート第1シート開口と、
前記第2ダンパ開口に重なる領域に形成された第2接合シート第2シート開口と、
前記隔壁部に沿って前記長手方向に延び、前記弾性フィルムの前記隔壁部と接合している部分の反対の面と、前記第2ダンパプレートとを接合する第2接合シート隔壁接合部と、
前記第1周壁部に沿って前記長手方向に延び、前記弾性フィルムの前記第1周壁部と接合している部分の反対の面と、前記第2ダンパプレートとを接合する第2接合シート第1周壁接合部と、
前記第2周壁部に沿って前記長手方向に延び、前記弾性フィルムの前記第2周壁部と接合している部分の反対の面と、前記第2ダンパプレートとを接合する第2接合シート第2周壁接合部と、
前記第2接合シート第1シート開口及び前記第2接合シート第2シート開口に亘って前記幅方向に延び、前記第2接合シート第1周壁接合部、前記第2接合シート隔壁接合部及び前記第2接合シート第2周壁接合部を互いに接続する第2接合シート接続部と、を有している、請求項5に記載のダンパ部材。
【請求項7】
前記接続部と、前記第2接合シート接続部とが重なって配置されている、請求項6に記載のダンパ部材。
【請求項8】
前記第1ダンパプレート及び前記第2ダンパプレートは、金属材料により構成されており、
前記第1接合シート及び前記第2接合シートは、樹脂材料により構成されている、請求項5に記載のダンパ部材。
【請求項9】
平面視したとき、幅方向と、前記幅方向と直交する長手方向とに延び、前記長手方向が前記幅方向よりも長い形状を有し、液体を吐出可能な液体吐出ヘッドであって、
前記幅方向に互いに離れて配置され、前記液体を収容可能な第1収容室及び第2収容室が形成された流路部材と、
前記流路部材の上に配置される、請求項1~8のいずれか1項に記載のダンパ部材と、を備える、液体吐出ヘッド。
【請求項10】
請求項9に記載の液体吐出ヘッドと、
前記液体吐出ヘッドの前記流路部材における前記第1収容室及び前記第2収容室の各々に液体を供給する供給部と、を備える、液体吐出装置。
(【請求項11】以降は省略されています)
発明の詳細な説明
【技術分野】
【0001】
本発明は、ダンパ部材、それを備えた液体吐出ヘッド、液体吐出装置及び記録装置に関する。
続きを表示(約 1,900 文字)
【背景技術】
【0002】
従来、液体吐出ヘッドを備えた液体吐出装置が知られている。液体吐出ヘッドでは、液体の吐出に伴い圧力変動が生じることで吐出特性に影響を及ぼすクロストークと呼ばれる現象がある。クロストークによって、吐出速度または吐出量の変動が生じ、画像の品質が低下することがある。
【0003】
クロストークを抑制可能な液体吐出ヘッドが、例えば特許文献1に開示されている。特許文献1に開示される液体吐出ヘッドは、支持部材に接合されたダンパ部材を備えている。ダンパ部材は、液体が収容される液室の壁面の一部を形成する弾性フィルム(ダンパ膜)を有している。ダンパ部材では、弾性フィルムの振動が減衰することにより、液室に生じた圧力変動を減衰させることができる。
【先行技術文献】
【特許文献】
【0004】
特開2023-127716号公報
【発明の概要】
【発明が解決しようとする課題】
【0005】
1つの液体吐出ヘッドから複数種類の液体を吐出させる場合がある。この場合、複数の液室を設ける必要がある。その際、液体吐出ヘッドの幅方向に互いに離れて複数の液室を設けることが考えられる。このような場合には、幅方向に互いに隣り合う液室間を隔てる隔壁部分の幅が狭くなるため、当該隔壁部分と弾性フィルムとの間の接合不良が生じ易くなり、各液室に生じる圧力変動を減衰させる効果が得られない虞がある。
【0006】
本発明の目的は、弾性フィルムの接合不良を抑制することが可能なダンパ部材、それを備えた液体吐出ヘッド、液体吐出装置及び記録装置を提供することにある。
【課題を解決するための手段】
【0007】
本発明の一の局面に係るダンパ部材は、平面視したとき、幅方向と、前記幅方向と直交する長手方向とに延び、前記長手方向が前記幅方向よりも長い液体吐出ヘッドにおいて、前記幅方向に互いに離れて配置されて液体を収容可能な第1収容室及び第2収容室が形成された流路部材の上に配置されるダンパ部材である。このダンパ部材は、前記第1収容室に連通する第1ダンパ開口と、前記第2収容室に連通し前記第1ダンパ開口に対して前記幅方向に離れて配置される第2ダンパ開口とを有する第1プレートと、前記第1プレートを上方から覆う、弾性変形可能な弾性フィルムと、前記第1プレートと前記弾性フィルムとの間に配置され、前記第1プレートと前記弾性フィルムとを接合するシートであって、前記第1ダンパ開口に重なる領域に形成された第1シート開口と、前記第2ダンパ開口に重なる領域に形成された第2シート開口と、を有する第1接合シートと、を備える。前記第1プレートは、前記幅方向において、前記第1ダンパ開口と前記第2ダンパ開口との間で前記長手方向に延びる隔壁部と、前記第1ダンパ開口の前記隔壁部とは反対側で前記長手方向に延びる第1周壁部と、前記第2ダンパ開口の前記隔壁部とは反対側で前記長手方向に延びる第2周壁部と、を有している。前記第1接合シートは、前記隔壁部に沿って前記長手方向に延び、前記隔壁部と前記弾性フィルムとを接合する隔壁接合部と、前記第1周壁部に沿って前記長手方向に延び、前記第1周壁部と前記弾性フィルムとを接合する第1周壁接合部と、前記第2周壁部に沿って前記長手方向に延び、前記第2周壁部と前記弾性フィルムとを接合する第2周壁接合部と、前記第1シート開口及び前記第2シート開口に亘って前記幅方向に延び、前記第1周壁接合部、前記隔壁接合部及び前記第2周壁接合部を互いに接続する接続部と、を有している。
【0008】
本発明の他の局面に係る液体吐出ヘッドは、平面視したとき、幅方向と、前記幅方向と直交する長手方向とに延び、前記長手方向が前記幅方向よりも長い形状を有し、液体を吐出可能な液体吐出ヘッドである。この液体吐出ヘッドは、前記幅方向に互いに離れて配置され、前記液体を収容可能な第1収容室及び第2収容室が形成された流路部材と、前記流路部材の上に配置される、上記のダンパ部材と、を備える。
【0009】
また、本発明の他の局面に係る液体吐出装置は、上記の液体吐出ヘッドと、前記液体吐出ヘッドの前記流路部材における前記第1収容室及び前記第2収容室の各々に液体を供給する供給部と、を備える。
【0010】
また、本発明の他の局面に係る記録装置は、上記の液体吐出ヘッドと、前記液体吐出ヘッドから吐出した液体を着弾させる記録媒体と前記液体吐出ヘッドとを相対移動させる移動部と、を備える。
【発明の効果】
(【0011】以降は省略されています)
この特許をJ-PlatPat(特許庁公式サイト)で参照する
関連特許
京セラ株式会社
振動検出方法
今日
京セラ株式会社
光センサモジュール
15日前
京セラ株式会社
光センサモジュール
15日前
京セラ株式会社
印刷装置及び印刷方法
20日前
京セラ株式会社
差動信号フィルタデバイス
7日前
京セラ株式会社
差動信号フィルタデバイス
7日前
京セラ株式会社
端子、端子部材および電気機器
13日前
京セラ株式会社
配線基板及びLEDモジュール
20日前
京セラ株式会社
端子、端子部材および電気機器
15日前
京セラ株式会社
電子デバイス及び電子モジュール
20日前
京セラ株式会社
電子機器、制御方法、及びプログラム
今日
京セラ株式会社
分析システム、分析装置、及び分析方法
20日前
京セラ株式会社
光センサおよびこれを備えた画像形成装置
15日前
京セラ株式会社
VMD支援システム、サーバ装置、及び通信方法
20日前
京セラ株式会社
行動検出システム、サーバ装置、及び行動検出方法
20日前
京セラ株式会社
被覆層付き金属部材
1日前
京セラ株式会社
半導体レーザデバイスの製造方法
15日前
京セラ株式会社
チップ状電子部品、チップ状電子部品の製造方法、及びチップ状電子部品の実装方法
13日前
京セラ株式会社
表示装置、結像装置、表示システムおよび車両
15日前
京セラ株式会社
表示装置、表示システム、車両及び表示パネル収容装置
7日前
京セラ株式会社
電気化学セル、電気化学セル装置、モジュールおよびモジュール収容装置
15日前
京セラ株式会社
情報処理装置、ロボットコントローラ、情報処理システム、及び情報処理方法
13日前
京セラ株式会社
情報処理システム、情報処理システムの制御方法、制御プログラム、記録媒体
7日前
24エム・テクノロジーズ・インコーポレイテッド
高活性固体ローディングを有する半固体電極、及びそれを含む電気化学セルを形成するための装置及びプロセス
1日前
個人
箔熱転写装置
2か月前
シヤチハタ株式会社
印判
6か月前
独立行政法人 国立印刷局
印刷物
8か月前
キヤノン株式会社
電子機器
20日前
三光株式会社
感熱記録材料
7か月前
キヤノン株式会社
記録装置
2か月前
株式会社リコー
液体吐出装置
7か月前
日本製紙株式会社
感熱記録体
9か月前
株式会社リコー
画像形成装置
1か月前
株式会社リコー
液体吐出装置
3か月前
株式会社リコー
液体吐出装置
6か月前
株式会社リコー
液体吐出装置
6か月前
続きを見る
他の特許を見る