TOP
|
特許
|
意匠
|
商標
特許ウォッチ
Twitter
他の特許を見る
10個以上の画像は省略されています。
公開番号
2025169650
公報種別
公開特許公報(A)
公開日
2025-11-14
出願番号
2024074553
出願日
2024-05-01
発明の名称
チップ状電子部品、チップ状電子部品の製造方法、及びチップ状電子部品の実装方法
出願人
京セラ株式会社
代理人
個人
,
個人
主分類
H01G
4/30 20060101AFI20251107BHJP(基本的電気素子)
要約
【課題】 基板への実装性が向上されたチップ状電子部品、チップ状電子部品の製造方法、及びチップ状電子部品の実装方法を提供する。
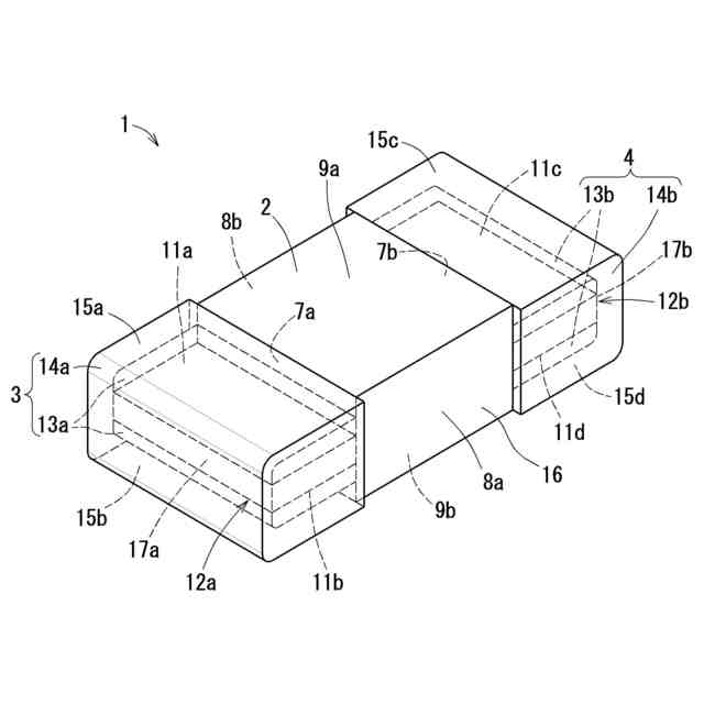
【解決手段】 積層セラミックコンデンサ1は、第1面7a及び第2面7bと、第3面8a及び第4面8bと、第5面9a及び第6面9bとを有する略直方体状の基部16と、基部16の第1面7aから突出する第1薄肉部12aと、基部16の第2面7bから突出する第2薄肉部12bと、第1薄肉部12aを覆う第1外部電極3と、第2薄肉部12bを覆う第2外部電極4と、を含む。第1外部電極3は、第1下地導電層13aと第1めっき層14aと、を有し、第2外部電極4は、第2下地導電層13bと第2めっき層14bと、を有する。
【選択図】 図1C
特許請求の範囲
【請求項1】
互いに対向する第1面及び第2面と、前記第1面及び第2面に連なり、互いに対向する第3面及び第4面と、前記第1面及び第2面並びに前記第3面及び第4面に連なり、互いに対向する第5面及び第6面とを有する略直方体状の基部と、
前記基部の前記第1面から突出する第1薄肉部と、
前記基部の前記第2面から突出する第2薄肉部と、
前記第1薄肉部を覆い、前記第5面を含む第1仮想平面及び前記第6面を含む第2仮想平面間にわたって形成された第1外部電極と、
前記第2薄肉部を覆い、前記第1仮想平面及び前記第2仮想平面間にわたって形成された第2外部電極と、を含み、
前記第1薄肉部は、前記第1仮想平面に臨む第1表面及び前記第2仮想平面に臨む第2表面を有し、
前記第2薄肉部は、前記第1仮想平面に臨む第3表面及び前記第2仮想平面に臨む第4表面を有し、
前記第1外部電極は、前記第1表面に積層される第1下地導電層と、前記第2表面に積層される第2下地導電層と、前記第1下地導電層と前記第1仮想平面との間及び前記前記第2下地導電層と前記第2仮想平面との間、並びに前記第1表面と前記第2表面間の前記第1薄肉部の表面にわたって積層される第1めっき層と、を有し、
前記第2外部電極は、前記第3表面に積層される第3下地導電層と、前記第4表面に積層される第4下地導電層と、前記第3下地導電層と前記第1仮想平面との間及び前記第4下地導電層と前記第2仮想平面との間、並びに前記第3表面と前記第4表面間の前記第2薄肉部の表面にわたって積層される第2めっき層と、を有する、チップ状電子部品。
続きを表示(約 2,500 文字)
【請求項2】
前記第1めっき層は、前記第1仮想平面と略同一平面を成す第1めっき層表面及び前記第2仮想平面と略同一面を成す第2めっき層表面を有し、
前記第2めっき層は、前記第1仮想平面と略同一平面を成す第3めっき層表面及び前記第2仮想平面と略同一平面を成す第4めっき層表面を有する、請求項1に記載のチップ状電子部品。
【請求項3】
複数のセラミックグリーンシートを積層し、第1外部電極を形成するための第1薄肉部及び第2外部電極を形成するための第2薄肉部、並びに第1薄肉部、及び第2薄肉部上に配置された下地導電層、を有する母積層体を得る工程と、
前記母積層体を切断して個片化した複数の素体前駆体を得る工程と、
前記複数の素体前駆体を焼成する工程と、
焼成後の前記複数の素体前駆体の第1薄肉部及び第2薄肉部に、前記下地導電層の表面上に位置するめっき層を形成して、前記第1外部電極及び前記第2外部電極を得る工程と、を含むチップ状電子部品の製造方法。
【請求項4】
前記母積層体を得る工程は、
支持シート上の前記第1外部電極を形成するための領域に、第1焼成ダミー部材を印刷する工程と、
前記第1焼成ダミー部材上に第1導電性ペーストを印刷する工程と、
前記支持シート上の前記第2外部電極を形成するための領域に、第2焼成ダミー部材を印刷する工程と、
前記第2焼成ダミー部材上に第2導電性ペーストを印刷する工程と、
前記第1外部電極及び前記第2外部電極が形成されない領域に、誘電体ペーストを印刷する工程と、
前記誘電体ペーストが印刷された母積層体に、前記セラミックグリーンシートを積層する工程と、を含む、請求項3に記載のチップ状電子部品の製造方法。
【請求項5】
前記第1焼成ダミー部材及び前記第2焼成ダミー部材は、ジルコニア粉末を主材としたペーストである、請求項4に記載のチップ状電子部品の製造方法。
【請求項6】
前記第1焼成ダミー部材及び前記第2焼成ダミー部材は、樹脂ペーストである、請求項4に記載のチップ状電子部品の製造方法。
【請求項7】
請求項2に記載のチップ状電子部品、前記チップ状電子部品を実装するための基板、及び前記チップ状電子部品を吸着するための吸着ノズル、を準備する工程と、
前記チップ状電子部品の前記第5面、前記第1めっき層表面、及び前記第2めっき層表面を、前記吸着ノズルによって吸着して前記基板の実装面上へ搬送する工程と、
前記基板の前記実装面上に搬送したチップ状電子部品を前記実装面に実装する工程と、を含むチップ状電子部品の実装方法。
【請求項8】
互いに垂直に隣接する第1面及び第2面と、前記第1面に平行な第1仮想平面に関して前記第1面及び前記第2面に対称に位置する第3面及び第4面と、前記第2面及び前記第4面に平行な第2仮想平面に関して前記第1面及び前記第2面に対称に位置する第5面及び第6面と、前記第2仮想平面に関して前記第3面及び前記第4面に対称に位置し、かつ前記第1仮想平面に関して前記第5面及び前記第6面に対称に位置する第7面及び第8面と、前記第1面~前記第8面に垂直に連なり、互いに対向する第9面及び第10面と、を有する基部と、
前記基部の前記第1面及び前記第2面から突出する第1薄肉部と、
前記基部の前記第3面及び前記第4面から突出する第2薄肉部と、
前記基部の前記第5面及び前記第6面から突出する第3薄肉部と、
前記基部の前記第7面及び前記第8面から突出する第4薄肉部と、
前記第1薄肉部を覆う第1外部電極と、
前記第2薄肉部を覆う第2外部電極と、
前記第3薄肉部を覆う第3外部電極と、
前記第4薄肉部を覆う第4外部電極と、を含み、
前記第1外部電極、前記第2外部電極、前記第3外部電極、及び前記第4外部電極のそれぞれは、前記第9面を含む第3仮想平面及び前記第10面を含む第4仮想平面間にわたって形成され、
前記第1薄肉部、前記第2薄肉部、前記第3薄肉部、及び前記第4薄肉部のそれぞれは、前記第3仮想平面に臨む第1表面及び前記第4仮想平面に臨む第2表面を有し、
前記第1外部電極、前記第2外部電極、前記第3外部電極、前記第4外部電極のそれぞれは、前記第1表面及び前記第2表面のそれぞれに積層される下地導電層と、前記下地導電層と前記第3仮想平面との間及び前記下地導電層と前記第4仮想平面との間、並びに前記第1表面と前記第2表面間の前記第1薄肉部の表面、前記第1表面と前記第2表面間の前記第2薄肉部、前記第1表面と前記第2表面間の前記第3薄肉部の表面、及び前記第1表面と前記第2表面間の前記第4薄肉部の表面にわたって積層されるめっき層と、を有する、チップ状電子部品。
【請求項9】
前記めっき層は、前記第3仮想平面と略同一平面を成す第1めっき層表面及び前記第4仮想平面と略同一面を成す第2めっき層表面を有する、請求項8に記載のチップ状電子部品。
【請求項10】
複数のセラミックグリーンシートを積層し、第1外部電極を形成するための第1薄肉部、第2外部電極を形成するための第2薄肉部、第3外部電極を形成するための第3薄肉部、及び第4外部電極を形成するための第4薄肉部、並びに第1薄肉部、第2薄肉部、第3薄肉部、及び第4薄肉部上に配置された下地導電層、を有する母積層体を得る工程と、
前記母積層体を切断して個片化した複数の素体前駆体を得る工程と、
前記複数の素体前駆体を焼成する工程と、
焼成後の前記複数の素体前駆体それぞれの前記第1薄肉部、前記第2薄肉部、前記第3薄肉部、及び前記第4薄肉部に、前記下地導電層の表面上に位置するめっき層を形成して、前記第1外部電極、前記第2外部電極、前記第3外部電極、及び前記第4外部電極を形成する工程と、を含むチップ状電子部品の製造方法。
(【請求項11】以降は省略されています)
発明の詳細な説明
【技術分野】
【0001】
本開示は、チップ状電子部品、チップ状電子部品の製造方法、及びチップ状電子部品の実装方法に関する。
続きを表示(約 3,100 文字)
【背景技術】
【0002】
従来技術のチップ状電子部品は、例えば特許文献1に記載されている。この従来技術では、電子部品素子の両端もしくは一端に順次導電性ペースト層、金属層を形成してなる外部電極端子を有する電子部品において、実装面と対向する面の外部電極端子厚が実装面の外部電極端子厚より薄くすることによって、電子部品の実装基板への装着の際し、吸着ノズルが外部電極端子と絶縁樹脂層の隙間からのエアー漏れを少なくし、部品実装率を改善できる技術が記載されている。
【先行技術文献】
【特許文献】
【0003】
特開平2-039414号公報
【発明の概要】
【発明が解決しようとする課題】
【0004】
電子部品の小型化に伴い、同時に部品実装時の部品の吸着エラーの対策が必要となる。吸着エラーは、微小径の吸着ノズルを使用する小型電子部品である程、又は外部電極端子間の距離が短くなる程、発生率が高くなるという傾向がある。
【0005】
上記特許文献1の従来技術では、外部電極端子の厚みをより薄くして、チップ状電子部品を吸着する吸着ノズルに外部電極端子が接触し、外部電極端子と電子部品の素子表面との隙間でエア漏れを防いでいるが、その効果は十分ではなく、チップ状電子部品の実装性が低下している。したがって従来から実装性が向上されたチップ状電子部品、チップ状電子部品の製造方法、及びチップ状電子部品の実装方法が求められている。
【課題を解決するための手段】
【0006】
本開示に係るチップ状電子部品は、互いに対向する第1面及び第2面と、前記第1面及び第2面に連なり、互いに対向する第3面及び第4面と、前記第1面及び第2面並びに前記第3面及び第4面に連なり、互いに対向する第5面及び第6面とを有する略直方体状の基部と、前記基部の前記第1面から突出する第1薄肉部と、前記基部の前記第2面から突出する第2薄肉部と、前記第1薄肉部を覆い、前記第5面を含む第1仮想平面及び前記第6面を含む第2仮想平面間にわたって形成された第1外部電極と、前記第2薄肉部を覆い、前記第1仮想平面及び前記第2仮想平面間にわたって形成された第2外部電極と、を含み、前記第1薄肉部は、前記第1仮想平面に臨む第1表面及び前記第2仮想平面に臨む第2表面を有し、前記第2薄肉部は、前記第1仮想平面に臨む第3表面及び前記第2仮想平面に臨む第4表面を有し、前記第1外部電極は、前記第1表面に積層される第1下地導電層と、前記第2表面に積層される第2下地導電層と、前記第1下地導電層と前記第1仮想平面との間及び前記第1下地導電層と前記第2仮想平面との間、並びに前記第1表面と前記第2表面間の前記第1薄肉部の表面にわたって積層される第1めっき層と、を有し、前記第2外部電極は、前記第3表面に積層される第3下地導電層と、前記第4表面に積層される第4下地導電層と、前記第3下地導電層と前記第1仮想平面との間及び前記第4下地導電層と前記第2仮想平面との間、並びに前記第3表面と前記第4表面間の前記第2薄肉部の表面にわたって積層される第2めっき層と、を有する。
【0007】
本開示に係るチップ状電子部品の製造方法は、複数のセラミックグリーンシートを積層し、第1外部電極を形成するための第1薄肉部及び第2外部電極を形成するための第2薄肉部、並びに第1薄肉部、及び第2薄肉部上に配置された下地導電層、を有する母積層体を得る工程と、前記母積層体を切断して個片化した複数の素体前駆体を得る工程と、前記複数の素体前駆体を焼成する工程と、焼成後の前記複数の素体前駆体の第1薄肉部及び第2薄肉部に、前記下地導電層の表面上に位置するめっき層を形成して、前記第1外部電極及び前記第2外部電極を得る工程と、を含む。
【0008】
本開示に係るチップ状電子部品の実装方法は、上記のチップ状電子部品、前記チップ状電子部品を実装するための基板、及び前記チップ状電子部品を吸着するための吸着ノズル、を準備する工程と、前記チップ状電子部品の前記第5主面、前記第1めっき層表面、及び前記第2めっき層表面を、前記吸着ノズルによって吸着して前記基板の実装面上へ搬送する工程と、前記基板の前記実装面上に搬送したチップ状電子部品を前記実装面に実装する工程とを、を含む。
【0009】
本開示に係るチップ状電子部品は、互いに垂直に隣接する第1面及び第2面と、前記第1面に平行な第1仮想平面に関して前記第1面及び前記第2面に対称に位置する第3面及び第4面と、前記第2面及び第4面に平行な第2仮想平面に関して前記第1面及び前記第2面に対称に位置する第5面及び第6面と、前記2仮想平面に関して前記第3面及び前記第4面に対称に位置し、かつ前記第1仮想平面に関して前記第5面及び前記第6面に対称位置する第7面及び第8面と、前記第1面~前記第8面に垂直に連なり、互いに対向する第9面及び第10面と、を有する基部と、前記基部の前記第1面及び前記第2面から突出する第1薄肉部と、前記基部の前記第3面及び前記第4面から突出する第2薄肉部と、前記基部の前記第5面及び前記第6面から突出する第3薄肉部と、前記基部の前記第7面及び前記第8面から突出する第4薄肉部と、前記第1薄肉部を覆う第1外部電極と、前記第2薄肉部を覆う第2外部電極と、前記第3薄肉部を覆う第3外部電極と、前記第4薄肉部を覆う第4外部電極と、を含み、前記第1外部電極、前記第2外部電極、前記第3外部電極、及び前記第4外部電極のそれぞれは、前記第9面を含む第3仮想平面及び前記第10面を含む第4仮想平面間にわたって形成され、前記第1薄肉部、前記第2薄肉部、前記第3薄肉部、及び前記第4薄肉部のそれぞれは、前記第3仮想平面に臨む第1表面及び前記第4仮想平面に臨む第2表面を有し、前記第1外部電極、前記第2外部電極、前記第3外部電極、前記第4外部電極のそれぞれは、前記第1表面及び前記第2表面のそれぞれに積層される下地導電層と、前記下地導電層と前記第3仮想平面との間及び前記下地導電層と前記第4仮想平面との間、並びに前記第1表面と前記第2表面間の前記第1薄肉部の表面、前記第1表面と前記第2表面間の前記第2薄肉部、前記第1表面と前記第2表面間の前記第3薄肉部の表面、及び前記第1表面と前記第2表面間の前記第4薄肉部の表面にわたって積層されるめっき層と、を有する。
【0010】
本開示に係る他のチップ状電子部品の製造方法は、複数のセラミックグリーンシートを積層し、第1外部電極を形成するための第1薄肉部、第2外部電極を形成するための第2薄肉部、第3外部電極を形成するための第3薄肉部、及び第4外部電極を形成するための第4薄肉部、並びに第1薄肉部、第2薄肉部、第3薄肉部、及び第4薄肉部上に配置された下地導電層、を有する母積層体を得る工程と、前記母積層体を切断して個片化した複数の素体前駆体を得る工程と、前記複数の素体前駆体を焼成する工程と、焼成後の前記複数の素体前駆体の第1薄肉部、第2薄肉部、第3薄肉部、及び第4薄肉部に、前記下地導電層の表面上に位置するめっき層を形成して、前記第1外部電極、前記第2外部電極、前記第3外部電極、及び前記第4外部電極を得る工程と、を含む。
(【0011】以降は省略されています)
この特許をJ-PlatPat(特許庁公式サイト)で参照する
関連特許
京セラ株式会社
光学系
20日前
京セラ株式会社
配線基板
26日前
京セラ株式会社
蓄電装置
1か月前
京セラ株式会社
配線基板
26日前
京セラ株式会社
弾性波装置
1か月前
京セラ株式会社
粒子分離装置
1か月前
京セラ株式会社
センサシステム
1か月前
京セラ株式会社
静圧気体軸受装置
1か月前
京セラ株式会社
光センサモジュール
7日前
京セラ株式会社
光センサモジュール
7日前
京セラ株式会社
配線基板及び電子装置
1か月前
京セラ株式会社
走査装置及び制御装置
1か月前
京セラ株式会社
コネクタ及び取付方法
1か月前
京セラ株式会社
配線基板及び電子装置
1か月前
京セラ株式会社
予測装置及び予測方法
15日前
京セラ株式会社
走査装置及び制御装置
1か月前
京セラ株式会社
印刷装置及び印刷方法
12日前
京セラ株式会社
積層セラミック電子部品
13日前
京セラ株式会社
流路デバイスの準備方法
1か月前
京セラ株式会社
太陽電池付きカーポート
1か月前
京セラ株式会社
太陽電池付きカーポート
1か月前
京セラ株式会社
発光装置および照明装置
1か月前
京セラ株式会社
取付部材及びヘッド取付方法
1か月前
京セラ株式会社
電磁波検出装置及び制御装置
26日前
京セラ株式会社
受電装置及び光給電システム
1か月前
京セラ株式会社
配線基板及びLEDモジュール
12日前
京セラ株式会社
端子、端子部材および電気機器
5日前
京セラ株式会社
端子、端子部材および電気機器
7日前
京セラ株式会社
光集積回路及び光トランシーバ
26日前
京セラ株式会社
フィルタデバイスおよび通信装置
1か月前
京セラ株式会社
電子デバイス及び電子モジュール
12日前
京セラ株式会社
光センサおよび光センサの製造方法
1か月前
京セラ株式会社
分析システム、分析装置、及び分析方法
12日前
京セラ株式会社
揺動装置、電磁波照射装置、及び制御装置
1か月前
京セラ株式会社
光センサおよびこれを備えた画像形成装置
7日前
京セラ株式会社
光通信装置、光通信システム及び光照射素子
1か月前
続きを見る
他の特許を見る