TOP
|
特許
|
意匠
|
商標
特許ウォッチ
Twitter
他の特許を見る
10個以上の画像は省略されています。
公開番号
2025149682
公報種別
公開特許公報(A)
公開日
2025-10-08
出願番号
2024050479
出願日
2024-03-26
発明の名称
コネクタ及び取付方法
出願人
京セラ株式会社
代理人
個人
,
個人
,
個人
,
個人
主分類
H01R
4/2433 20180101AFI20251001BHJP(基本的電気素子)
要約
【課題】対象物の端部の保護機能及びコンタクトとの接触信頼性が向上するコネクタを提供する。
【解決手段】第1対象物60aと第2対象物60bとを互いに導通させるコネクタ10は、互いに嵌合可能な第1嵌合物20及び第2嵌合物30と、第1嵌合物20に配置されているコンタクト40と、第1嵌合物20及び第2嵌合物30の少なくとも一方に充填され、コンタクト40の周囲を囲む充填剤50と、を備え、第1嵌合物20は、第1対象物60a及び第2対象物60bを含む対象物60の各々の端部の周囲全体を囲いながら端部全体を内部に収容している収容部25を有し、収容部25は、対象物60の延伸方向と異なる第1方向に沿って配置されている内部空間を含み、コンタクト40と充填剤50との間に配置されている。
【選択図】図12
特許請求の範囲
【請求項1】
第1対象物と第2対象物とを互いに導通させるコネクタであって、
互いに嵌合可能な第1嵌合物及び第2嵌合物と、
前記第1嵌合物に配置されているコンタクトと、
前記第1嵌合物及び前記第2嵌合物の少なくとも一方に充填され、前記コンタクトの周囲を囲む充填剤と、
を備え、
前記第1嵌合物は、前記第1対象物及び前記第2対象物を含む対象物の各々の端部の周囲全体を囲いながら前記端部全体を内部に収容している収容部を有し、
前記収容部は、前記対象物の延伸方向と異なる第1方向に沿って配置されている内部空間を含み、前記コンタクトと前記充填剤との間に配置されている、
コネクタ。
続きを表示(約 1,300 文字)
【請求項2】
請求項1に記載のコネクタであって、
前記収容部は、前記第1方向に凹設されている凹部であって、前記対象物の終端面を対向させながら前記凹部の開口から底面に向けて前記第1方向に沿って前記対象物を受け入れる前記凹部である、
コネクタ。
【請求項3】
請求項1又は2に記載のコネクタであって、
前記第1嵌合物は、前記収容部と反対側の端部に配置され、前記収容部から屈曲して延出した前記対象物の一部を仮保持する仮保持部をさらに有する、
コネクタ。
【請求項4】
請求項1又は2に記載のコネクタであって、
前記コンタクトは、前記延伸方向及び前記第1方向に直交する第2方向に沿って複数配列され、
前記収容部は、複数の前記コンタクトに対し前記第2方向に沿って連続して配置されている、
コネクタ。
【請求項5】
請求項1又は2に記載のコネクタであって、
前記コンタクトは、前記第1対象物及び前記第2対象物と前記第1嵌合物において前記第1方向の両側で接続され、
前記収容部は、前記第1対象物に対して配置されている第1収容部と、前記第2対象物に対して配置されている第2収容部と、を含み、
前記第1収容部と前記第2収容部とは、前記延伸方向において互いに反対側に配置され、前記第1方向において互いに反対側から配置されている、
コネクタ。
【請求項6】
請求項1又は2に記載のコネクタであって、
前記充填剤は、前記第1嵌合物に充填されている第1充填剤と、前記第2嵌合物に充填されている第2充填剤と、を含み、
前記第1充填剤及び前記第2充填剤は、前記第1嵌合物及び前記第2嵌合物が互いに嵌合する嵌合状態において、前記第1方向に沿って前記対象物を挟む、
コネクタ。
【請求項7】
請求項1又は2に記載のコネクタであって、
前記第1方向は、前記延伸方向と直交する、
コネクタ。
【請求項8】
互いに嵌合可能な第1嵌合物及び第2嵌合物の少なくとも一方に充填された充填剤と、前記第1嵌合物に配置されたコンタクトと、を有し、前記コンタクト及び収容部の周囲を前記充填剤によって囲むコネクタであって、第1対象物と第2対象物とを互いに導通させる前記コネクタを前記第1対象物及び前記第2対象物を含む対象物に取り付ける取付方法であって、
前記対象物の延伸方向と異なる第1方向に沿って配置されている内部空間を含む、前記第1嵌合物の前記収容部に、前記対象物の各々の端部を挿入して、前記端部の周囲全体を前記収容部が囲いながら前記端部全体を前記収容部の内部に収容するステップと、
前記第1嵌合物と前記第2嵌合物とを互いに嵌合させるステップと、
を含む、
取付方法。
【請求項9】
請求項8に記載の取付方法であって、
前記収容するステップに続くステップであって、前記第1嵌合物において前記収容部と反対側の端部に配置されている仮保持部によって、前記収容部から屈曲して延出した前記対象物の一部を仮保持するステップをさらに含む、
取付方法。
発明の詳細な説明
【技術分野】
【0001】
本開示は、コネクタ及び取付方法に関する。
続きを表示(約 2,000 文字)
【背景技術】
【0002】
従来、互いに嵌合した一対の嵌合物が複数の対象物を保持し、各対象物が嵌合物の内部でコンタクトを介して互いに電気的に接続するコネクタが知られている。このようなコネクタにおいて、嵌合物が嵌合した際に、対象物とコンタクトとの接続部に水及び塵埃などの外部の異物が侵入しないよう接続部を保護する技術が知られている。
【0003】
例えば、特許文献1には、対象物の端部の保護処理を良好な作業性により実現して、保護に対する長期信頼性を向上できるコネクタ及び取付方法が開示されている。
【先行技術文献】
【特許文献】
【0004】
特開2019-114416号公報
【発明の概要】
【発明が解決しようとする課題】
【0005】
特許文献1に記載のコネクタでは、対象物の端部が嵌合物内に収容されて、当該端部に対し防水処理などの保護処理が施される。当該コネクタでは、対象物の端部を収容する収容部は、コンタクトの周囲を囲む充填剤の外側に配置され、当該充填剤によって囲まれていなかった。
【0006】
本開示の目的は、対象物の端部の保護機能及びコンタクトとの接触信頼性が向上するコネクタ及び取付方法を提供することにある。
【課題を解決するための手段】
【0007】
本開示の一実施形態に係るコネクタは、
第1対象物と第2対象物とを互いに導通させるコネクタであって、
互いに嵌合可能な第1嵌合物及び第2嵌合物と、
前記第1嵌合物に配置されているコンタクトと、
前記第1嵌合物及び前記第2嵌合物の少なくとも一方に充填され、前記コンタクトの周囲を囲む充填剤と、
を備え、
前記第1嵌合物は、前記第1対象物及び前記第2対象物を含む対象物の各々の端部の周囲全体を囲いながら前記端部全体を内部に収容している収容部を有し、
前記収容部は、前記対象物の延伸方向と異なる第1方向に沿って配置されている内部空間を含み、前記コンタクトと前記充填剤との間に配置されている。
【0008】
本開示の一実施形態に係る取付方法は、
互いに嵌合可能な第1嵌合物及び第2嵌合物の少なくとも一方に充填された充填剤と、前記第1嵌合物に配置されたコンタクトと、を有し、前記コンタクト及び収容部の周囲を前記充填剤によって囲むコネクタであって、第1対象物と第2対象物とを互いに導通させる前記コネクタを前記第1対象物及び前記第2対象物を含む対象物に取り付ける取付方法であって、
前記対象物の延伸方向と異なる第1方向に沿って配置されている内部空間を含む、前記第1嵌合物の前記収容部に、前記対象物の各々の端部を挿入して、前記端部の周囲全体を前記収容部が囲いながら前記端部全体を前記収容部の内部に収容するステップと、
前記第1嵌合物と前記第2嵌合物とを互いに嵌合させるステップと、
を含む。
【発明の効果】
【0009】
本開示の一実施形態に係るコネクタ及び取付方法によれば、対象物の端部の保護機能及びコンタクトとの接触信頼性が向上する。
【図面の簡単な説明】
【0010】
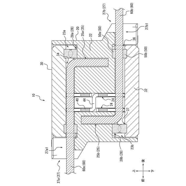
対象物に取り付けられた一実施形態に係るコネクタの外観斜視図である。
展開状態で対象物を仮保持する図1のコネクタの外観斜視図である。
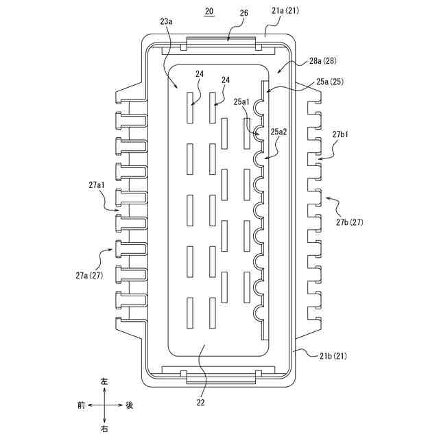
図2の第1ハウジングを中心に上面側から見たときの上面図である。
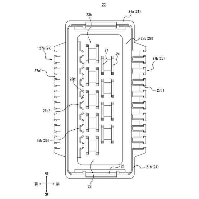
図2の第1ハウジングを中心に下面側から見たときの下面図である。
コネクタの第1ハウジングを中心に構成を上面視で示した斜視図である。
図5の第1ハウジング単体の上面図である。
図5の第1ハウジング単体の下面図である。
図2の上側に配置されている第2ハウジングを中心に構成を示した下面図である。
図8の第2ハウジング単体の下面図である。
一対のコンタクトを上面視で示した斜視図である。
コネクタを対象物に取り付ける取付方法のステップを示した第1模式図である。
コネクタを対象物に取り付ける取付方法のステップを示した第2模式図である。
コネクタを対象物に取り付ける取付方法のステップを示した第3模式図である。
図11Cにおいて対象物がコネクタによって仮保持されている様子を示した拡大斜視図である。
対象物がコネクタによって仮保持されている様子を示した斜視図である。
図1のXII-XII矢線に沿う断面図である。
図1のXIII-XIII矢線に沿う断面図である。
【発明を実施するための形態】
(【0011】以降は省略されています)
この特許をJ-PlatPat(特許庁公式サイト)で参照する
関連特許
京セラ株式会社
光学系
10日前
京セラ株式会社
配線基板
16日前
京セラ株式会社
蓄電装置
1か月前
京セラ株式会社
配線基板
16日前
京セラ株式会社
弾性波装置
1か月前
京セラ株式会社
粒子分離装置
1か月前
京セラ株式会社
センサシステム
1か月前
京セラ株式会社
静圧気体軸受装置
1か月前
京セラ株式会社
太陽電池モジュール
1か月前
京セラ株式会社
走査装置及び制御装置
1か月前
京セラ株式会社
予測装置及び予測方法
5日前
京セラ株式会社
コネクタ及び取付方法
1か月前
京セラ株式会社
印刷装置及び印刷方法
2日前
京セラ株式会社
配線基板及び電子装置
1か月前
京セラ株式会社
配線基板及び電子装置
1か月前
京セラ株式会社
走査装置及び制御装置
1か月前
京セラ株式会社
太陽電池付きカーポート
1か月前
京セラ株式会社
流路デバイスの準備方法
1か月前
京セラ株式会社
太陽電池付きカーポート
1か月前
京セラ株式会社
発光装置および照明装置
1か月前
京セラ株式会社
積層セラミック電子部品
3日前
京セラ株式会社
受電装置及び光給電システム
1か月前
京セラ株式会社
取付部材及びヘッド取付方法
1か月前
京セラ株式会社
電磁波検出装置及び制御装置
16日前
京セラ株式会社
光集積回路及び光トランシーバ
16日前
京セラ株式会社
配線基板及びLEDモジュール
2日前
京セラ株式会社
フィルタデバイスおよび通信装置
1か月前
京セラ株式会社
電子デバイス及び電子モジュール
2日前
京セラ株式会社
光センサおよび光センサの製造方法
26日前
京セラ株式会社
分析システム、分析装置、及び分析方法
2日前
京セラ株式会社
揺動装置、電磁波照射装置、及び制御装置
1か月前
京セラ株式会社
光通信装置、光通信システム及び光照射素子
1か月前
京セラ株式会社
ホルダ、切削工具、及び切削加工物の製造方法
1か月前
京セラ株式会社
ノード、方法、プログラム及び分散台帳システム
1か月前
京セラ株式会社
電子機器、制御方法、プログラム、及びシステム
5日前
京セラ株式会社
VMD支援システム、サーバ装置、及び通信方法
2日前
続きを見る
他の特許を見る