TOP
|
特許
|
意匠
|
商標
特許ウォッチ
Twitter
他の特許を見る
公開番号
2025172746
公報種別
公開特許公報(A)
公開日
2025-11-26
出願番号
2025127741,2022543727
出願日
2025-07-30,2021-01-20
発明の名称
高活性固体ローディングを有する半固体電極、及びそれを含む電気化学セルを形成するための装置及びプロセス
出願人
24エム・テクノロジーズ・インコーポレイテッド
,
24M Technologies, Inc.
,
京セラ株式会社
代理人
個人
,
個人
,
個人
,
個人
主分類
H01M
4/04 20060101AFI20251118BHJP(基本的電気素子)
要約
【課題】高密度化半固体電極を形成する方法を提供する。
【解決手段】方法は、活性物質及び導電材料を液体電解質と混合することによって半固体電極材料を形成することと、前記半固体電極材料を集電体上に配置することと、前記液体電解質の一部を抽出し、及び前記高密度化半固体電極を形成するために前記半固体電極材料を圧縮することと、を含み、前記高密度化半固体電極が、体積で約60%~約85%の活性物質を含む。
【選択図】図2A-2E
特許請求の範囲
【請求項1】
高密度化半固体電極を形成する方法であって、前記方法が、
活性物質及び導電材料を液体電解質と混合することによって半固体電極材料を形成することと、
前記半固体電極材料を集電体上に配置することと、
前記半固体電極材料の露出面上に半透膜を配置することと、
前記液体電解質の一部を抽出し、及び前記高密度化半固体電極を形成するために、前記集電体と前記半透膜との間の前記半固体電極材料を圧縮することと、
を含み、
前記高密度化半固体電極が、体積で約60%~約85%の活性物質を含む、方法。
続きを表示(約 880 文字)
【請求項2】
前記半透膜が、圧縮中に抽出された前記液体電解質の前記一部を吸収するように構成される、請求項1に記載の方法。
【請求項3】
前記半透膜の露出面上に吸収材料を配置することをさらに含み、前記吸収材料が、圧縮中に抽出された前記液体電解質の前記一部を吸収するように構成される、請求項1に記載の方法。
【請求項4】
前記半固体電極材料を機械的に圧縮することが、ダイとベースとの間の前記半固体材料を圧縮することを含む、請求項1に記載の方法。
【請求項5】
前記圧縮された半固体電極材料が、約70wt%を超える前記活性物質を含む、請求項1に記載の方法。
【請求項6】
混合後の前記半固体電極材料が、前記液体電解質が前記半固体電極材料の約50wt%~約80wt%である第1の組成を有し、
圧縮後の前記半固体電極材料が、前記液体電解質が前記半固体電極材料の約10wt%~約45wt%である第2の組成を有する、請求項1に記載の方法。
【請求項7】
混合後の前記半固体電極材料が、約10:1~約1:1の活性物質に対する液体電解質の第1の比率を有し、
圧縮後の前記半固体電極材料が、約5:1~約1:3の活性物質に対する液体電解質の第2の比率を有する、請求項1に記載の方法。
【請求項8】
混合後の前記半固体電極材料が、約5M~約15Mの第1の活性物質モル濃度を有し、
圧縮後の前記半固体電極材料が、約16M~約24Mの第2の活性物質モル濃度を有する、請求項1に記載の方法。
【請求項9】
混合後の前記半固体電極材料が、約3mAh/g~約5mAh/gの第1のエネルギー密度を有し、
圧縮後の前記半固体電極材料が、約6mAh/g~約14mAh/gの第2のエネルギー密度を有する、請求項1に記載の方法。
【請求項10】
前記導電材料が導電粒子を含む、請求項1に記載の方法。
(【請求項11】以降は省略されています)
発明の詳細な説明
【技術分野】
【0001】
関連出願の相互参照
[0001] 本出願は、「高活性固体ローディングを有する半固体電極、及びそれを含む電気化学セルを形成するための装置及びプロセス(APPARATUSES AND PROCESSES FOR FORMING A SEMI-SOLID ELECTRODE HAVING HIGH ACTIVE SOLIDS LOADING AND ELECTROCHEMICAL CELLS INCLUDING THE SAME)」という名称の、2020年1月21日に出願された米国仮特許出願第62/963,908号の優先権及び便益を主張するものであり、この特許出願の開示内容は、全体として本明細書によって援用される。
続きを表示(約 3,400 文字)
【背景技術】
【0002】
[0002] 半固体電極は、時に、電極材料が集電体に塗布された後にカレンダリングされることが多い従来の電極よりも低いエネルギー密度を有し得る。その結果、従来の電極に比べて、伝導率の向上、及び電極材料内のイオン閉じ込めのリスクの低下を有し得る半固体電極は、同じ容量を実現するためにより厚く作られることが多い。
【発明の概要】
【0003】
[0003] 本明細書に記載される実施形態は、一般に、余剰の電解質を除去することによって、活性固体ローディングを増加させた半固体電極を形成するための装置及びプロセスに関する。幾つかの実施形態では、半固体電極材料を第1の組成から第2の組成へと変換する方法は、半固体電極材料からの電解質の一部の除去を含む。幾つかの実施形態では、半固体電極材料は、集電体上に配置することができ、それによって中間電極が形成される。幾つかの実施形態では、本方法は、中間電極を機械的に圧縮することによって、半固体電極材料から電解質の一部を除去することをさらに含む。幾つかの実施形態では、本方法は、機械プレスのダイとベースとの間に中間電極を配置することと、圧縮力が中間電極に与えられるまで、ダイをベースに向けて移動させることと、を含み得る。幾つかの実施形態では、吸収材料は、中間電極から除去された電解質の一部を吸収するために、機械プレス内に、例えば、ダイ及びベースの少なくとも一方との間に配置されてもよい。幾つかの実施形態では、中間電極から電解質の一部を除去することにより、前述の半固体電極材料及びそれから構成される電極よりも高い活性固体ローディングを有する完成電極が形成される。
【0004】
[0004] 幾つかの実施形態では、半固体電極材料は、液体電解質中で活性物質及び任意選択的に導電材料を混合して、固相及び液相の混合物を含む電極材料を形成することによって、形成することができる。幾つかの実施形態では、半固体電極材料が集電体上に配置されることによって、中間電極を形成することができる。幾つかの実施形態では、中間電極は、活性物質に対する電解質の比率が約10:1~約1:1である第1の組成を有する半固体電極材料を含み得る。幾つかの実施形態では、中間電極が機械的に圧縮されることによって、活性物質に対する電解質の比率が約5:1~約1:3である第2の組成を有する半固体電極材料を含む完成電極を形成することができる。
【図面の簡単な説明】
【0005】
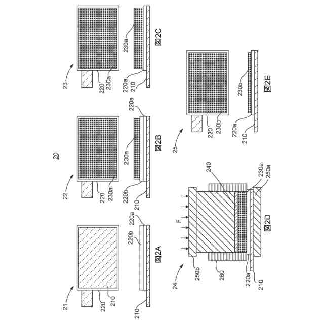
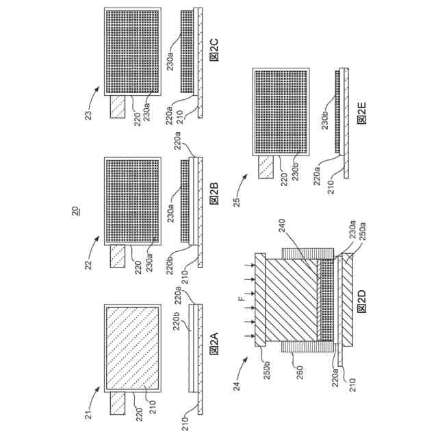
[0005]ある実施形態による、半固体電極を製造する方法を示す。
[0006]ある実施形態による、半固体電極を製造する方法を示す。
[0007]ある実施形態による、半固体電極を製造する方法を示す。
[0008]ある実施形態による、半固体電極を製造する方法を示す。
[0008]ある実施形態による、半固体電極を製造する方法を示す。
[0009]ある実施形態による、半固体電極のさらなる使用の方法を示す。
【発明を実施するための形態】
【0006】
[0010] 本明細書に記載される実施形態は、一般に、高活性固体ローディング量を有する半固体電極材料を形成する方法、及びそれを含む電気化学セルを形成する方法に関する。幾つかの実施形態では、半固体電極は、液体電解質中の活性物質及び導電材料の半固体電極材料を機械的に圧縮することによって形成することができる。幾つかの実施形態では、活性物質は、活性物質の粒子を含み得る。幾つかの実施形態では、活性粒子は、コーティング層を実質的に全く含まない場合がある。幾つかの実施形態では、導電材料は、導電材料の粒子を含み得る。幾つかの実施形態では、導電材料は、導電繊維を含まない、又は実質的に含まない場合がある。幾つかの実施形態では、半固体電極の製造中に半固体電極材料が流動性を有するように、半固体電極材料は、第1の体積の液体電解質を含み得る。幾つかの実施形態では、半固体電極材料は、液体電解質の一部を抽出し、及び第1の体積の液体電解質よりも少ない第2の体積の液体電解質を有する半固体電極材料を形成するために、機械的に圧縮され得る。幾つかの実施形態では、機械的圧縮は、ダイとベースとの間の半固体電極材料を圧縮することを含む。幾つかの実施形態では、液体電解質の一部が、活性物質又は導電材料を全く除去することなく抽出され得るように、半透膜が、半固体電極材料と、ベース及びダイの少なくとも一方との間に配置されてもよい。幾つかの実施形態では、半固体電極材料から液体電解質の一部を除去することにより、より高い活性固体含有量(例えば、約70wt%を超える活性物質)を有する半固体電極材料が形成され得る。
【0007】
[0011] 従来の電極材料は、一般的に、金属基板(例えば、集電体)を活性物質、導電性添加剤、及び溶媒又は水に溶解又は分散された結合剤から構成される電極スラリーでコーティングすることと、溶媒又は水を蒸発させることと、乾燥固体マトリクスを指定の厚さにカレンダリングすることとによって製造される。次に、電極は、切断され、他のコンポーネントと共にパッケージングされ、電解質を浸透させた後、パッケージ全体が封止される。このような方法は、一般に、電極の鋳造などの複雑及び高価な製造ステップを伴う。電極を製造するためのこれらの方法により、容量が低く、エネルギー密度が低く、及び活性物質に対する不活性成分の比率が高い電池がもたらされる。さらに、既知の電極製法で使用されるバインダは、ねじれを増加させ、及び電極のイオン伝導率を減少させ得る。幾つかの実施形態では、本明細書に記載する電極は、バインダを含まない、又は実質的に含まない場合がある。
【0008】
[0012] 電解質は、従来の電極材料をカレンダリングした後に注入されるため、それは、一般的に、電気化学セルの形成後に電解質を注入するためには、かなりの努力を必要とする。カレンダリングされた電極材料に液体電解質を注入するための従来の方法は、液体電解質を電極材料内に十分に浸透させるために、高圧又は長い注入時間の使用を含む。その結果、従来の電極は、一般的に、カレンダリングされた電極材料への電解質の注入を促進するために、たった約20%の間隙率にまでカレンダリングされる。したがって、完成した電極のエネルギー密度と、電極材料の高密度化の度合いとの間のトレードオフが存在する。つまり、カレンダリング後の従来の電極材料は、一般的により密度が高いため、液体電解質を浸透させることがより難しい可能性がある。したがって、従来の電極材料は、多くの場合、注入後に電解質で完全にはぬらされず、これは、実現されるエネルギー密度が、理論上のエネルギー密度よりも実質的に低くなり得ることを意味する。
【0009】
[0013] 半固体電極及びそれから形成された電池は、多くの場合、より厚い従来の電極の伝導率問題を経験することなく、より厚く(より高い容量を有する)作られ得る。しかしながら、半固体電極のエネルギー密度は、部分的には、従来の電極が、一般的にカレンダリングされ、及びスラリー溶媒が乾燥ステップ中に除去されるため、従来の電極よりも低くなり得る。半固体電極は、一般的に、これらの電極が液体電解質中の活性材料及び任意選択的に導電材料のスラリーから形成され、その場合、乾燥又はカレンダリングステップが電極から電解質のすべて、又は実質的にすべてを除去してしまうため、乾燥されず、又はカレンダリングされない。したがって、より高い活性固体ローディングを有する半固体電極及びそれから形成される電気化学セルに対する継続的ニーズが存在する。
【0010】
[0014] 本明細書に記載される通り、幾つかの実施形態では、半固体電極は、最初に、活性物質、任意選択的な導電材料、及び液体電解質を半固体電極材料へとスラリーにすることによって準備される。半固体電極材料は、活性物質と接触した液体電解質を既に含有するため、完成電極の実現エネルギー密度は、理論上のエネルギー密度に実質的に類似し得る。
(【0011】以降は省略されています)
この特許をJ-PlatPat(特許庁公式サイト)で参照する
関連特許
東ソー株式会社
絶縁電線
1か月前
APB株式会社
蓄電セル
1か月前
個人
フレキシブル電気化学素子
1か月前
マクセル株式会社
電源装置
29日前
株式会社ユーシン
操作装置
1か月前
ローム株式会社
半導体装置
1か月前
株式会社東芝
端子台
29日前
日新イオン機器株式会社
イオン源
1か月前
株式会社GSユアサ
蓄電設備
1か月前
太陽誘電株式会社
コイル部品
1か月前
株式会社GSユアサ
蓄電設備
1か月前
富士電機株式会社
電磁接触器
8日前
株式会社GSユアサ
蓄電装置
1か月前
株式会社ホロン
冷陰極電子源
1か月前
株式会社GSユアサ
蓄電装置
1か月前
株式会社GSユアサ
蓄電装置
8日前
株式会社GSユアサ
蓄電装置
22日前
三菱電機株式会社
回路遮断器
16日前
サクサ株式会社
電池の固定構造
1か月前
日新イオン機器株式会社
基板処理装置
1か月前
ホシデン株式会社
複合コネクタ
2日前
トヨタ自動車株式会社
冷却構造
1か月前
トヨタ自動車株式会社
蓄電装置
1か月前
日本特殊陶業株式会社
保持装置
1か月前
トヨタ自動車株式会社
蓄電装置
1か月前
北道電設株式会社
配電具カバー
1か月前
日本特殊陶業株式会社
保持装置
21日前
トヨタ自動車株式会社
バッテリ
1か月前
株式会社デンソー
電子装置
1か月前
トヨタ自動車株式会社
密閉型電池
1か月前
トヨタ自動車株式会社
電池パック
1か月前
日亜化学工業株式会社
半導体レーザ素子
1か月前
株式会社トクヤマ
シリコンエッチング液
1か月前
ベストテック株式会社
装置支持具
1か月前
住友電装株式会社
コネクタ
1か月前
ローム株式会社
半導体モジュール
9日前
続きを見る
他の特許を見る