TOP
|
特許
|
意匠
|
商標
特許ウォッチ
Twitter
他の特許を見る
公開番号
2025149534
公報種別
公開特許公報(A)
公開日
2025-10-08
出願番号
2024050246
出願日
2024-03-26
発明の名称
情報処理装置、情報処理システム、及び情報処理方法
出願人
京セラ株式会社
代理人
個人
,
個人
,
個人
,
個人
主分類
G08G
1/16 20060101AFI20251001BHJP(信号)
要約
【課題】歩行者の移動経路の予測精度を向上できる情報処理装置、情報処理システム、及び情報処理方法を提供する。
【解決手段】情報処理装置10は、車両60の周辺を撮影した周辺画像を取得する取得部12と、周辺画像に写っている歩行者30の位置及び速度と、歩行者30の属性及び歩行者30の周辺状況の組み合わせに対応する歩行者30の予測行動とに基づいて、未来の予測時刻における歩行者30の予測位置を決定して出力する処理部14とを備える。
【選択図】図2
特許請求の範囲
【請求項1】
車両の周辺を撮影した周辺画像を取得する取得部と、
前記周辺画像に写っている歩行者の位置及び速度と、前記歩行者の属性及び前記歩行者の周辺状況の組み合わせに対応する前記歩行者の予測行動とに基づいて、未来の予測時刻における前記歩行者の予測位置を決定して出力する処理部と
を備える、情報処理装置。
続きを表示(約 900 文字)
【請求項2】
前記処理部は、前記歩行者の予測位置に基づいて前記歩行者が前記車両の進行方向の前方に進入するかを予測し、予測結果を出力する、請求項1に記載の情報処理装置。
【請求項3】
前記処理部は、前記予測時刻における前記車両の位置を予測し、前記予測時刻における前記車両の位置に更に基づいて前記歩行者が前記車両の進行方向の前方に進入するかを予測する、請求項2に記載の情報処理装置。
【請求項4】
前記処理部は、前記予測時刻として第1予測時刻及び第2予測時刻を設定し、前記第1予測時刻及び前記第2予測時刻のそれぞれにおける前記歩行者の位置に基づいて前記歩行者が前記車両の進行方向の前方に進入するかを予測する、請求項2に記載の情報処理装置。
【請求項5】
前記処理部は、前記第1予測時刻における前記歩行者の位置と前記第2予測時刻における前記歩行者の位置とを結ぶ経路に基づいて前記歩行者が前記車両の進行方向の前方に進入するかを予測する、請求項4に記載の情報処理装置。
【請求項6】
前記処理部は、前記予測時刻における前記歩行者の速度を予測し、前記予測時刻における前記歩行者の速度に更に基づいて前記歩行者が前記車両の進行方向の前方に進入するかを予測する、請求項2に記載の情報処理装置。
【請求項7】
前記処理部は、前記歩行者の移動目標に更に基づいて前記予測位置を決定する、請求項1に記載の情報処理装置。
【請求項8】
前記歩行者の属性は、前記歩行者の性別、年齢、服装、又は携行物の少なくとも1つを含む、請求項1に記載の情報処理装置。
【請求項9】
前記歩行者の周辺状況は、路面状態、路上の物体の存在の有無、他の歩行者の存在の有無、又は天候の少なくとも1つを含む、請求項1に記載の情報処理装置。
【請求項10】
請求項1から9までのいずれか一項に記載の情報処理装置と、前記周辺画像を撮影する撮影装置とを備える、情報処理システム。
(【請求項11】以降は省略されています)
発明の詳細な説明
【技術分野】
【0001】
本開示は、情報処理装置、情報処理システム、及び情報処理方法に関する。
続きを表示(約 1,000 文字)
【背景技術】
【0002】
従来、複数の歩行者の位置及び速度に基づいて、特定歩行者の進路を予測する方法が知られている(特許文献1参照)。
【先行技術文献】
【特許文献】
【0003】
特開2011-70384号公報
【発明の概要】
【発明が解決しようとする課題】
【0004】
歩行者の移動経路の予測精度の向上が求められる。
【0005】
本開示の目的は、歩行者の移動経路の予測精度を向上できる情報処理装置、情報処理システム、及び情報処理方法を提供することにある。
【課題を解決するための手段】
【0006】
本開示の一実施形態に係る情報処理装置は、車両の周辺を撮影した周辺画像を取得する取得部と、処理部とを備える。前記処理部は、前記周辺画像に写っている歩行者の位置及び速度と、前記歩行者の属性及び前記歩行者の周辺状況の組み合わせに対応する前記歩行者の予測行動とに基づいて、未来の予測時刻における前記歩行者の予測位置を決定して出力する。
【0007】
本開示の一実施形態に係る情報処理システムは、前記情報処理装置と、前記周辺画像を撮影する撮影装置とを備える。
【0008】
本開示の一実施形態に係る情報処理方法は、車両の周辺を撮影した周辺画像を取得することと、前記周辺画像に写っている歩行者の位置及び速度と、前記歩行者の属性及び前記歩行者の周辺状況の組み合わせに対応する前記歩行者の予測行動とに基づいて、未来の予測時刻における前記歩行者の予測位置を決定して出力することとを含む。
【発明の効果】
【0009】
本開示の一実施形態に係る情報処理装置、情報処理システム、及び情報処理方法によれば、歩行者の移動経路の予測精度が高められる。
【図面の簡単な説明】
【0010】
本開示に係る情報処理システムの概略構成例を示すブロック図である。
歩行者が水たまりを避けない経路で移動する例を示す図である。
歩行者が水たまりを避ける経路で移動する例を示す図である。
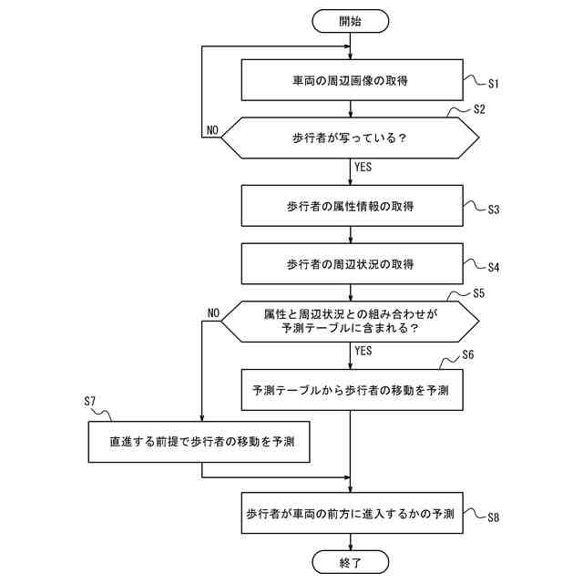
本開示に係る情報処理方法の手順例を示すフローチャートである。
【発明を実施するための形態】
(【0011】以降は省略されています)
この特許をJ-PlatPat(特許庁公式サイト)で参照する
関連特許
京セラ株式会社
光学系
7日前
京セラ株式会社
配線基板
13日前
京セラ株式会社
蓄電装置
28日前
京セラ株式会社
配線基板
13日前
京セラ株式会社
弾性波装置
1か月前
京セラ株式会社
粒子分離装置
28日前
京セラ株式会社
センサシステム
1か月前
京セラ株式会社
静圧気体軸受装置
27日前
京セラ株式会社
太陽電池モジュール
1か月前
京セラ株式会社
コネクタ及び取付方法
29日前
京セラ株式会社
走査装置及び制御装置
27日前
京セラ株式会社
予測装置及び予測方法
2日前
京セラ株式会社
走査装置及び制御装置
27日前
京セラ株式会社
配線基板及び電子装置
1か月前
京セラ株式会社
配線基板及び電子装置
1か月前
京セラ株式会社
積層セラミック電子部品
今日
京セラ株式会社
流路デバイスの準備方法
29日前
京セラ株式会社
太陽電池付きカーポート
27日前
京セラ株式会社
発光装置および照明装置
1か月前
京セラ株式会社
太陽電池付きカーポート
27日前
京セラ株式会社
受電装置及び光給電システム
29日前
京セラ株式会社
電磁波検出装置及び制御装置
13日前
京セラ株式会社
取付部材及びヘッド取付方法
1か月前
京セラ株式会社
液体吐出ヘッドおよび記録装置
1か月前
京セラ株式会社
電源制御装置及び電源制御方法
1か月前
京セラ株式会社
光集積回路及び光トランシーバ
13日前
京セラ株式会社
フィルタデバイスおよび通信装置
1か月前
京セラ株式会社
光センサおよび光センサの製造方法
23日前
京セラ株式会社
揺動装置、電磁波照射装置、及び制御装置
27日前
京セラ株式会社
光通信装置、光通信システム及び光照射素子
1か月前
京セラ株式会社
ホルダ、切削工具、及び切削加工物の製造方法
28日前
京セラ株式会社
多層基板、フィルタモジュール、および通信装置
1か月前
京セラ株式会社
ノード、方法、プログラム及び分散台帳システム
29日前
京セラ株式会社
電子機器、制御方法、プログラム、及びシステム
2日前
京セラ株式会社
電子機器、制御方法、プログラム、及びシステム
2日前
京セラ株式会社
太陽光発電システム及び太陽電池付きカーポート
9日前
続きを見る
他の特許を見る