TOP
|
特許
|
意匠
|
商標
特許ウォッチ
Twitter
他の特許を見る
10個以上の画像は省略されています。
公開番号
2025175374
公報種別
公開特許公報(A)
公開日
2025-12-03
出願番号
2024081433
出願日
2024-05-20
発明の名称
電磁調理器
出願人
象印マホービン株式会社
代理人
個人
,
個人
主分類
H05B
6/12 20060101AFI20251126BHJP(他に分類されない電気技術)
要約
【課題】冷却効率の向上と、液体の進入防止とを両立する。
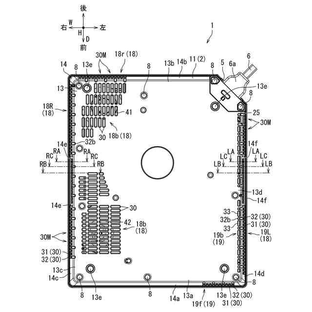
【解決手段】電磁調理器1は、底壁13、底壁13から立設された周壁14、並びに底壁13及び周壁14の内面によって画定される内部空間15を有するケーシング2と、周壁14を貫通し、互いに間隔をあけて並べられる複数のスリット30とを備える。複数のスリット30が、短スリット31と、短スリット31よりも高さ方向に長い長スリット32とを含む。1以上の短スリット31と1つの長スリット32とが、1組のモジュール30Mを構成する。複数組のモジュール30Mが、周壁14に並べられており、モジュール30Mの各々において、短スリット31の下端が、長スリット32の下端よりも上に位置する。
【選択図】図5
特許請求の範囲
【請求項1】
底壁、前記底壁から立設された周壁、並びに前記底壁及び前記周壁の内面によって画定される内部空間を有するケーシングと、
前記周壁を貫通し、互いに間隔をあけて並べられる複数のスリットと、
を備え、
前記複数のスリットが、短スリットと、前記短スリットよりも高さ方向に長い長スリットと、を含み、1以上の前記短スリットと1以上の前記長スリットとが、前記周壁に交互に並べられており、
前記短スリットの下端が、前記長スリットの下端よりも上に位置する、
電磁調理器。
続きを表示(約 510 文字)
【請求項2】
1以上の前記短スリットと、1つの前記長スリットとが、前記周壁に交互に並べられている、
請求項1に記載の電磁調理器。
【請求項3】
前記底壁に、前記周壁の内面と対向する堤防部が立設され、
前記内部空間が、前記堤防部と前記周壁との間のバッファ空間と、前記堤防部に対して前記周壁とは反対側の電装品収容空間とを含む、
請求項1に記載の電磁調理器。
【請求項4】
前記長スリットが、前記周壁の下端から前記堤防部に向かって前記底壁に延長された延長部を含み、前記延長部は、前記バッファ空間において終端する、
請求項3に記載の電磁調理器。
【請求項5】
前記底壁には、隣り合う前記延長部の間に貫通口が設けられている、
請求項4に記載の電磁調理器。
【請求項6】
前記内部空間に配置された空冷用のファンを更に備え、
前記スリットが、空冷用のエアを前記内部空間へと流入させる吸気口、又は空冷用のエアを前記内部空間から流出させる排気口である、
請求項1から5のいずれか1項に記載の電磁調理器。
発明の詳細な説明
【技術分野】
【0001】
本発明は、電磁調理器に関する。
続きを表示(約 1,100 文字)
【背景技術】
【0002】
特許文献1は、本体の内部にファンを有する卓上型の電磁調理器を開示している。ファンからの風を本体の外に排出するため、本体の側壁には、多数のスリットが並べられている。スリットからの排気温度を均等化するため、ファンと対向する領域においてのみ、スリットを高さ方向に短くし、排気抵抗を局所的に高めている。当該領域の両外側では、スリットの長さが一様であり且つ相対的に長い。
【先行技術文献】
【特許文献】
【0003】
特開2008-53071号公報
【発明の概要】
【発明が解決しようとする課題】
【0004】
側壁に設けられたスリットの開口面積が大きいと、冷却効率が向上すると考えられる。一方、利用者が飲料や調味料等の液体を電磁調理器が載置されたテーブル上に不意にこぼした場合には、その液体がスリットを介して本体の内部に深く進入しやすくなるとも考えられる。
【0005】
本発明は、冷却効率の向上と、液体の進入防止との両立を課題とする。
【課題を解決するための手段】
【0006】
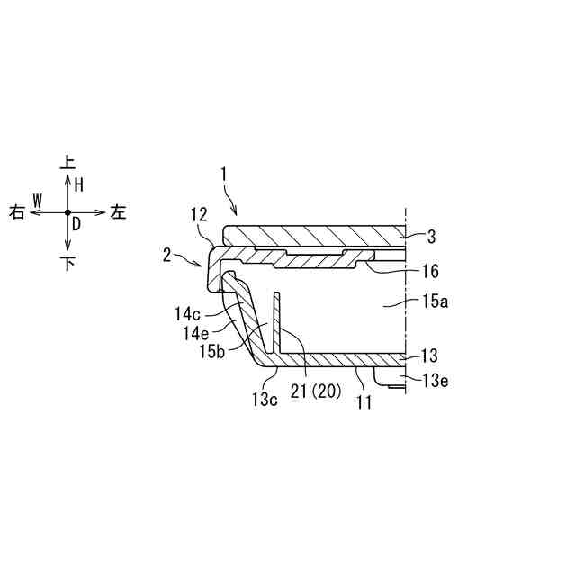
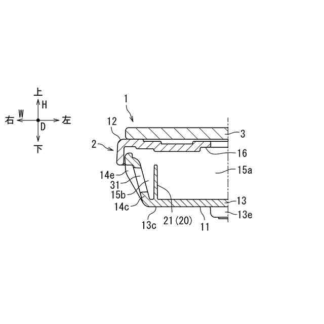
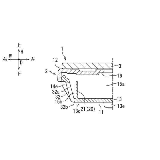
本発明の一態様は、底壁、前記底壁から立設された周壁、並びに前記底壁及び前記周壁の内面によって画定される内部空間を有するケーシングと、前記周壁を貫通し、互いに間隔をあけて並べられる複数のスリットと、を備え、前記複数のスリットが、短スリットと、前記短スリットよりも高さ方向に長い長スリットと、を含み、1以上の前記短スリットと1以上の前記長スリットとが、前記周壁に交互に並べられており、前記短スリットの下端が、前記長スリットの下端よりも上に位置する、電磁調理器を提供する。
【0007】
上記構成によれば、1以上の長スリットと、1以上の短スリットとが、ケーシングの周壁に互い違いに並べられる。これにより、気流に対する抵抗を周壁の延在方向においてほぼ均等に下げることができ、また、液体の進入に対する抵抗をほぼ均等に上げることができる。よって、冷却効率の向上と、液体の進入防止とを両立しやすい。
【0008】
1以上の前記短スリットと、1つの前記長スリットとが、前記周壁に交互に並べられていてもよい。
【0009】
上記構成によれば、長スリットの個数を減らしつつ長スリットの配置密度を周壁の延在方向において均等化できる。よって、液体の進入を満遍なく抑制できる。
【0010】
前記底壁に、前記周壁の内面と対向する堤防部が立設されており、前記内部空間が、前記堤防部と前記周壁との間のバッファ空間と、前記堤防部に対して前記周壁とは反対側の電装品収容空間とを含んでもよい。
(【0011】以降は省略されています)
この特許をJ-PlatPat(特許庁公式サイト)で参照する
関連特許
象印マホービン株式会社
電磁調理器
5日前
個人
電子部品の実装方法
2か月前
個人
電気式バーナー
1か月前
日本精機株式会社
回路基板
3か月前
愛知電機株式会社
装柱金具
2か月前
日星電気株式会社
面状ヒータ
24日前
アイホン株式会社
電気機器
2か月前
キヤノン株式会社
電子機器
2か月前
日本放送協会
基板固定装置
2か月前
イビデン株式会社
配線基板
2か月前
個人
静電気中和除去装置
1か月前
東レ株式会社
霧化状活性液体供給装置
3か月前
サクサ株式会社
開き角度規制構造
1か月前
サクサ株式会社
筐体の壁掛け構造
3か月前
イビデン株式会社
配線基板
3か月前
イビデン株式会社
プリント配線板
2か月前
株式会社デンソー
電子装置
2か月前
シャープ株式会社
加熱機器
1か月前
株式会社デンソー
電子装置
10日前
株式会社レクザム
剥離装置
2か月前
FDK株式会社
基板
2か月前
株式会社デンソー
電子装置
1か月前
オムロン株式会社
端子折り曲げ治具
2か月前
日産自動車株式会社
電子部品
2か月前
富士フイルム株式会社
積層体
2か月前
新電元工業株式会社
電子装置
2か月前
日本精機株式会社
車両表示装置用回路基板
3日前
株式会社レゾナック
冷却装置
2か月前
日産自動車株式会社
電子機器
18日前
TDK株式会社
接合構造
10日前
日本無線株式会社
電子機器用密閉構造
3か月前
豊田合成株式会社
制御ユニット
10日前
新光電気工業株式会社
配線基板
2か月前
日本特殊陶業株式会社
配線基板
3か月前
富士電子工業株式会社
誘導加熱コイル
2か月前
富士電子工業株式会社
誘導加熱コイル
2か月前
続きを見る
他の特許を見る