TOP
|
特許
|
意匠
|
商標
特許ウォッチ
Twitter
他の特許を見る
10個以上の画像は省略されています。
公開番号
2025170820
公報種別
公開特許公報(A)
公開日
2025-11-20
出願番号
2024075575
出願日
2024-05-08
発明の名称
インフレータブル構造体
出願人
株式会社SUBARU
代理人
個人
,
個人
主分類
B64C
3/30 20060101AFI20251113BHJP(航空機;飛行;宇宙工学)
要約
【課題】膨縮可能であり、かつ膨張時に所要の剛性を有するインフレータブル構造体を提供する。
【解決手段】インフレータブル構造体は、膨縮可能な袋体と、袋体の内部に配置され、テレスコープ状に伸縮する支柱と、を備える。
【選択図】図2
特許請求の範囲
【請求項1】
膨縮可能な袋体と、
前記袋体の内部に配置され、テレスコープ状に伸縮する支柱と、
を備えるインフレータブル構造体。
続きを表示(約 540 文字)
【請求項2】
前記袋体の内部に配置され、前記支柱の延在方向と交差する方向に沿って張架された張線を備える、
請求項1に記載のインフレータブル構造体。
【請求項3】
前記張線を自動巻取り可能なリールを備える、
請求項2に記載のインフレータブル構造体。
【請求項4】
前記延在方向に沿って当該インフレータブル構造体の一方側から他方側に向かって張架された2本の前記張線を備え、
前記2本の張線は、
前記延在方向と直交する第1方向から見ると、当該2本の張線の双方が、前記延在方向及び前記第1方向のいずれとも直交する第2方向における当該インフレータブル構造体の一方から他方に向かって延在しており、
前記第2方向から見ると、前記一方側から前記他方側に向かって当該2本の張線の互いの距離が離間しており、
前記一方側の端部を前記第1方向に移動可能に構成される、
請求項2に記載のインフレータブル構造体。
【請求項5】
前記支柱は、空気の注入により伸長し、
前記袋体は、前記支柱を伸長させた後に当該支柱から漏出した空気により膨張する、
請求項1に記載のインフレータブル構造体。
発明の詳細な説明
【技術分野】
【0001】
本発明は、膨縮可能なインフレータブル構造体に関する。
続きを表示(約 1,600 文字)
【背景技術】
【0002】
特許文献1には、膨縮可能なバルーンを備える飛行体(無人航空機)が記載されている。バルーンは、膨張させて浮力体として利用でき、非使用時には収縮させてコンパクトに折り畳める。
しかし、特許文献1に記載の飛行体は小型のマルチコプターであり、運搬が容易な反面、長時間の運用が難しく、ペイロードも小さい。
【先行技術文献】
【特許文献】
【0003】
特許第6566375号公報
【発明の概要】
【発明が解決しようとする課題】
【0004】
より大型の固定翼機において、コンパクトに収納できて運搬が容易な構成を実現できると、有用である。
しかしながら、固定翼機では、主翼部等の構造部を、所要の剛性を保持させつつ膨縮可能に構成することが難しい。
本発明は、上記事情に鑑みてなされたもので、膨縮可能であり、かつ膨張時に所要の剛性を有するインフレータブル構造体を提供することを目的とする。
【課題を解決するための手段】
【0005】
上記目的を達成するために、本発明の一実施の形態は、インフレータブル構造体であって、
膨縮可能な袋体と、
前記袋体の内部に配置され、テレスコープ状に伸縮する支柱と、
を備える。
【発明の効果】
【0006】
本発明によれば、テレスコープ状の支柱を短縮させ、かつ袋体を収縮させた収縮状態と、支柱を伸長させ、かつ袋体を膨張させた膨張状態と、を取ることができる。したがって、収縮状態と膨張状態とに膨縮可能であり、かつ膨張状態には支柱により所要の剛性を確保できる。
【図面の簡単な説明】
【0007】
実施形態に係る無人航空機を示す図である。
実施形態に係る主翼の構造を説明するための図である。
収縮状態の主翼を示す図である。
翼桁を伸長させた膨張状態の主翼を示す図である。
主翼内部に張架されるワイヤを示す図であって、主翼の斜視図である。
主翼内部に張架されるワイヤを示す図であって、図4のX矢視図である。
主翼内部に張架されるワイヤを示す図であって、図4のY矢視図である。
ワイヤの張力を調整する張力調整部を示す図である。
ワイヤにより捻じり変形する主翼を示す図である。
張力調整部のサーボモータを両主翼に共通する1基だけ配置する例を示す図である。
張力調整部のサーボモータを両主翼に個別に配置する例を示す図である。
【発明を実施するための形態】
【0008】
以下、本発明の実施形態について、図面を参照して説明する。
【0009】
[無人航空機の構成]
図1は、本実施形態に係る無人航空機1を示す図である。
この図に示すように、無人航空機1は、小さく縮んだ収縮状態(第1状態)と、空気を入れて膨張した膨張状態(第2状態)とを取り得るように構成されている。
具体的に、無人航空機1は、胴体2、両主翼3及び尾翼4を備える固定翼機である。本実施形態の無人航空機1では、専ら両主翼3が空気により膨縮する。
【0010】
[主翼の構造]
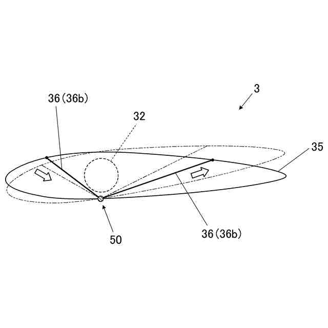
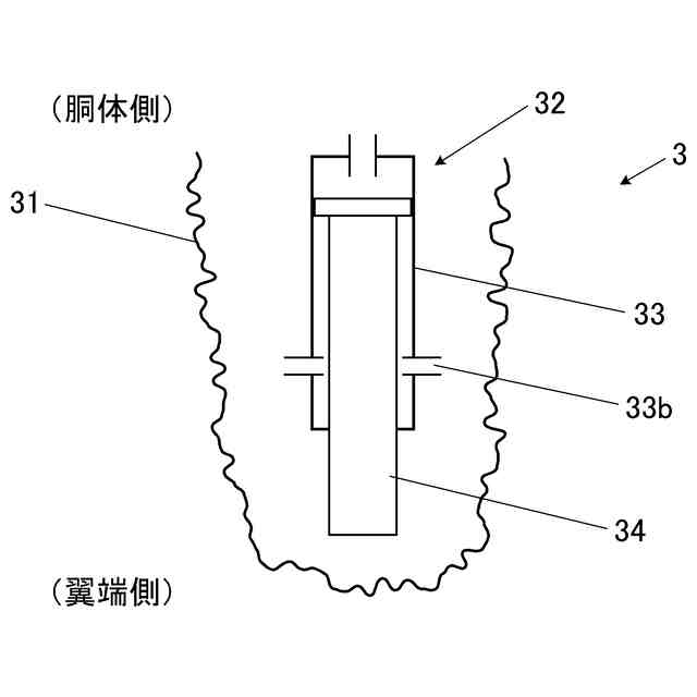
図2は、主翼3の構造を説明するための図である。なお、図2では、舵面39を備える主翼3を例示したが、主翼3は舵面39を備えていなくともよい。
主翼3は、本発明に係るインフレータブル構造体の一例であり、空気の注入及び放出により膨縮する。本実施形態の無人航空機1では、両主翼3が胴体2と一体的に膨縮する。
具体的には、図2に示すように、主翼3は、外皮部材である袋体31と、袋体31を支持する翼桁32及び複数のリブ35を備える。
(【0011】以降は省略されています)
この特許をJ-PlatPat(特許庁公式サイト)で参照する
関連特許
株式会社SUBARU
車両
1か月前
株式会社SUBARU
車両
1か月前
株式会社SUBARU
車両
1か月前
株式会社SUBARU
車両
1か月前
株式会社SUBARU
車両
27日前
株式会社SUBARU
車両用シート
6日前
株式会社SUBARU
車両前部構造
21日前
株式会社SUBARU
車体後部構造
1か月前
株式会社SUBARU
車体前部構造
1か月前
株式会社SUBARU
車両用シート
6日前
株式会社SUBARU
車体前部構造
1か月前
株式会社SUBARU
車体前部構造
1か月前
株式会社SUBARU
整流システム
1か月前
株式会社SUBARU
運転支援装置
27日前
株式会社SUBARU
車両前部構造
21日前
株式会社SUBARU
車体前部構造
1か月前
株式会社SUBARU
車両前部構造
21日前
株式会社SUBARU
車両用シート
6日前
株式会社SUBARU
車体前部構造
20日前
株式会社SUBARU
車体前部構造
20日前
株式会社SUBARU
操作システム
19日前
株式会社SUBARU
車両前部構造
21日前
株式会社SUBARU
サイドドア構造
1か月前
株式会社SUBARU
サイドドア構造
1か月前
株式会社SUBARU
シフト制御装置
6日前
株式会社SUBARU
電動式全輪駆動車
1か月前
株式会社SUBARU
事故情報収集装置
1か月前
株式会社SUBARU
車両用電池パック
6日前
株式会社SUBARU
姿勢推定システム
1か月前
株式会社SUBARU
車両衝突軽減装置
1か月前
株式会社SUBARU
エンジン制御装置
19日前
株式会社SUBARU
車両の降車補助装置
1か月前
株式会社SUBARU
ドアロック制御装置
20日前
株式会社SUBARU
車両用周辺監視装置
1か月前
株式会社SUBARU
車室内異常検知装置
1か月前
株式会社SUBARU
電波吸収体の製造方法
12日前
続きを見る
他の特許を見る