TOP
|
特許
|
意匠
|
商標
特許ウォッチ
Twitter
他の特許を見る
公開番号
2025166755
公報種別
公開特許公報(A)
公開日
2025-11-06
出願番号
2024070977
出願日
2024-04-24
発明の名称
車体前部構造
出願人
株式会社SUBARU
代理人
個人
主分類
B62D
25/08 20060101AFI20251029BHJP(鉄道以外の路面車両)
要約
【課題】フロントトランクの利便性を向上するとともに、車両前側からの衝突が発生した場合に車両装置への干渉を低減させる。
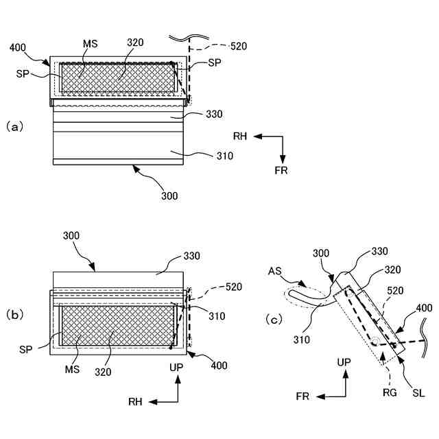
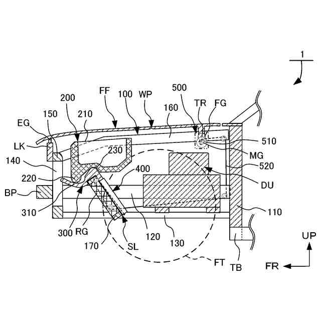
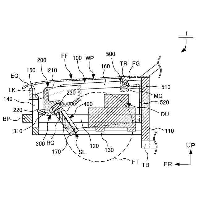
【解決手段】キャビンの車両前側に車幅方向を向いた開閉軸TRが設けられているフロントフード部FFと、フロントエンドクロスメンバ150と、車両下部後側から車両上部前側に向かう傾斜SLを成したラジエターユニット部RGと、ラジエターユニット部RGの車両上側に設けられている円弧形状を有するファンネル部310と導風ガイド摺動部320とが設けられている導風ガイド部300と、ラジエターユニット部RGの車両後側に固定されているスライド部400と、導風ガイド部300に載置され、車両下部前側にファンネル部310と係合するトランクユニット突出部220を有するフロントトランク部200と、導風ガイド摺動部320をフロントフード部FFに連結させるフロントフード連結部500と、を備えている。
【選択図】図2
特許請求の範囲
【請求項1】
車両におけるキャビンの車両前側に車幅方向を向いた開閉軸が設けられているフロントフード部と、
車両上部前側において車幅方向に向かって延在しているフロントエンドクロスメンバと、
車両前側に設けられ、車両下部後側から車両上部前側に向かう傾斜を成したラジエターユニット部と、
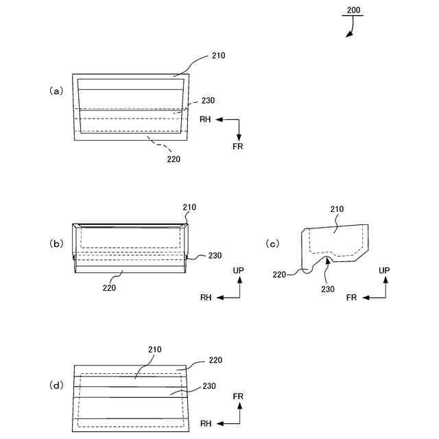
前記ラジエターユニット部の車両上側に設けられ、車両下部後側から車両上部前側に向かう円弧形状を有するファンネル部と前記ラジエターユニット部の車両後側を摺動する導風ガイド摺動部とが設けられている導風ガイド部と、
前記ラジエターユニット部の車両後側に固定され、前記導風ガイド摺動部を摺動可能に収納しているスライド部と、
前記フロントエンドクロスメンバの車両後側において前記導風ガイド部に載置され、車両下部前側に前記ファンネル部と摺動可能に係合する突出部を有するフロントトランク部と、
前記導風ガイド摺動部を前記フロントフード部に連結させるフロントフード連結部と、
を備えていることを特徴とする車体前部構造。
発明の詳細な説明
【技術分野】
【0001】
本発明は、車体前部構造に関する。
続きを表示(約 1,500 文字)
【背景技術】
【0002】
近年、電気自動車の普及が進み、前輪を駆動するパワーユニットの小型化にともなって、車両前部におけるフロントフードの下方側にフロントトランクが装着されている場合がある。
【0003】
フロントトランクは、車両前側において、バンパーあるいは空気取り入れ口あるいは冷却装置の車両後側に配設される。このとき、フロントトランクは、車両前端部から奥まった位置に配設されている。そのため、ユーザがフロントトランクにおいて荷物の出し入れを行うときには、フロントバンパーフェイスに体の一部が接触し、フロントトランクの底部に置かれた荷物の出し入れが困難になる場合がある。
【0004】
上記に記載の課題に対応する技術として、トランクルームの開口寸法を確保するためにトランクフロア高さまで開くトランクリッドが設置された車両において、トランクフロアおよびトランクサイドインナパネルのガイド溝にコロをもってガイド摺動されるスライド式移動フロアと、該スライド式移動フロアの摺動をトランクリッドの開閉に連動させるワイヤとで構成されるトランクルームのスライド式二重フロアに関する技術が開示されている(例えば、特許文献1参照)。
【0005】
また、電気自動車において車両前側からの衝突が発生した場合には、車体前部構造において衝撃を吸収させることによって、前輪を駆動するパワーユニットあるいはインバータ等の高電圧装置への影響を低減させる必要がある。
【0006】
上記に記載の課題に対応する技術として、エンジンフード(フロントフード)のエンジンフードインナパネルには、第1脆弱部と第2脆弱部とが車幅方向に沿って形成されている。第1脆弱部はエンジンフードの前後長を略三等分した車両前側の分割部に設けられており、車両上方へ向けて凸形状とされている。第2脆弱部はエンジンフードの前後長を略三等分した車両後側の分割部に設けられており、車両上方へ向けて凸形状とされている。第1脆弱部、第2脆弱部の車幅方向から見た断面形状は、開口部を下方へ向けた半円状とされており、第1脆弱部の深さが第2脆弱部の深さより浅くなっている技術が開示されている(例えば、特許文献2参照)。
【先行技術文献】
【特許文献】
【0007】
実開平2-113536号公報
特開平9-226629号公報
【発明の概要】
【発明が解決しようとする課題】
【0008】
特許文献1に記載の技術においては、トランクフードを開くときにトランクを車両前後方向に向かって移動させている。
しかしながら、特許文献1に記載の技術においては、トランクフードを開くときに、トランクにおける車両上下方向に向かう移動に関する考慮がされていないため、トランクの底部に置かれた荷物の出し入れが困難になる虞があるという課題があった。
【0009】
また、特許文献2に記載の技術においては、車両前側から衝突が発生したときに、第1脆弱部と第2脆弱部とを起点にして車両用エンジンフード(車両用フロントフード)が折れ曲がることによって、最大変形時の車両用フロントフードの前後長を短くしている。
【0010】
しかしながら、特許文献2に記載の技術においては、例えば、電気自動車における車両用フロントフードの車両下側にフロントトランクが設けられた場合には、車両前側からの衝突が発生したときのフロントトランクの挙動に関する考慮がされていないことによって、フロントトランクが高電圧装置に干渉してしまう虞があるという課題があった。
(【0011】以降は省略されています)
この特許をJ-PlatPat(特許庁公式サイト)で参照する
関連特許
株式会社SUBARU
車両
1か月前
株式会社SUBARU
車両
1か月前
株式会社SUBARU
車両
1日前
株式会社SUBARU
車両
2日前
株式会社SUBARU
車両
1日前
株式会社SUBARU
車両用シート
9日前
株式会社SUBARU
車体前部構造
23日前
株式会社SUBARU
車体前部構造
23日前
株式会社SUBARU
車両前部構造
24日前
株式会社SUBARU
車両前部構造
24日前
株式会社SUBARU
整流システム
1か月前
株式会社SUBARU
車両前部構造
24日前
株式会社SUBARU
車両用シート
9日前
株式会社SUBARU
操舵支援装置
2日前
株式会社SUBARU
車両用シート
9日前
株式会社SUBARU
車両前部構造
24日前
株式会社SUBARU
車体前部構造
1か月前
株式会社SUBARU
車体前部構造
1か月前
株式会社SUBARU
加湿システム
1日前
株式会社SUBARU
運転支援装置
1か月前
株式会社SUBARU
排気浄化装置
1日前
株式会社SUBARU
車体前部構造
1か月前
株式会社SUBARU
操作システム
22日前
株式会社SUBARU
シフト制御装置
9日前
株式会社SUBARU
車両用電池パック
9日前
株式会社SUBARU
エンジン制御装置
22日前
株式会社SUBARU
電動式全輪駆動車
1か月前
株式会社SUBARU
車両用周辺監視装置
1か月前
株式会社SUBARU
ドアロック制御装置
23日前
株式会社SUBARU
車両用空力制御装置
2日前
株式会社SUBARU
車両の降車補助装置
1か月前
株式会社SUBARU
ドアロックシステム
1日前
株式会社SUBARU
電波吸収体の製造方法
15日前
株式会社SUBARU
電極チップ導入用治具
1日前
株式会社SUBARU
車両用エアバッグ装置
1日前
株式会社SUBARU
車両の車高自動調整装置
1か月前
続きを見る
他の特許を見る