TOP
|
特許
|
意匠
|
商標
特許ウォッチ
Twitter
他の特許を見る
公開番号
2025166465
公報種別
公開特許公報(A)
公開日
2025-11-06
出願番号
2024070536
出願日
2024-04-24
発明の名称
ドアロック制御装置
出願人
株式会社SUBARU
代理人
弁理士法人エビス国際特許事務所
主分類
E05B
49/00 20060101AFI20251029BHJP(錠;鍵;窓または戸の付属品;金庫)
要約
【課題】乗車意思のあるユーザと乗車意思のないユーザとを判別し、不要な解錠をできる限り防止することにより消費電力を抑制する。
【解決手段】車両のドアに設けられるドアロック機構の施錠又は解錠を制御するドアロック制御装置であって、携帯機器との間で相互に通信を行う通信部と、通信部を介して携帯機器から受信した信号に基づいて、ドアロック機構を制御する制御部と、を備え、制御部は、車両から第2距離以上第1距離未満に設定される第1領域に携帯機器が進入したことを検知した場合に、携帯機器と車両との認証を行い、車両から第2距離未満に設定される第2領域に携帯機器が進入したことを検知した場合に、携帯機器の第1領域への進入から第2領域への進入までにおける携帯機器の第1領域での移動量又は移動時間が所定の閾値以上である場合には、認証が成立した場合であっても、ドアロック機構の解錠を許可しない、ドアロック制御装置を提供する。
【選択図】図1
特許請求の範囲
【請求項1】
自車両のドアに設けられるドアロック機構の施錠又は解錠を制御するドアロック制御装置であって、
携帯機器との間で相互に通信を行う通信部と、
前記通信部を介して前記携帯機器から受信した信号に基づいて、前記ドアロック機構を制御する制御部と、を備え、
前記制御部は、
前記自車両から所定の距離である第1距離と、第1距離よりも短い第2距離とを設定し、第2距離以上第1距離未満に設定される第1領域に前記携帯機器が進入したことを検知した場合に、前記携帯機器と前記自車両との認証を行い、
前記自車両から第2距離未満に設定される第2領域に前記携帯機器が進入したことを検知した場合に、前記携帯機器の前記第1領域への進入から前記第2領域への進入までにおける前記携帯機器の前記第1領域での移動量又は移動時間が所定の閾値以上である場合には、前記認証が成立した場合であっても、前記ドアロック機構の解錠を許可しない、ドアロック制御装置。
続きを表示(約 170 文字)
【請求項2】
前記携帯機器が前記第2領域に進入したことを検知し、かつ、前記認証が成立した場合に、
前記携帯機器の前記第1領域への進入から前記第2領域への進入までにおける前記携帯機器の前記第1領域での移動量又は移動時間が所定の閾値未満である場合に、前記ドアロック機構の解錠を許可する、請求項1記載のドアロック制御装置。
発明の詳細な説明
【技術分野】
【0001】
本発明は、ドアロック制御装置に関し、特に、車両と携帯機器との間で相互に通信を行うことによりドアロック機構の施錠又は解錠を制御するドアロック制御装置に関する。
続きを表示(約 2,000 文字)
【背景技術】
【0002】
近年、携帯機器(例えば、電子キー、デジタルキーとして利用可能な小型通信機器)と車両との間で無線通信を行い、携帯機器が車両から所定距離範囲に接近したことを検知して、車両のドアロックを解錠する技術が種々提案されている。
このような技術の例として、特許文献1には、携帯機がLF通信エリアに位置する場合に、車載機から送信されたチャレンジ信号を受信し、携帯機が一定時間以上にわたって静止状態である場合に車載機にレスポンス信号を送信する。この信号の送受信により、車載機において携帯機の認証が成立するとドアを解錠するキーレスシステムが開示されている。
また、特許文献2には、車両の異なる位置に設けられた複数のアンテナを備えた車載機と携帯機との間で通信を行い、携帯機がいずれかのアンテナに向かっており、且つ、車両と携帯機との距離が所定の閾値以下である場合にドアを解錠する電子キー装置が開示されている。
【先行技術文献】
【特許文献】
【0003】
特開2017-210800号公報
特開2016-014259号公報
【発明の概要】
【発明が解決しようとする課題】
【0004】
ところで、ドアロック機構では、アクチュエータを駆動させることで施錠及び解錠が行われるため、意図しない不要な解錠が繰り返し行われると消費電力が増大する虞がある。
従って、不要な解錠をできる限り防止することにより消費電力を抑制することが望まれている。
【0005】
本発明は、このような状況に対処することを課題としている。すなわち、乗車意思のあるユーザと乗車意思のないユーザとを判別し、不要な解錠をできる限り防止することにより消費電力を抑制すること等を課題としている。
【課題を解決するための手段】
【0006】
このような課題を解決するために、本発明に係るドアロック制御装置は、以下の構成を具備する。
すなわち、本発明の一態様は、自車両のドアに設けられるドアロック機構の施錠又は解錠を制御するドアロック制御装置であって、携帯機器との間で相互に通信を行う通信部と、前記通信部を介して前記携帯機器から受信した信号に基づいて、前記ドアロック機構を制御する制御部と、を備え、前記制御部は、前記自車両から所定の距離である第1距離と、第1距離よりも短い第2距離とを設定し、第2距離以上第1距離未満に設定される第1領域に前記携帯機器が進入したことを検知した場合に、前記携帯機器と前記自車両との認証を行い、前記自車両から第2距離未満に設定される第2領域に前記携帯機器が進入したことを検知した場合に、前記携帯機器の前記第1領域への進入から前記第2領域への進入までにおける前記携帯機器の前記第1領域での移動量又は移動時間が所定の閾値以上である場合には、前記認証が成立した場合であっても、前記ドアロック機構の解錠を許可しない、ドアロック制御装置を提供する。
【発明の効果】
【0007】
このような特徴を有するドアロック制御装置よれば、乗車意思のあるユーザと乗車意思のないユーザとを判別し、不要な解錠をできる限り防止することにより消費電力を抑制することができる。
【図面の簡単な説明】
【0008】
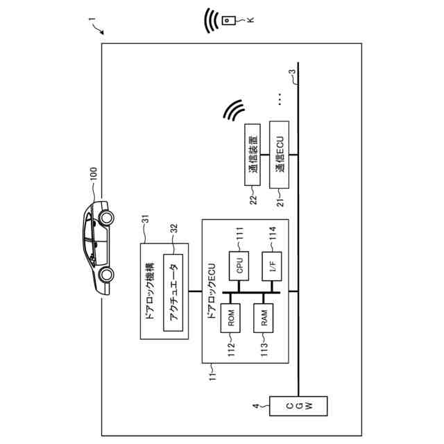
本発明の実施形態に係るドアロック制御装置(ドアロックECU)を含む車両用制御システムの概略構成を示す説明図である。
車両の周囲に設定される領域と、当該領域における携帯機器を所持したユーザの挙動の例についての説明図である。
車両の周囲に設定される領域と、当該領域における携帯機器を所持したユーザの挙動の例についての説明図である。
本発明の実施形態に係るドアロック制御装置(ドアロックECU)におけるドアロック機構の制御の流れを示すフローチャートである。
【発明を実施するための形態】
【0009】
以下、図面を参照して本発明の実施形態を説明する。以下の説明において、異なる図における同一符号は同一機能の部位を示しており、各図における重複説明は適宜省略する。
【0010】
図1に示すように、本実施形態に係るドアロック制御装置(ドアロックECU11)は、車両100に搭載される車両用制御システム1の一部として機能する。車両用制御システム1は、車両100の走行状態や車内外の環境を示す各種情報を取得する複数のセンサと、車両100の走行に必要な種々の電子機器と、これらのセンサや電子機器を制御する複数のECU(Electronic Control Unit)とを備えている。
(【0011】以降は省略されています)
この特許をJ-PlatPat(特許庁公式サイト)で参照する
関連特許
株式会社SUBARU
車両
今日
株式会社SUBARU
車両
今日
株式会社SUBARU
車両
1日前
株式会社SUBARU
車両
29日前
株式会社SUBARU
車体前部構造
1か月前
株式会社SUBARU
車両用シート
8日前
株式会社SUBARU
車体前部構造
22日前
株式会社SUBARU
車体前部構造
22日前
株式会社SUBARU
車両前部構造
23日前
株式会社SUBARU
操作システム
21日前
株式会社SUBARU
車両前部構造
23日前
株式会社SUBARU
車両前部構造
23日前
株式会社SUBARU
運転支援装置
29日前
株式会社SUBARU
車両用シート
8日前
株式会社SUBARU
車両前部構造
23日前
株式会社SUBARU
車両用シート
8日前
株式会社SUBARU
操舵支援装置
1日前
株式会社SUBARU
整流システム
1か月前
株式会社SUBARU
加湿システム
今日
株式会社SUBARU
車体前部構造
1か月前
株式会社SUBARU
車体前部構造
1か月前
株式会社SUBARU
排気浄化装置
今日
株式会社SUBARU
シフト制御装置
8日前
株式会社SUBARU
車両用電池パック
8日前
株式会社SUBARU
エンジン制御装置
21日前
株式会社SUBARU
車両用空力制御装置
1日前
株式会社SUBARU
ドアロックシステム
今日
株式会社SUBARU
ドアロック制御装置
22日前
株式会社SUBARU
車両用エアバッグ装置
今日
株式会社SUBARU
電極チップ導入用治具
今日
株式会社SUBARU
電波吸収体の製造方法
14日前
株式会社SUBARU
インフレータブル構造体
8日前
株式会社SUBARU
カーテンエアバッグ装置
24日前
株式会社SUBARU
運転補助装置および車両
29日前
株式会社SUBARU
車両用高圧燃料配管構造
8日前
株式会社SUBARU
車両用高圧燃料配管装置
今日
続きを見る
他の特許を見る