TOP
|
特許
|
意匠
|
商標
特許ウォッチ
Twitter
他の特許を見る
公開番号
2025173373
公報種別
公開特許公報(A)
公開日
2025-11-27
出願番号
2024078930
出願日
2024-05-14
発明の名称
車両
出願人
株式会社SUBARU
代理人
個人
,
個人
,
個人
,
個人
主分類
B60R
22/24 20060101AFI20251119BHJP(車両一般)
要約
【課題】シートベルトが挿通する開口部を経由して騒音が車室側に進入することを抑制することができる車両を提供する。
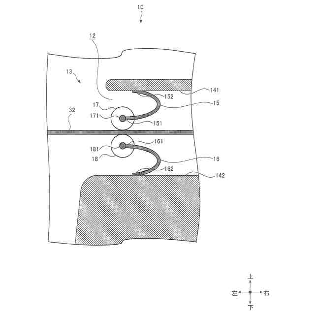
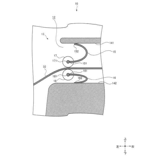
【解決手段】本発明では、第1ローラ17は、第1板バネ15の第1端部151側に設置される。第2ローラ18は、第2板バネ16の第2端部161側に設置される。第1板バネ15の第3端部152は、第1面141と接続する。第2板バネ16の第4端部162は、第2面142と接続する。第1ローラ17および第2ローラ18の回転軸は、略並行となるように配設される。第1板バネ15は、第1面141に接近または離間する方向に伸縮可能である。第2板バネ16は、第2面142に接近または離間する方向に伸縮可能である。第1ローラ17および第2ローラ18の間にシートベルト32を当接して配置する。
【選択図】図4
特許請求の範囲
【請求項1】
シートベルトと、シートと、を備えた車両であって、
前記シートの近傍には、前記シートベルトを引き出す開口部が配設され、
前記開口部の近傍には、第1面と、第2面と、第1板バネと、第2板バネと、第1ローラと、第2ローラと、が配設され、
前記第1ローラは、前記第1板バネの第1端部側に設置され、
前記第2ローラは、前記第2板バネの第2端部側に設置され、
前記第1板バネの第3端部は、前記第1面と接続し、
前記第2板バネの第4端部は、前記第2面と接続し、
前記第1ローラおよび前記第2ローラの回転軸は、略並行となるように配設され、
前記第1板バネは、前記第1面に接近または離間する方向に伸縮可能であり、
前記第2板バネは、前記第2面に接近または離間する方向に伸縮可能であり、
前記第1ローラおよび前記第2ローラの間に前記シートベルトを当接して配置することを特徴とする車両。
続きを表示(約 400 文字)
【請求項2】
前記開口部は、前記シートの近傍における車体の側に配設されることを特徴とする請求項1に記載の車両。
【請求項3】
前記シートは、リアシートであり、
前記開口部は、前記リアシートの近傍における車体の側に配設されることを特徴とする請求項1に記載の車両。
【請求項4】
前記第1板バネ、前記第2板バネ、前記第1ローラおよび前記第2ローラにより、前記開口部を塞ぐことを特徴とする請求項1に記載の車両。
【請求項5】
前記第1ローラおよび前記第2ローラが前記第1面の側に接近するように移動すれば、前記第1板バネは圧縮されると共に前記第2板バネは伸張され、
前記第1ローラおよび前記第2ローラが前記第2面の側に接近するように移動すれば、前記第1板バネは伸張されると共に前記第2板バネは圧縮されることを特徴とする請求項1に記載の車両。
発明の詳細な説明
【技術分野】
【0001】
本発明は、車体に形成された開口からシートベルトが引き出される車両に関する。
続きを表示(約 1,600 文字)
【背景技術】
【0002】
シートベルトは、自動車や航空機などの座席に付いているベルトであり、身体を座席に固定し、衝突事故などの際に身体が投げ出されることを防ぐベルト状の部材である。シートベルトは、乗員の身体の肩口から腰にかけて掛け渡され、上方側端部が車体側に固定され、下方側端部がシート側に固定される。
【0003】
また、シートベルト機構およびその周辺部において遮音機構が取り付けられることがある。係る事項は、例えば、特許文献1および特許文献2に記載されている。
【0004】
特許文献1では、シートベルトの巻取装置において、仕切り板の開口部と巻取装置本体との間隙を塞いで車室外の音を遮音する構成が記載されている。具体的には、リトラクタカバーに、上方向に延出されリトラクタ内から繰り出されるウエビングをガイドするガイド部が配設される。また、ガイド部に対して略直角に膨出形成されたフランジ部がそれぞれ形成されている。また、リトラクタカバーのフランジ部によって、仕切り板に形成された開口部とリトラクタのウエビング繰り出し部との間隙が確実に閉塞される。更に、フランジ部には中空状の収容部が形成されており、この収容部内には吸音材が必要に応じて装着可能とされる。
【0005】
特許文献2では、車外騒音の進入を抑制できる後部遮音構造が記載されている。具体的には、リトラクタ前側凹部、後側凹部と、前記車内側面との間に、リトラクタ前側凹部、後側凹部に沿ってシール材が延設される。これにより、リトラクタと、リトラクタ前側凹部、後側凹部と、シール材とにより、前記車内側面とリアピラートリムの間に形成された空間内に、該空間への騒音進入を抑制する遮蔽部を形成している。
【先行技術文献】
【特許文献】
【0006】
実開昭61-131354号公報
特開2014-043157号公報
【発明の概要】
【発明が解決しようとする課題】
【0007】
しかしながら、前述した各特許文献に記載された発明では、シートベルト周りの遮音性を向上させる観点から改善の余地があった。
【0008】
具体的には、シートベルトの一端側は、車体に形成された開口部に挿通される。よって、走向時に発生する騒音が、当該開口部を経由して車体側から車室内に進入する恐れがあった。これに関して、背景技術に係る発明は、シートベルト周りにおける遮音性を向上させるものではあるが、当該開口を経由して車室内に騒音が進入する所謂抜け音に対する対策ではなかった。
【0009】
本発明は、このような問題点を鑑みてなされたものであり、本発明の目的は、シートベルトが挿通する開口部を経由して騒音が車室側に進入することを抑制することができる車両を提供することにある。
【課題を解決するための手段】
【0010】
本発明の実施形態にかかる車両は、シートベルトと、シートと、を備えた車両であって、前記シートの近傍には、前記シートベルトを引き出す開口部が配設され、前記開口部の近傍には、第1面と、第2面と、第1板バネと、第2板バネと、第1ローラと、第2ローラと、が配設され、前記第1ローラは、前記第1板バネの第1端部側に設置され、前記第2ローラは、前記第2板バネの第2端部側に設置され、前記第1板バネの第3端部は、前記第1面と接続し、前記第2板バネの第4端部は、前記第2面と接続し、前記第1ローラおよび前記第2ローラの回転軸は、略並行となるように配設され、前記第1板バネは、前記第1面に接近または離間する方向に伸縮可能であり、前記第2板バネは、前記第2面に接近または離間する方向に伸縮可能であり、前記第1ローラおよび前記第2ローラの間に前記シートベルトを当接して配置することを特徴とする。
【発明の効果】
(【0011】以降は省略されています)
この特許をJ-PlatPat(特許庁公式サイト)で参照する
関連特許
株式会社SUBARU
車両
今日
株式会社SUBARU
車両
今日
株式会社SUBARU
車両
29日前
株式会社SUBARU
車両
1日前
株式会社SUBARU
車体前部構造
1か月前
株式会社SUBARU
車両用シート
8日前
株式会社SUBARU
車体前部構造
22日前
株式会社SUBARU
車両前部構造
23日前
株式会社SUBARU
操作システム
21日前
株式会社SUBARU
車両前部構造
23日前
株式会社SUBARU
車両前部構造
23日前
株式会社SUBARU
車両前部構造
23日前
株式会社SUBARU
車両用シート
8日前
株式会社SUBARU
車両用シート
8日前
株式会社SUBARU
操舵支援装置
1日前
株式会社SUBARU
運転支援装置
29日前
株式会社SUBARU
加湿システム
今日
株式会社SUBARU
整流システム
1か月前
株式会社SUBARU
車体前部構造
1か月前
株式会社SUBARU
排気浄化装置
今日
株式会社SUBARU
車体前部構造
22日前
株式会社SUBARU
シフト制御装置
8日前
株式会社SUBARU
車両用電池パック
8日前
株式会社SUBARU
エンジン制御装置
21日前
株式会社SUBARU
ドアロック制御装置
22日前
株式会社SUBARU
車両用空力制御装置
1日前
株式会社SUBARU
ドアロックシステム
今日
株式会社SUBARU
車両用エアバッグ装置
今日
株式会社SUBARU
電極チップ導入用治具
今日
株式会社SUBARU
電波吸収体の製造方法
14日前
株式会社SUBARU
インフレータブル構造体
8日前
株式会社SUBARU
車両用高圧燃料配管構造
8日前
株式会社SUBARU
カーテンエアバッグ装置
24日前
株式会社SUBARU
運転補助装置および車両
29日前
株式会社SUBARU
車両用高圧燃料配管装置
今日
株式会社SUBARU
フロントピラートリムの取付構造
14日前
続きを見る
他の特許を見る