TOP
|
特許
|
意匠
|
商標
特許ウォッチ
Twitter
他の特許を見る
公開番号
2025173918
公報種別
公開特許公報(A)
公開日
2025-11-28
出願番号
2024079789
出願日
2024-05-15
発明の名称
車両
出願人
株式会社SUBARU
代理人
弁理士法人青海国際特許事務所
主分類
F16H
61/02 20060101AFI20251120BHJP(機械要素または単位;機械または装置の効果的機能を生じ維持するための一般的手段)
要約
【課題】ドライバに快適なシフト操作を提供する。
【解決手段】車両は、シフトレバーの操作を受け付けるレンジ入力装置と、変速レンジを切り替えるシフトバイワイヤ制御装置とを備え、変速レンジには第1レンジと第2レンジとが含まれ、レンジ入力装置は第1レンジと第2レンジとに対応する第1レンジ領域と第2レンジ領域とを有し、シフトレバーが第1レンジ領域に移動される操作または第2レンジ領域に移動される操作を受け付けることがあり、シフトレバーが第1レンジ領域に操作されると、第2レンジ領域を経由する構造であり、シフトバイワイヤ制御装置は、シフトレバーの第2レンジ領域への滞在時間を計測し、滞在時間が第2レンジへの切り替えを決定する切替時間以上となった場合、変速レンジを第2レンジへ切り替え、その後、シフトレバーが第1レンジ領域に移動されると、第1レンジ領域に移動するまでの滞在時間に基づいて切替時間を補正する。
【選択図】図1
特許請求の範囲
【請求項1】
ドライバによるシフトレバーの操作を受け付けるレンジ入力装置と、
前記シフトレバーの操作に応じて変速機の変速レンジを切り替えるシフトバイワイヤ制御装置と、
を備える車両であって、
前記変速レンジには、第1レンジと、第2レンジとが含まれ、
前記レンジ入力装置は、
前記第1レンジに対応する第1レンジ領域と、前記第2レンジに対応する第2レンジ領域とを有し、
前記シフトレバーが前記第1レンジ領域に移動される操作または前記第2レンジ領域に移動される操作を受け付けることがあり、
前記シフトレバーが前記第1レンジ領域に操作される場合、前記第2レンジ領域を経由する構造になっており、
前記シフトバイワイヤ制御装置は、
前記シフトレバーが前記第2レンジ領域に滞在した滞在時間を計測し、
前記滞在時間が前記第2レンジへの切り替えを決定する切替時間以上となった場合、前記変速レンジを前記第2レンジへ切り替え、
前記変速レンジが前記第2レンジへ切り替わった後、前記シフトレバーが前記第1レンジ領域に移動されると、前記第1レンジ領域に移動するまでの前記滞在時間に基づいて前記切替時間を補正する、車両。
続きを表示(約 240 文字)
【請求項2】
前記シフトバイワイヤ制御装置は、前記切替時間を、前記第1レンジ領域に移動するまでの滞在時間と所定時間との和に補正する、請求項1に記載の車両。
【請求項3】
前記シフトバイワイヤ制御装置は、前記変速レンジが前記第2レンジへ切り替わった後、前記シフトレバーが前記第1レンジ領域に移動された回数が所定回数以上である場合、前記切替時間を、前記第1レンジ領域に移動するまでの滞在時間の平均値または最大値と所定時間との和に補正する、請求項1に記載の車両。
発明の詳細な説明
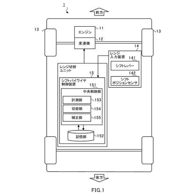
【技術分野】
【0001】
本発明は、シフトバイワイヤ方式の自動変速機を搭載する車両に関する。
続きを表示(約 2,000 文字)
【背景技術】
【0002】
シフトバイワイヤ方式の車両用自動変速機では、ドライバによるシフト操作に応じて、ソレノイド等のアクチュエータを用い、各変速レンジ(前進レンジ(Dレンジ)、後進レンジ(Rレンジ)、ニュートラルレンジ(Nレンジ)、パーキングレンジ(Pレンジ))を自動的に切り替える。
【0003】
ドライバによるシフト操作は、シフトレバーを各変速レンジに対応するレンジポジションのいずれかに移動させ、移動させたレンジポジションで保持することにより行われる。各レンジポジションには、シフトレバーが移動されたことを認識する認識時間が設けられ、移動されたレンジポジションでシフトレバーが認識時間以上保持されると、車両用自動変速機は当該レンジポジションに対応する変速レンジに切り替える(例えば、特許文献1)。レンジポジションは、Dレンジに対応するDレンジポジション、または、Rレンジに対応するRレンジポジションにシフトレバーを移動する際に、必ずNレンジに対応するNレンジポジションを通過するように配置される場合がある。
【先行技術文献】
【特許文献】
【0004】
特開2010-090925号公報
【発明の概要】
【発明が解決しようとする課題】
【0005】
上述したレンジポジションの場合、シフト操作が遅い傾向のドライバがシフトレバーをDレンジポジションまたはRレンジポジションに移動させる際にNレンジポジションの通過に認識時間以上かかってしまい、車両用自動変速機が、DレンジまたはRレンジに切り替える前に一旦Nレンジに切り替えてしまう場合がある。その結果、DレンジまたはRレンジへの切り替えに時間を要し、ドライバに不快感を与えるおそれがある。
【0006】
そこで、本発明は、ドライバに快適なシフト操作を提供することが可能な車両を提供することを目的とする。
【課題を解決するための手段】
【0007】
上記課題を解決するために、本発明の一実施形態に係る車両は、
ドライバによるシフトレバーの操作を受け付けるレンジ入力装置と、
前記シフトレバーの操作に応じて変速機の変速レンジを切り替えるシフトバイワイヤ制御装置と、
を備える車両であって、
前記変速レンジには、第1レンジと、第2レンジとが含まれ、
前記レンジ入力装置は、
前記第1レンジに対応する第1レンジ領域と、前記第2レンジに対応する第2レンジ領域とを有し、
前記シフトレバーが前記第1レンジ領域に移動される操作または前記第2レンジ領域に移動される操作を受け付けることがあり、
前記シフトレバーが前記第1レンジ領域に操作される場合、前記第2レンジ領域を経由する構造になっており、
前記シフトバイワイヤ制御装置は、
前記シフトレバーが前記第2レンジ領域に滞在した滞在時間を計測し、
前記滞在時間が前記第2レンジへの切り替えを決定する切替時間以上となった場合、前記変速レンジを前記第2レンジへ切り替え、
前記変速レンジが前記第2レンジへ切り替わった後、前記シフトレバーが前記第1レンジ領域に移動されると、前記第1レンジ領域に移動するまでの前記滞在時間に基づいて前記切替時間を補正する。
【発明の効果】
【0008】
本発明によれば、全てのドライバに対して快適なシフトレンジ切り替え操作を提供することが可能となる。
【図面の簡単な説明】
【0009】
車両の概略構成を示す模式図である。
図1に示すレンジ入力装置のレンジポジションの一例を示す模式図である。
車両における切替時間の補正を説明するための説明図である。
車両における切替時間の補正処理を示すフローチャートである。
車両における切替時間の補正処理を説明するための説明図である。
車両における切替時間の補正処理を示すフローチャートである。
【発明を実施するための形態】
【0010】
以下に添付図面を参照しながら、本発明の実施形態について詳細に説明する。かかる実施形態に示す具体的な寸法、材料、数値等は、発明の理解を容易にするための例示に過ぎず、特に断る場合を除き、本発明を確定するものではない。また、各図面において図示される構成部材同士の相対的な大きさは、必ずしも実際の構成部材同士の大小関係を正確に表現するものではない。なお、本明細書および図面において、実質的に同一の機能、構成を有する要素については、同一の符号を付することにより重複説明を省略し、また本発明に直接関係のない要素は図示を省略する。
(【0011】以降は省略されています)
この特許をJ-PlatPat(特許庁公式サイト)で参照する
関連特許
株式会社SUBARU
車両
今日
株式会社SUBARU
車両
今日
株式会社SUBARU
車両
29日前
株式会社SUBARU
車両
1日前
株式会社SUBARU
車体前部構造
1か月前
株式会社SUBARU
車両用シート
8日前
株式会社SUBARU
車体前部構造
22日前
株式会社SUBARU
車両前部構造
23日前
株式会社SUBARU
操作システム
21日前
株式会社SUBARU
車両前部構造
23日前
株式会社SUBARU
車両前部構造
23日前
株式会社SUBARU
車両前部構造
23日前
株式会社SUBARU
車両用シート
8日前
株式会社SUBARU
車両用シート
8日前
株式会社SUBARU
操舵支援装置
1日前
株式会社SUBARU
運転支援装置
29日前
株式会社SUBARU
加湿システム
今日
株式会社SUBARU
整流システム
1か月前
株式会社SUBARU
車体前部構造
1か月前
株式会社SUBARU
排気浄化装置
今日
株式会社SUBARU
車体前部構造
22日前
株式会社SUBARU
シフト制御装置
8日前
株式会社SUBARU
車両用電池パック
8日前
株式会社SUBARU
エンジン制御装置
21日前
株式会社SUBARU
ドアロック制御装置
22日前
株式会社SUBARU
車両用空力制御装置
1日前
株式会社SUBARU
ドアロックシステム
今日
株式会社SUBARU
車両用エアバッグ装置
今日
株式会社SUBARU
電極チップ導入用治具
今日
株式会社SUBARU
電波吸収体の製造方法
14日前
株式会社SUBARU
インフレータブル構造体
8日前
株式会社SUBARU
車両用高圧燃料配管構造
8日前
株式会社SUBARU
カーテンエアバッグ装置
24日前
株式会社SUBARU
運転補助装置および車両
29日前
株式会社SUBARU
車両用高圧燃料配管装置
今日
株式会社SUBARU
フロントピラートリムの取付構造
14日前
続きを見る
他の特許を見る